TOP
|
特許
|
意匠
|
商標
特許ウォッチ
Twitter
他の特許を見る
公開番号
2025178447
公報種別
公開特許公報(A)
公開日
2025-12-05
出願番号
2025165445,2024135274
出願日
2025-10-01,2022-06-10
発明の名称
配管支持部材
出願人
因幡電機産業株式会社
代理人
弁理士法人R&C
主分類
F16L
3/08 20060101AFI20251128BHJP(機械要素または単位;機械または装置の効果的機能を生じ維持するための一般的手段)
要約
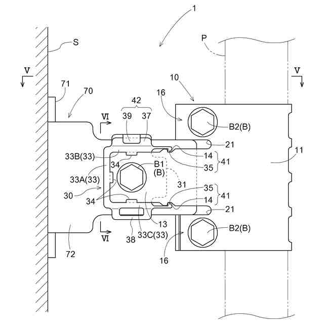
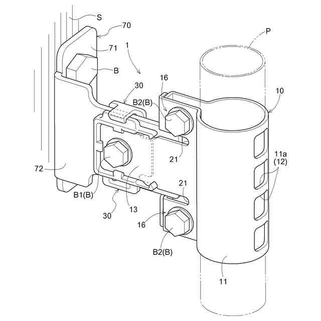
【課題】施工時の作業効率が良く、作業者の技量によらずに均質に配管を適切に支持することができる配管支持部材を提供する。
【解決手段】構造体(S)に固定されたベース金具(70)に連結されて配管(P)を支持する配管支持部材(1)は、配管(P)を保持する保持部(11)と、第一ボルト(B1)の締結によってベース金具(70)に固定されるベース固定部(13)と、第一ボルト(B1)とは別の第二ボルト(B2)の締結によって保持部(11)に締め付け力を作用させる締付作用部(16)とを備える。
【選択図】図1
特許請求の範囲
【請求項1】
構造体に固定されたベース金具に連結されて配管を支持する配管支持部材であって、
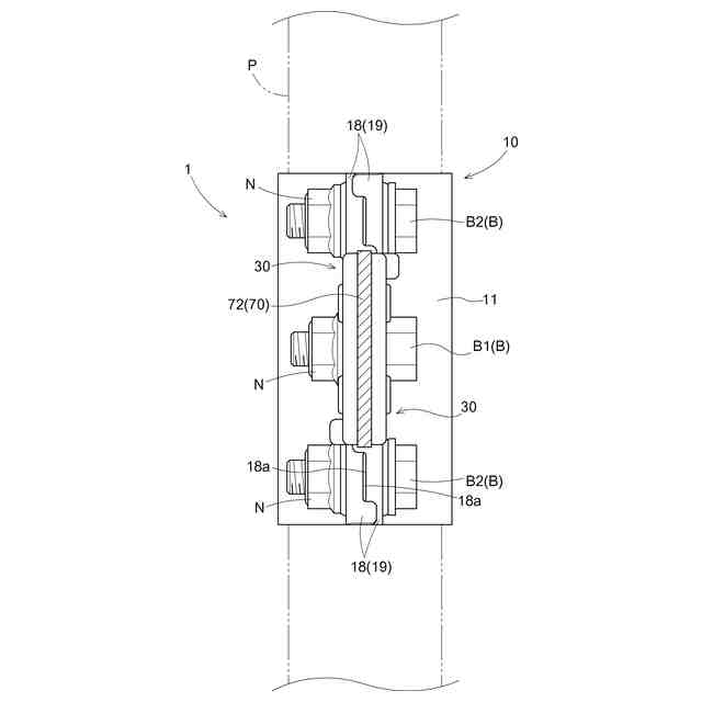
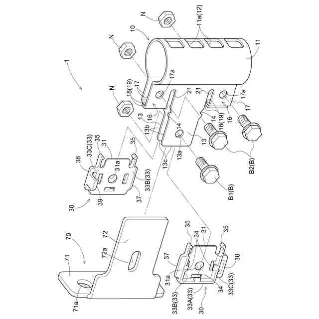
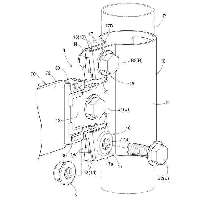
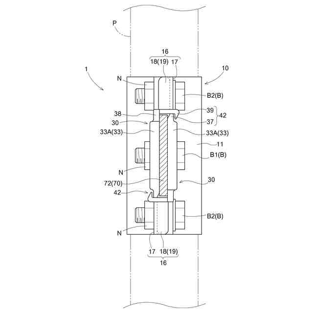
前記配管の外周面を包囲して当該配管を保持する保持部と、
前記保持部から互いに対向するように延出し、第一ボルトの締結によって前記ベース金具に固定されるベース固定部と、
前記保持部から互いに対向するように延出し、前記第一ボルトとは別の第二ボルトの締結によって前記保持部に締め付け力を作用させる締付作用部と、を備える配管支持部材。
発明の詳細な説明
【技術分野】
【0001】
本発明は、配管支持部材に関する。
続きを表示(約 1,700 文字)
【背景技術】
【0002】
ビル等の建築物に設置される空調機器では、例えば屋外に設置された室外機から屋内に設置された室内機に亘って、冷媒配管が配設される場合がある。この場合、例えば暖房運転時に、冷媒配管が熱膨張によって軸方向に伸長し、この伸長量分の負荷が冷媒配管の端部側の屈曲箇所(いわゆるエルボ部)にかかる虞がある。特に冷媒配管が上下方向に配設される場合には、当該冷媒配管の自重による負荷も加わるため、上記屈曲箇所に大きな負荷がかかる虞がある。このような懸念に対して、構造体に固定されたベース金具に連結される配管支持部材を用いて冷媒配管の軸方向の一部を固定し、その固定箇所における軸方向の移動を防ぐことが行われている。熱膨張に伴う配管部材の伸長量を、この固定箇所を中心として軸方向の両側に分散させることで、最下端側の屈曲箇所への負荷を軽減するのである。
【0003】
配管支持部材の一例が、特開2018-25290号公報(特許文献1)に開示されている。この配管支持部材は、スリット状の係合孔73を有する一対のクランプ部材71を備えており、配管部材Pの外周面に固定された装着部材1の鍔部31に係合孔73を係止させて、配管部材Pを支持する。なお、配管部材Pに対する装着部材1の固定は、ロウ付け等の溶接手段によって行われている。
【0004】
しかし、ロウ付け等の溶接施工はある程度の熟練が必要で、作業者の技量に応じて施工品質にバラツキが生じる可能性がある。また、建築物には複数の配管部材Pが配設されることが一般的で、施工対象の建築物全体で、配管部材Pへの装着部材1の固定箇所数が多くなる。それらの全てを溶接手段で行うのは、多大な労力を要し、作業効率が悪いという問題があった。
【先行技術文献】
【特許文献】
【0005】
特開2018-25290号公報
【発明の概要】
【発明が解決しようとする課題】
【0006】
施工時の作業効率が良く、作業者の技量によらずに均質に配管を適切に支持することができる配管支持部材の実現が望まれる。
【課題を解決するための手段】
【0007】
本発明に係る配管支持部材は、
構造体に固定されたベース金具に連結されて配管を支持する配管支持部材であって、
前記配管の外周面を包囲して当該配管を保持する保持部と、
前記保持部から互いに対向するように延出し、第一ボルトの締結によって前記ベース金具に固定されるベース固定部と、
前記保持部から互いに対向するように延出し、前記第一ボルトとは別の第二ボルトの締結によって前記保持部に締め付け力を作用させる締付作用部と、を備える。
【0008】
この構成によれば、ベース金具に対してベース固定部を固定するのに伴い、保持部で配管の外周面を包囲して当該配管を直接保持することができる。例えば鍔部を有する部材を配管に溶接して介在させる必要がなく、ボルト操作だけで施工することができて作業効率が良い。また、ボルト操作だけであれば作業者の技量のバラツキがほとんどないので、施工の均質化を図ることができる。さらに、ベース金具に固定されるベース固定部とは別に締付作用部を備えるので、第一ボルトの締結に伴う保持部での配管の通常の保持に加え、第二ボルトの締結によって保持部に追加の締め付け力を作用させることができる。これにより、保持部の内面による面圧を高めて、配管を適切に支持することができる。
【0009】
以下、本発明の好適な態様について説明する。但し、以下に記載する好適な態様例によって、本発明の範囲が限定される訳ではない。
【0010】
一態様として、
前記締付作用部は、前記保持部と一対の前記締付作用部との2つの境界部分が互いに離間した状態で前記保持部に締め付け力を作用させることが好ましい。
(【0011】以降は省略されています)
この特許をJ-PlatPat(特許庁公式サイト)で参照する
関連特許
個人
留め具
1か月前
個人
鍋虫ねじ
3か月前
個人
回転伝達機構
4か月前
個人
紛体用仕切弁
3か月前
個人
ジョイント
2か月前
個人
給排気装置
2か月前
個人
地震の揺れ回避装置
4か月前
個人
ナット
1か月前
個人
ナット
2か月前
個人
吐出量監視装置
3か月前
個人
ゲート弁バルブ
19日前
柿沼金属精機株式会社
分岐管
3か月前
カヤバ株式会社
緩衝器
2か月前
兼工業株式会社
バルブ
1か月前
株式会社ニフコ
クリップ
2か月前
竹内工業株式会社
ラッチ
4日前
株式会社ノーリツ
分配弁
2か月前
株式会社不二工機
電磁弁
3か月前
株式会社奥村組
制振機構
2か月前
株式会社不二工機
電動弁
2か月前
株式会社奥村組
制振機構
2か月前
アズビル株式会社
回転弁
2か月前
株式会社タカギ
水栓装置
4か月前
株式会社三五
ドライブシャフト
1か月前
株式会社ニフコ
クリップ
19日前
株式会社不二越
転がり軸受
3か月前
個人
誘導電流活用式差動制限装置
2か月前
株式会社オンダ製作所
識別リング
4か月前
アマテイ株式会社
釘
1か月前
個人
ワンウェイベアリング
4か月前
アズビル株式会社
連結装置
今日
株式会社ノナガセ
免震装置
1か月前
アズビル株式会社
連結装置
今日
株式会社ケアコム
取付器具
4か月前
アイホン株式会社
電気機器
2か月前
個人
無段変速可能なフリーホイール
2か月前
続きを見る
他の特許を見る