TOP
|
特許
|
意匠
|
商標
特許ウォッチ
Twitter
他の特許を見る
10個以上の画像は省略されています。
公開番号
2025178432
公報種別
公開特許公報(A)
公開日
2025-12-05
出願番号
2025165227,2023162671
出願日
2025-10-01,2023-09-26
発明の名称
情報処理装置、情報処理装置の制御方法、画像形成システム、プログラムおよび記憶媒体
出願人
キヤノン株式会社
代理人
個人
,
個人
,
個人
,
個人
,
個人
主分類
G06F
3/12 20060101AFI20251128BHJP(計算;計数)
要約
【課題】 印刷設定の異なる画像データに基づいて印刷を行う場合にも、適切に印刷を行うことができるようにすること。
【解決手段】 画像形成装置によって同一の印刷メディアに印刷されるべき印刷対象に含まれる、設定された隠蔽率が互いに異なる複数の画像のうちの少なくとも一部の画像を変換するように制御する制御手段を有することを特徴とする情報処理装置。
【選択図】 図8
特許請求の範囲
【請求項1】
画像形成装置によって同一の印刷メディアに印刷されるべき印刷対象に含まれる、設定された隠蔽率が互いに異なる複数の画像のうちの少なくとも一部の画像を変換するように制御する制御手段
を有することを特徴とする情報処理装置。
続きを表示(約 820 文字)
【請求項2】
前記変換は、前記複数の画像を共通の隠蔽率により印刷できるようにする変換であることを特徴とする請求項1に記載の情報処理装置。
【請求項3】
前記制御手段は、前記複数の画像のそれぞれに設定された隠蔽率のうち、最も高い隠蔽率を前記共通の隠蔽率として前記変換を行うように制御することを特徴とする請求項2に記載の情報処理装置。
【請求項4】
前記制御手段は、前記複数の画像のうち前記最も高い隠蔽率が設定された画像に前記変換は行わないことを特徴とする請求項3に記載の情報処理装置。
【請求項5】
前記変換は、前記変換がされる画像の隠蔽率を上げ、前記変換がされる画像の特定の色の濃度の値を下げる変換であることを特徴とする請求項1に記載の情報処理装置。
【請求項6】
前記制御手段は、前記変換において、前記変換がされる画像の前記特定の色の濃度の値が255であった場合にそれよりも小さい値に変換することを特徴とする請求項5に記載の情報処理装置。
【請求項7】
前記変換は白の隠蔽率が互いに異なる複数の画像のうちの少なくとも一部の画像に対して行われ、前記特定の色は白であることを特徴とする請求項5に記載の情報処理装置。
【請求項8】
隠蔽率は、前記画像に基づき印刷をすべき印刷メディアを透過する光の量を制御するための設定値であることを特徴とする請求項1に記載の情報処理装置。
【請求項9】
前記複数の画像はいずれも、特定色のインクを用いて印刷される画像であることを特徴とする請求項1に記載の情報処理装置。
【請求項10】
ユーザに前記複数の画像それぞれに隠蔽率を設定させるための画面を表示するように制御する表示制御手段をさらに有することを特徴とする請求項1に記載の情報処理装置。
(【請求項11】以降は省略されています)
発明の詳細な説明
【技術分野】
【0001】
本発明は、情報処理装置、情報処理装置の制御方法、画像形成システム、プログラムおよび記憶媒体に関する。
続きを表示(約 2,100 文字)
【背景技術】
【0002】
従来、印刷設定の異なる複数の画像が入力され、複数の画像を同時に印刷する場合に、どちらか一方の印刷設定を無効にして印刷を行う方法が提案されている(特許文献1)。
【先行技術文献】
【特許文献】
【0003】
特開2012-136001号公報
【発明の概要】
【発明が解決しようとする課題】
【0004】
しかしながら、特許文献1の方法では、どちらか一方の印刷設定を無効して印刷を行うため、印刷設定が無効にされた画像については適切に印刷を行うことができなかった。
【課題を解決するための手段】
【0005】
上記目的を達成するために、本発明に係る情報処理装置は、画像形成装置によって同一の印刷メディアに印刷されるべき印刷対象に含まれる、設定された隠蔽率が互いに異なる複数の画像のうちの少なくとも一部の画像を変換するように制御する制御手段を有することを特徴とする。
【発明の効果】
【0006】
本発明によれば、印刷設定の異なる画像データに基づいて印刷を行う場合にも、適切に印刷を行うことができる。
【図面の簡単な説明】
【0007】
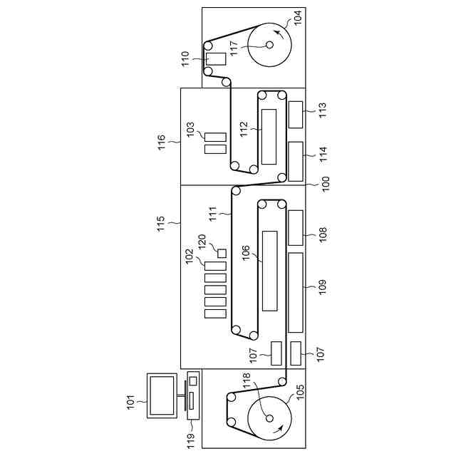
第1実施形態における画像形成装置の構成図。
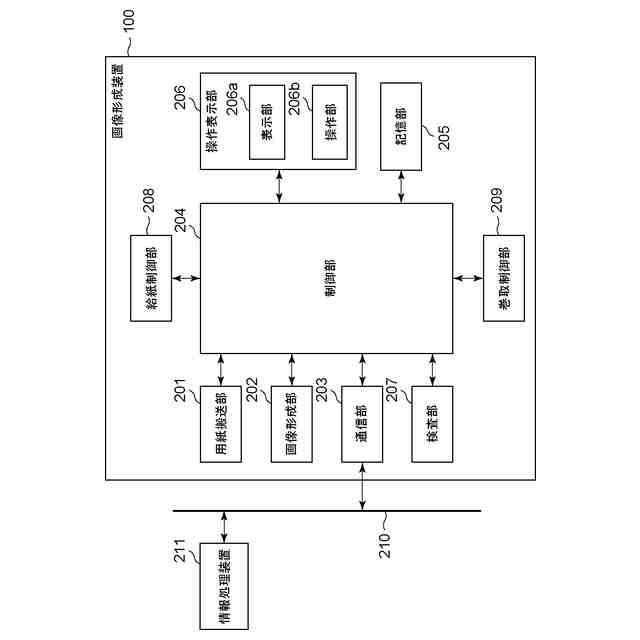
第1実施形態における画像形成装置の機能ブロック図。
第1実施形態における印刷の基本フローチャート。
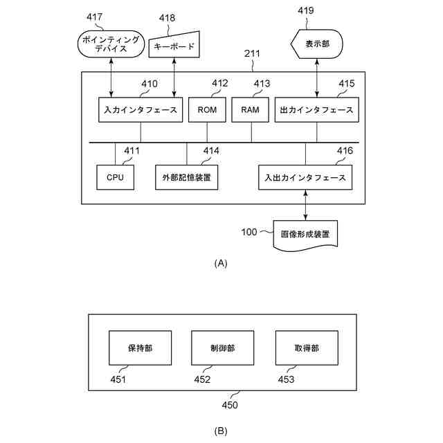
第1実施形態において情報処理装置のハードウェア構成を示すブロック図。
第1実施形態における印刷レイアウトアプリの設定UI画面を示す図。
第1実施形態における白画像データのデータ変換方法を説明する図。
第1実施形態において白画像データの値に変換するときの関係を示すグラフ。
第1実施形態における印刷レイアウト処理に係るフローチャート。
第2実施形態における白画像データのデータ変換方法を説明する図。
第2実施形態における印刷レイアウト処理に係るフローチャート。
【発明を実施するための形態】
【0008】
以下、添付図面を参照して本発明の実施形態を説明する。尚、以下の実施形態は特許請求の範囲に係る本発明を限定するものでなく、また本実施形態で説明されている特徴の組み合わせの全てが本発明の解決手段に必須のものとは限らない。
【0009】
<第1実施形態>
本実施形態における画像形成装置の構成について説明する。図1は本実施形態に係る画像形成装置100の概略構成の一例である。画像形成装置100は、本実施形態で使用する連続した画像形成が可能な連続な印刷媒体(以下ロール紙)111に画像を形成する装置である。本実施形態では、画像形成装置100は、ロール紙111を送出する給紙装置104、特色印刷を行う記録ユニット116で構成される。さらに、基本色印刷を行う記録ユニット115、ロール紙111の巻き取りを行う巻き取り装置105、ユーザインターフェース(以降UI)操作パネル101で構成される。給紙装置104は、ロール紙111を画像形成装置100に供給する装置である。給紙装置104は、回転軸117を中心にロール紙111の紙管を回転させてその紙管に巻かれているロール紙111を、複数ローラ(搬送ローラ、給紙ローラなど)を経由して、一定の速度で画像形成装置100に向けて搬送する。巻き取り装置105は、画像形成装置100から搬送されてきたロール紙111を、紙管を中心としてロール状に巻き取る装置である。紙管は回転軸118に取り付けられており、回転軸118を中心に回転させることで、複数のローラー(例えば、搬送ローラー、排紙ローラー)を経由して、紙管に搬送されてきたロール紙111を、所定の速度で印刷成果物として巻き取る。印刷成果物は紙管に巻かれてロール状に保持される。印刷開始前の作業として、給紙装置104から、巻き取り装置105にロール紙111を通す。給紙装置104にロール紙111をセットして、ロール紙111の先端を斜行補正装置110の上に通す。次に、記録ユニット116の印刷装置103の下を通す。
【0010】
本実施形態での印刷装置103は、カラーインクである、シアン(C)、マゼンタ(М)、イエロー(Y)、ブラック(K)の(CMYK)以外の特定色、例えば、白インク、などを用いて印刷する装置である。本実施形態の印刷装置103は、2値の白画像データに基づいて白色画像の印刷を行う。乾燥装置112の下を通して、冷却装置113及び、114の上を通す。次に、記録ユニット115のマーク検知センサ120と印刷装置102の下を通して、乾燥装置106の下を通して、冷却装置108及び、109の上を通す。本実施形態で、印刷装置103で形成する画像上に印刷装置102の画像を形成するときの位置合わせでマーク検知センサ120を使用するが、スキャナ装置を用いてもよく、この限りでない。
(【0011】以降は省略されています)
この特許をJ-PlatPat(特許庁公式サイト)で参照する
関連特許
キヤノン株式会社
電子機器
3日前
キヤノン株式会社
情報処理装置
3日前
キヤノン株式会社
画像形成装置
3日前
キヤノン株式会社
測距装置及び測距方法
3日前
キヤノン株式会社
有機発光素子及びその製造方法
3日前
キヤノン株式会社
眼科装置及び眼科装置の制御方法
3日前
キヤノン株式会社
通信装置、その制御方法、並びにプログラム
3日前
キヤノン株式会社
通信装置、その制御方法、並びにプログラム
3日前
キヤノン株式会社
画像形成装置、画像処理方法、及びプログラム
3日前
キヤノン株式会社
情報処理装置、その制御方法、及びプログラム
3日前
キヤノン株式会社
光電変換装置、光電変換システム、移動体および機器
3日前
キヤノン株式会社
ブレードラバー、ワイパーブレード及びワイパー装置
3日前
キヤノン株式会社
印刷検査装置、印刷検査装置の制御方法及びプログラム
3日前
キヤノン株式会社
画像処理装置、画像処理装置の制御方法およびプログラム
3日前
キヤノン株式会社
画像形成装置、画像形成装置の制御方法、及びプログラム
3日前
キヤノン株式会社
露光ヘッド
3日前
キヤノン株式会社
印刷システム、印刷システムの制御方法、およびプログラム
3日前
キヤノン株式会社
情報処理装置、画像処理装置、それらの方法、及びプログラム
3日前
キヤノン株式会社
印刷ジョブの適切な不具合診断を行うことが可能な画像形成装置
3日前
キヤノン株式会社
判断方法、情報処理装置、判断システム、プログラム及び記憶媒体
3日前
キヤノン株式会社
プリント媒体支持面上を移動可能なプリントヘッドメンテナンスユニット
3日前
キヤノン株式会社
プログラム及び制御方法
3日前
キヤノン株式会社
画像形成装置及び画像形成システム
3日前
キヤノン株式会社
焦点検出装置、焦点検出方法、および撮像装置
3日前
キヤノン株式会社
医用画像処理装置、医用画像処理方法及びプログラム
3日前
キヤノン株式会社
電子写真用クリーニングブレード、プロセスカートリッジ及び電子写真画像形成装置並びにウレタン成形体
3日前
キヤノン株式会社
情報処理装置、情報処理装置の制御方法、画像形成システム、プログラムおよび記憶媒体
3日前
個人
詐欺保険
1か月前
個人
縁伊達ポイン
1か月前
個人
5掛けポイント
1か月前
個人
職業自動販売機
24日前
個人
RFタグシート
1か月前
個人
ペルソナ認証方式
1か月前
個人
QRコードの彩色
1か月前
個人
自動調理装置
1か月前
個人
情報処理装置
1か月前
続きを見る
他の特許を見る