TOP
|
特許
|
意匠
|
商標
特許ウォッチ
Twitter
他の特許を見る
10個以上の画像は省略されています。
公開番号
2025178427
公報種別
公開特許公報(A)
公開日
2025-12-05
出願番号
2025165123,2023220289
出願日
2025-10-01,2023-12-27
発明の名称
締結具、雄ねじ側部材、雌ねじ側部材
出願人
株式会社pate.to
代理人
個人
主分類
F16B
39/30 20060101AFI20251128BHJP(機械要素または単位;機械または装置の効果的機能を生じ維持するための一般的手段)
要約
【課題】締結時間を短縮することができる締結具を提供する。
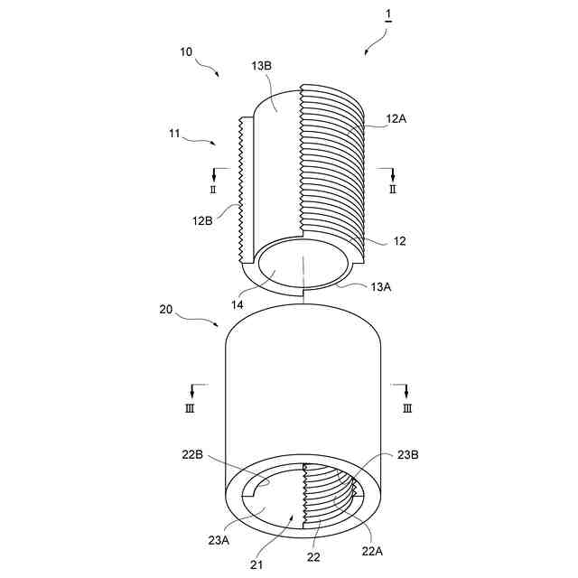
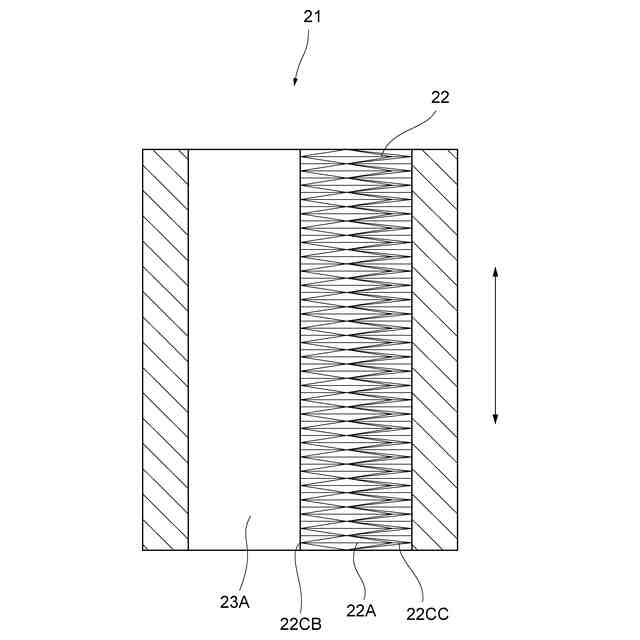
【解決手段】外周方向において、軸方向に略直交するように延伸する雄ねじ側のねじ山12が形成される雄ねじ面12A,12Bと、雄ねじ側のねじ山12が形成されていない外周片13A,13Bとが交互に配置されるねじ部11を有し、雄ねじ側のねじ山12は、軸方向の幅が雄ねじ側のねじ山12の延伸方向略中央12CAから両端12CB,12CCに向けて狭まるように形成される雄ねじ側部材10と、内周方向において、軸方向に略直交するように延伸する雌ねじ側のねじ山22が設けられる雌ねじ面22A,22Bと、雌ねじ側のねじ山22が設けられていない内周片23A,23Bとが交互に配置されるねじ孔21を有し、雌ねじ側のねじ山22は、軸方向の幅が雌ねじ側のねじ山22の延伸方向略中央22CAから両端22CB,22CCに向けて狭まるように形成される雌ねじ側部材20とを備える。
【選択図】図1
特許請求の範囲
【請求項1】
外周方向において、軸方向に略直交するように延伸する雄ねじ側のねじ山が形成される雄ねじ面と、当該雄ねじ側のねじ山が形成されていない外周片とが交互に配置されるねじ部を有し、当該雄ねじ側のねじ山は、当該軸方向の幅が、当該雄ねじ側のねじ山の延伸方向略中央から両端に向けて狭まるように形成される、雄ねじ側部材と、
内周方向において、軸方向に略直交するように延伸する雌ねじ側のねじ山が設けられる雌ねじ面と、当該雌ねじ側のねじ山が設けられていない内周片とが交互に配置されるねじ孔を有し、当該雌ねじ側のねじ山は、当該軸方向の幅が、当該雌ねじ側のねじ山の延伸方向略中央から両端に向けて狭まるように形成される、雌ねじ側部材と、
を備え、
前記ねじ部と前記ねじ孔とを一の方向に相対回転させることで前記雄ねじ側のねじ山と前記雌ねじ側のねじ山とが螺合状態となり、かつ、当該ねじ部と当該ねじ孔とを他の方向に相対回転させることで当該雄ねじ側のねじ山と当該雌ねじ側のねじ山とが螺合状態となる、
締結具。
続きを表示(約 1,300 文字)
【請求項2】
各螺合状態における前記ねじ部と前記ねじ孔との相対回転を係止するようにして、前記ねじ部及び前記ねじ孔に形成される係止部を更に備える、
請求項1に記載の締結具。
【請求項3】
前記係止部は、
前記雄ねじ側のねじ山及び前記雌ねじ側のねじ山のうち一方において、延伸方向略中央と一端との間に形成される第一凸部、及び、延伸方向略中央と他端との間に形成される第二凸部と、
前記雄ねじ側のねじ山及び前記雌ねじ側のねじ山のうち他方において、前記一の方向に相対回転して前記螺合状態となった場合に前記第一凸部と嵌合する位置に形成される第一凹部、及び、前記他の方向に相対回転して前記螺合状態となった場合に前記第二凸部と嵌合する位置に形成される第二凹部と、
を備える請求項2に記載の締結具。
【請求項4】
前記第一凹部は前記第一凸部以上の大きさであり、前記第二凹部は前記第二凸部よりも小さい、
請求項3に記載の締結具。
【請求項5】
前記ねじ部は、前記螺合状態において前記ねじ孔と連通する貫通孔を内側に有する筒状である、
請求項1から4のうちいずれか1項に記載の締結具。
【請求項6】
前記貫通孔における軸心よりも径方向外側に設けられた配管であって、一端部が二方向に分岐しており、分岐したうちの一方である第一雄ねじ側分岐部は前記一の方向を向き、分岐したうちの他方である第二雄ねじ側分岐部は前記他の方向を向く雄ねじ側配管と、
前記ねじ孔における軸心よりも径方向外側に設けられた配管であって、一端部が二方向に分岐しており、分岐したうちの一方である第一雌ねじ側分岐部は前記他の方向を向き、分岐したうちの他方である第二雌ねじ側分岐部は前記一の方向を向き、前記螺合状態において、当該第一雌ねじ側分岐部が前記第一雄ねじ側分岐部と嵌合するとともに、当該第二雌ねじ側分岐部が前記第二雄ねじ側分岐部と嵌合する雌ねじ側配管と、
を備える請求項5に記載の締結具。
【請求項7】
ねじ部の外周方向における一部に配置され、当該ねじ部の軸方向に略直交するように延伸する雄ねじ側のねじ山が形成される雄ねじ面と、
前記外周方向において前記雄ねじ面と交互に配置されることで前記ねじ部の外周を形成し、前記雄ねじ側のねじ山が形成されていない外周片と、
を備え、
前記雄ねじ側のねじ山は、前記ねじ部の軸方向の幅が、当該雄ねじ側のねじ山の延伸方向略中央から両端に向けて狭まるように形成される、
雄ねじ側部材。
【請求項8】
ねじ孔の内周方向における一部に配置され、当該ねじ孔の軸方向に略直交するように延伸する雌ねじ側のねじ山が設けられる雌ねじ面と、
前記内周方向において前記雌ねじ面と交互に配置されることで前記ねじ孔の内周を形成し、前記雌ねじ側のねじ山が設けられていない内周片と、
を備え、
前記雌ねじ側のねじ山は、前記ねじ孔の軸方向の幅が、当該雌ねじ側のねじ山の延伸方向略中央から両端に向けて狭まるように形成される、
雌ねじ側部材。
発明の詳細な説明
【技術分野】
【0001】
本発明は、締結具、雄ねじ側部材、及び、雌ねじ側部材に関する。
続きを表示(約 1,400 文字)
【背景技術】
【0002】
締結具は、雄ねじと雌ねじとを螺合させて締結するものである。この締結具について、例えば下記特許文献1では、雄ねじと雌ねじの締結後の緩みを防止する技術が開示されている。
【先行技術文献】
【特許文献】
【0003】
特開2011-112204号公報
【発明の概要】
【発明が解決しようとする課題】
【0004】
上記特許文献1等の従来の締結具では、雄ねじのねじ山と雌ねじのねじ山とを、互いの長さ分相対的に回転させるように螺合させて締結するので、これらのねじ山が長い場合には締結に時間がかかる。
【0005】
そこで本発明は、締結にかかる時間を短縮することができる、締結具、雄ねじ側部材、及び、雌ねじ側部材を提供することを目的とする。
【課題を解決するための手段】
【0006】
上記課題を解決するために、本発明の第一態様に係る締結具は、外周方向において、軸方向に略直交するように延伸する雄ねじ側のねじ山が形成される雄ねじ面と、当該雄ねじ側のねじ山が形成されていない外周片とが交互に配置されるねじ部を有し、当該雄ねじ側のねじ山は、当該軸方向の幅が、当該雄ねじ側のねじ山の延伸方向略中央から両端に向けて狭まるように形成される、雄ねじ側部材と、内周方向において、軸方向に略直交するように延伸する雌ねじ側のねじ山が設けられる雌ねじ面と、当該雌ねじ側のねじ山が設けられていない内周片とが交互に配置されるねじ孔を有し、当該雌ねじ側のねじ山は、当該軸方向の幅が、当該雌ねじ側のねじ山の延伸方向略中央から両端に向けて狭まるように形成される、雌ねじ側部材と、を備え、前記ねじ部と前記ねじ孔とを一の方向に相対回転させることで前記雄ねじ側のねじ山と前記雌ねじ側のねじ山とが螺合状態となり、かつ、当該ねじ部と当該ねじ孔とを他の方向に相対回転させることで当該雄ねじ側のねじ山と当該雌ねじ側のねじ山とが螺合状態となる。
【0007】
また、本発明の第二態様では、各螺合状態における前記ねじ部と前記ねじ孔との相対回転を係止するようにして、前記ねじ部及び前記ねじ孔に形成される係止部を更に備える。
【0008】
また、本発明の第三態様では、前記係止部は、前記雄ねじ側のねじ山及び前記雌ねじ側のねじ山のうち一方において、延伸方向略中央と一端との間に形成される第一凸部、及び、延伸方向略中央と他端との間に形成される第二凸部と、前記雄ねじ側のねじ山及び前記雌ねじ側のねじ山のうち他方において、前記一の方向に相対回転して前記螺合状態となった場合に前記第一凸部と嵌合する位置に形成される第一凹部、及び、前記他の方向に相対回転して前記螺合状態となった場合に前記第二凸部と嵌合する位置に形成される第二凹部と、を備える。
【0009】
また、本発明の第四態様では、前記第一凹部は前記第一凸部及び前記第二凸部以上の大きさであり、前記第二凹部は前記第一凸部及び前記第二凸部よりも小さい。
【0010】
また、本発明の第五態様では、前記ねじ部は、前記螺合状態において前記ねじ孔と連通する貫通孔を内側に有する筒状である。
(【0011】以降は省略されています)
この特許をJ-PlatPat(特許庁公式サイト)で参照する
関連特許
個人
留め具
1か月前
個人
鍋虫ねじ
3か月前
個人
回転伝達機構
4か月前
個人
紛体用仕切弁
3か月前
個人
ジョイント
2か月前
個人
給排気装置
2か月前
個人
地震の揺れ回避装置
4か月前
個人
ナット
1か月前
個人
ナット
2か月前
個人
吐出量監視装置
3か月前
個人
ゲート弁バルブ
20日前
柿沼金属精機株式会社
分岐管
3か月前
カヤバ株式会社
緩衝器
2か月前
兼工業株式会社
バルブ
1か月前
株式会社ニフコ
クリップ
2か月前
竹内工業株式会社
ラッチ
5日前
株式会社ノーリツ
分配弁
2か月前
株式会社不二工機
電磁弁
3か月前
株式会社奥村組
制振機構
2か月前
株式会社不二工機
電動弁
2か月前
株式会社奥村組
制振機構
2か月前
アズビル株式会社
回転弁
2か月前
株式会社タカギ
水栓装置
4か月前
株式会社三五
ドライブシャフト
1か月前
株式会社ニフコ
クリップ
20日前
株式会社不二越
転がり軸受
3か月前
個人
誘導電流活用式差動制限装置
2か月前
株式会社オンダ製作所
識別リング
4か月前
アマテイ株式会社
釘
1か月前
個人
ワンウェイベアリング
4か月前
アズビル株式会社
連結装置
1日前
株式会社ノナガセ
免震装置
1か月前
アズビル株式会社
連結装置
1日前
株式会社ケアコム
取付器具
4か月前
アイホン株式会社
電気機器
2か月前
個人
無段変速可能なフリーホイール
2か月前
続きを見る
他の特許を見る