TOP
|
特許
|
意匠
|
商標
特許ウォッチ
Twitter
他の特許を見る
公開番号
2025178387
公報種別
公開特許公報(A)
公開日
2025-12-05
出願番号
2025162158,2022094581
出願日
2025-09-29,2022-06-10
発明の名称
車両用表示制御装置、車両用表示システム、車両用表示制御方法及びプログラム
出願人
トヨタ自動車株式会社
代理人
弁理士法人太陽国際特許事務所
主分類
B60K
35/233 20240101AFI20251128BHJP(車両一般)
要約
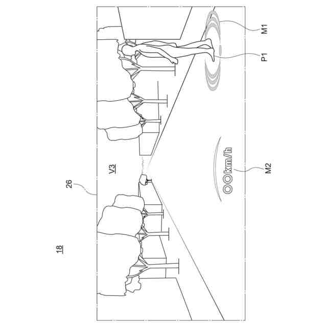
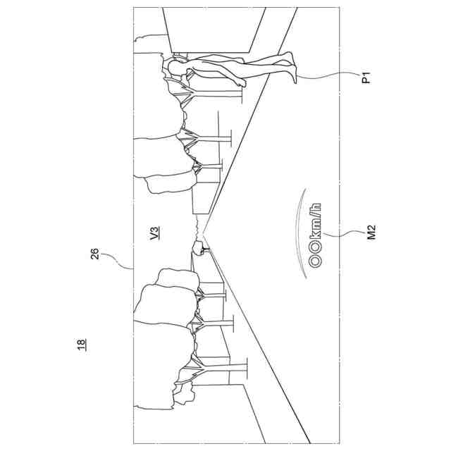
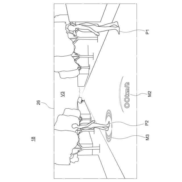
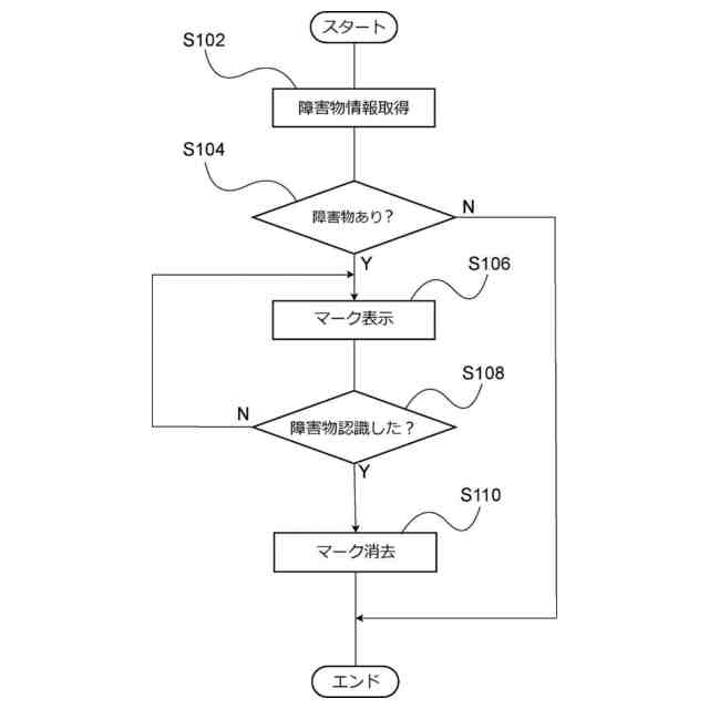
【課題】新たな障害物を早期に認識させることが可能な車両用表示制御装置、車両用表示システム、車両用表示制御方法及びプログラムを得る。
【解決手段】車両用表示制御装置は、車両周辺の障害物に関する情報を取得する障害物情報取得部と、車室内のディスプレイに表示される前記障害物の画像に対して、前記情報を表示する情報表示部と、前記情報が表示された状態において、車両の加速度が所定以上減速した場合に前記情報の表示を消去する情報消去部と、を有する。
【選択図】図7
特許請求の範囲
【請求項1】
車両周辺の障害物に関する情報を取得する障害物情報取得部と、
車室内のディスプレイに表示される前記障害物の画像に対して、前記情報を重畳表示する情報表示部と、
前記情報が表示された状態において、車両の加速度が所定以上減速した場合に前記情報の表示を消去する情報消去部と、
を有する車両用表示制御装置。
続きを表示(約 480 文字)
【請求項2】
前記情報消去部は、減速度の絶対値が所定値よりも大きい場合、又は単位時間当たりの減速度が所定値以上となった場合に情報の表示を消去する、請求項1に記載の車両用表示制御装置。
【請求項3】
前記情報は、前記車両のドライバに対して前記障害物への注意を促す画像情報である、請求項1又は2に記載の車両用表示制御装置。
【請求項4】
コンピュータにより、
車両周辺の障害物に関する情報を取得し、
車室内の表示領域に、乗員から見た前記障害物の位置に情報を重畳表示し、
前記情報が表示された状態において、車両の加速度が所定以上減速した場合に前記情報の表示を消去する、
車両用表示制御方法。
【請求項5】
車両周辺の障害物に関する情報を取得し、
車室内の表示領域に、乗員から見た前記障害物の位置に情報を重畳表示し、
前記情報が表示された状態において、車両の加速度が所定以上減速した場合に前記情報の表示を消去する、
処理をコンピュータに実行させるプログラム。
発明の詳細な説明
【技術分野】
【0001】
本発明は、車両用表示制御装置、車両用表示システム、車両用表示制御方法及びプログラムに関する。
続きを表示(約 1,000 文字)
【背景技術】
【0002】
特許文献1には、車両の前方に存在する障害物を検出して表示部に表示する車両用表示装置が開示されている。この特許文献1に記載の車両用表示装置では、注意すべき障害物であるには、注意すべき障害物でない場合よりも画像の表示更新周期を短くする。
【先行技術文献】
【特許文献】
【0003】
特開2016-24573号公報
【発明の概要】
【発明が解決しようとする課題】
【0004】
上記特許文献1に記載された装置のように、障害物の情報を乗員の目の前に表示する構成では、乗員が障害物を早期に認識することができる。一方で、他に注意すべき障害物が出現した場合、乗員が障害物を認識するのが遅れる可能性がある。
【0005】
本発明は、新たな障害物を早期に認識させることが可能な車両用表示制御装置、車両用表示システム、車両用表示制御方法及びプログラムを得ることを目的とする。
【課題を解決するための手段】
【0006】
請求項1に係る車両用表示制御装置は、車両周辺の障害物に関する情報を取得する障害物情報取得部と、車室内のディスプレイに表示される前記障害物の画像に対して、前記情報を重畳表示する情報表示部と、前記情報が表示された状態において、車両の加速度が所定以上減速した場合に前記情報の表示を消去する情報消去部と、を有する。
【0007】
請求項1に係る車両用表示制御装置では、車室内のディスプレイに表示される障害物の画像に対して、障害物に関する情報が重畳表示される。これにより、乗員は車両周辺の障害物を早期に認識することができる。
【0008】
また、情報が表示された状態において、車両の加速度が所定以上減速した場合に前記情報の表示を消去する。これにより、車両周辺に新たな障害物が出現した際に、新たな障害物のみに情報が重畳表示されることとなり、乗員が新たな障害物を早期に認識することができる。
【0009】
請求項2に係る車両用表示制御装置は、請求項1において、減速度の絶対値が所定値よりも大きい場合、又は単位時間当たりの減速度が所定値以上となった場合に情報の表示を消去する。
【0010】
請求項2に係る車両用表示制御装置では、乗員がブレーキペダルを操作するだけで表示を消去させることができる。
(【0011】以降は省略されています)
この特許をJ-PlatPat(特許庁公式サイト)で参照する
関連特許
他の特許を見る