TOP
|
特許
|
意匠
|
商標
特許ウォッチ
Twitter
他の特許を見る
10個以上の画像は省略されています。
公開番号
2025178140
公報種別
公開特許公報(A)
公開日
2025-12-05
出願番号
2025075387,2024083538
出願日
2025-04-30,2024-05-22
発明の名称
風車のブレードの補修を行うべきタイミングを予測するためのシステム、方法、およびプログラム
出願人
LEBO ROBOTICS株式会社
代理人
個人
,
個人
,
個人
,
個人
,
個人
,
個人
主分類
F03D
17/00 20160101AFI20251128BHJP(液体用機械または機関;風力原動機,ばね原動機,重力原動機;他類に属さない機械動力または反動推進力を発生するもの)
要約
【課題】風車のブレードの補修を適切なタイミングで行うことを可能にするシステム等を提供すること
【解決手段】本発明は、風車のブレードの補修を行うべきタイミングを予測するためのシステムを提供し、前記システムは、風車のブレードの表面形状を表すデータを受信する受信手段と、前記データに基づいて、前記タイミングを予測する予測手段とを備える。前記予測手段は、前記データ内に示される前記ブレードの表面の損傷部分の態様に基づいて、予測モデルを選択することと、前記選択された予測モデルを用いて、前記データに基づいて、前記タイミングを予測することとを行うように構成されている。
【選択図】図2
特許請求の範囲
【請求項1】
本明細書に記載の発明。
発明の詳細な説明
【技術分野】
【0001】
本発明は、風車のブレードの補修を行うべきタイミングを予測するためのシステム、方法、およびプログラムに関する。
続きを表示(約 2,800 文字)
【背景技術】
【0002】
大型風力発電機は、そのナセルが約100mの高さを有する。大型風力発電機のブレードの翼端周速は約100~120m/sであり、ブレードの風を切る方の縁であるリーディングエッジ(前縁)は、毎年約20μm摩耗する。また、大型風力発電機のブレードは雷による被害を受けやすい。そのため、ブレードには、耐雷対策として雷撃電流を地面に流すための受雷部(レセプタ)が設けられているが、故障により受雷部が導通不良であると、ブレードは、落雷よる雷撃電流を地面に流すことができずに大破してしまう。従って、大型風力発電機のブレードには、定期的なメンテナンスが必要であり、損傷部がある場合には、補修が必要である。
【0003】
風車のブレードのメンテナンスを行うための装置が知られている(特許文献1)。
【先行技術文献】
【特許文献】
【0004】
国際公開第2018/155704号
【発明の概要】
【発明が解決しようとする課題】
【0005】
風車のブレードの補修を適切なタイミングで行うことを可能にするシステム等を提供することを目的とする。
【課題を解決するための手段】
【0006】
本発明は、風車のブレードの表面形状を表すデータを用いて、風車のブレードの補修を行うべきタイミングを予測するシステム等を提供する。
【0007】
本発明は、例えば、以下の項目を提供する。
(項目1)
風車のブレードの補修を行うべきタイミングを予測するためのシステムであって、
風車のブレードの表面形状を表すデータを受信する受信手段と、
前記データに基づいて、前記タイミングを予測する予測手段と
を備えるシステム。
(項目2)
前記予測手段は、
前記データ内に示される前記ブレードの表面の損傷部分の態様に基づいて、予測モデルを選択することと、
前記選択された予測モデルを用いて、前記データに基づいて、前記タイミングを予測することと
を行うように構成されている、上記項目に記載のシステム。
(項目3)
前記損傷部分の態様は、前記損傷部分の浸食パターンを含む、上記項目のいずれか一項に記載のシステム。
(項目4)
前記予測モデルを選択することは、
前記損傷部分が、一次損傷部から前記表面に対して垂直な方向に拡張する浸食パターンを有する場合に、第1の予測モデルを選択することと、
前記損傷部分が、一次損傷部から前記表面に対して平行な方向に拡張する浸食パターンを有する場合に、第2の予測モデルを選択することと
を少なくとも含む、上記項目のいずれか一項に記載のシステム。
(項目5)
前記風車のブレードの表面形状を表すデータは、前記ブレードの表面の損傷部分の深さ、幅、および、位置を含む、上記項目のいずれか一項に記載のシステム。
(項目6)
前記受信手段は、前記風車の周囲の環境を表す環境データをさらに受信し、
前記予測手段は、前記データと前記環境データとに基づいて、前記タイミングを予測する、上記項目のいずれか一項に記載のシステム。
(項目7)
前記環境データは、風速データ、雨量データ、雨滴データ、UV量データ、立地を表すデータのうちの少なくとも1つを含む、上記項目のいずれか一項に記載のシステム。
(項目8)
前記受信手段は、前記ブレードの少なくとも一部の材料を表す材料データをさらに受信し、
前記予測手段は、前記データと前記環境データと前記材料データとに基づいて、前記タイミングを予測する、上記項目のいずれか一項に記載のシステム。
(項目9)
前記材料データは、前記ブレードの表面上の塗料の材料を表す塗料データ、前記ブレードの表面上のパテの材料を表すパテデータのうちの少なくとも1つを含む、上記項目のいずれか一項に記載のシステム。
(項目10)
風車のブレードの補修を行うべきタイミングを予測するための方法であって、
風車のブレードの表面形状を表すデータを受信することと、
前記データに基づいて、前記タイミングを予測することと
を含む方法。
(項目10A)
上記項目のいずれか一項に記載の特徴を含む、項目10に記載の方法。
(項目11)
風車のブレードの補修を行うべきタイミングを予測するためのプログラムであって、前記プログラムは、プロセッサを備えるコンピュータシステムにおいて実行され、前記プログラムは、
風車のブレードの表面形状を表すデータを受信することと、
前記データに基づいて、前記タイミングを予測することと
を含む処理を前記プロセッサに行わせる、プログラム。
(項目11A)
上記項目のいずれか一項に記載の特徴を含む、項目11に記載のプログラム。
(項目11B)
項目11または項目11Aに記載のプログラムを記憶している非一過性のコンピュータ読み取り可能な記憶媒体。
【発明の効果】
【0008】
本発明によれば、風車のブレードの補修を行うべきタイミングを予測するためのシステム等を提供することができ、これにより、風車のブレードの補修を適切なタイミングで行うことを可能にし、補修にかかる労力およびコストを低減することができる。
【図面の簡単な説明】
【0009】
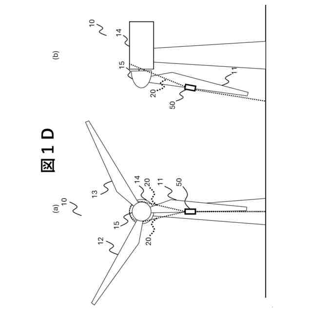
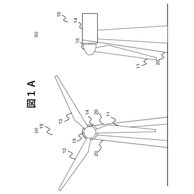
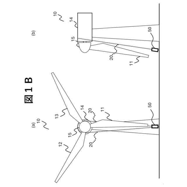
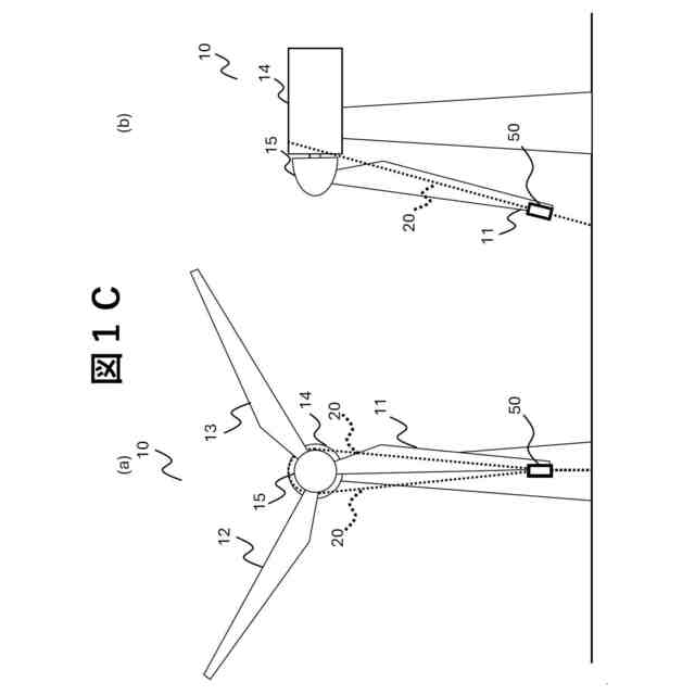
風車のブレードのメンテナンスを行う手順を説明する図
風車のブレードのメンテナンスを行う手順を説明する図
風車のブレードのメンテナンスを行う手順を説明する図
風車のブレードのメンテナンスを行う手順を説明する図
本発明のシステム100によるフローの一例を示す図
本発明のシステム100の構成の一例を示す図
ブレードの表面形状を表すデータを二次元平面内にプロットした例を示す図
予測手段120によって利用され得る予測モデルを構築するニューラルネットワークモデルの構造の一例を示す図
浸食パターンの2つの例を概略的に示す図
システム100を実装する情報処理装置200の構成の一例を示す図
本発明のシステム100における処理700の一例を示すフローチャート
処理700におけるステップS702の処理の一例を示すフローチャート
【発明を実施するための形態】
【0010】
以下、図面を参照しながら、本発明の実施の形態を説明する。
(【0011】以降は省略されています)
この特許をJ-PlatPat(特許庁公式サイト)で参照する
関連特許
個人
風力発電機
4か月前
個人
磁力スロープ
3か月前
個人
風車用回転翼
4か月前
個人
小水力発電器
1か月前
個人
波力発電装置
4か月前
個人
折り畳み式風車
4か月前
個人
サボニウス風車
1か月前
個人
閉空間推進移動装置
3か月前
個人
風力発電装置
3か月前
東レ株式会社
風車ブレード
3か月前
個人
水力発電用水の循環活動
2か月前
個人
プラズマエンジン
6か月前
Orbray株式会社
発電装置
1か月前
個人
水中での上下動による発電
19日前
個人
波受け板を用いた波浪発電装置
2か月前
個人
岸壁などに設置する波力発電装置
1か月前
株式会社 林物産発明研究所
発電装置
2か月前
個人
水車発電と水の循環供給装置
3か月前
株式会社高橋監理
浮体式洋上風力発電所
5か月前
株式会社ゲットクリーンエナジー
発電機
3か月前
株式会社堤水素研究所
風力発電装置
5か月前
三菱電機株式会社
風力発電システム
2か月前
株式会社ライトエンジ
推力発生方法
2か月前
個人
上下運動を回転運動に変換する装置。
1か月前
株式会社リコー
水力発電装置
3か月前
株式会社大林組
リフトアップ装置
2か月前
株式会社大林組
リフトアップ装置
2か月前
株式会社アイシン
発電装置
3か月前
株式会社アイシン
発電装置
3か月前
株式会社大林組
リフトアップ装置
10日前
株式会社大林組
リフトアップ装置
10日前
株式会社ゲットクリーンエナジー
エンジン
6か月前
株式会社酉島製作所
多段式流体機械
1か月前
個人
波力発電ユニット及び波力発電システム
2か月前
個人
潮流発電装置および潮流発電方法
5か月前
三菱重工業株式会社
風力発電装置
2か月前
続きを見る
他の特許を見る