TOP
|
特許
|
意匠
|
商標
特許ウォッチ
Twitter
他の特許を見る
公開番号
2025178122
公報種別
公開特許公報(A)
公開日
2025-12-05
出願番号
2025048705
出願日
2025-03-24
発明の名称
複数の指のジェスチャを使用して車両内のタッチスクリーンを制御するためのユーザインターフェースの提供
出願人
トヨタ自動車株式会社
代理人
個人
,
個人
,
個人
,
個人
,
個人
,
個人
,
個人
主分類
G06F
3/0488 20220101AFI20251128BHJP(計算;計数)
要約
【課題】所定の複数の指のジェスチャを実装して、運転者の注意をそらすことなく、より容易な機能制御を提供する。
【解決手段】複数の指のジェスチャによるユーザインターフェース制御が車両に設けられる。所定の機能制御と、所定時間にわたってタッチスクリーンに押し当てられた少なくとも2本の指を使用した所定の複数の指のジェスチャとの間の関係が予め設定される。所定の複数の指のジェスチャは、所定時間にわたってタッチスクリーンに押し当てられた少なくとも2本の指を使用して検出される。所定の複数の指のジェスチャに対応する所定の機能制御が生成される。複数の指のジェスチャは、複数の指のジェスチャにマッピングされた機能又は操作を実行するために、車両内のタッチスクリーンに入力を提供するように構成される。
【選択図】図7
特許請求の範囲
【請求項1】
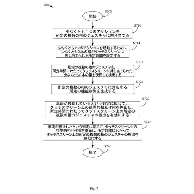
車両において複数の指のジェスチャによるユーザインターフェース制御を提供するためにプロセッサによって実行される方法であって、
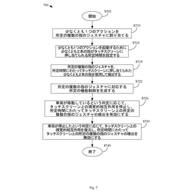
所定の機能制御と、所定時間にわたって車両のタッチスクリーンに押し当てられた少なくとも2本の指を使用した所定の複数の指のジェスチャとの間の関係を登録するステップと、
前記所定時間にわたって前記タッチスクリーンに押し当てられた前記少なくとも2本の指を使用した前記所定の複数の指のジェスチャを検出するステップと、
前記所定の複数の指のジェスチャに対応する前記所定の機能制御を生成するステップと、
を含む、方法。
続きを表示(約 1,600 文字)
【請求項2】
前記所定の機能制御と、前記所定時間にわたって前記タッチスクリーンに押し当てられた少なくとも2本の指を使用した前記所定の複数の指のジェスチャとの間の関係を登録する前記ステップは、前記所定の複数の指のジェスチャに少なくとも1つのアクションを割り当てることと、前記少なくとも一つのアクションを起動するために前記少なくとも2本の指が前記タッチスクリーンに押し当てられる前記所定時間を設定することと、をさらに含む、請求項1に記載の方法。
【請求項3】
前記所定の複数の指のジェスチャを検出する前記ステップは、所定の動きと組み合わされた、複数の指を使用した前記所定時間の押圧を検出することを含む、請求項1又は2に記載の方法。
【請求項4】
前記所定の複数の指のジェスチャを検出する前記ステップは、2本の指を使用した前記所定時間の押圧、3本の指による前記所定時間の押圧、4本の指による前記所定時間の押圧、又は5本の指による前記所定時間の押圧の少なくとも1つを検出することを含む、請求項1又は2に記載の方法。
【請求項5】
前記所定時間にわたって前記タッチスクリーンに押し当てられた2本以上の指を使用した前記所定の複数の指のジェスチャを検出する前記ステップは、制限時間内に複数の指を使用したダブルタッチを検出することを含む、請求項1又は2に記載の方法。
【請求項6】
前記所定時間にわたって前記タッチスクリーンに押し当てられた2本以上の指を使用した前記所定の複数の指のジェスチャを検出する前記ステップは、ステアリングホイールの回転又は前記車両の角度が道路上で所定の角度を超えたことの検出の少なくとも一方に応じて、前記所定の複数の指のジェスチャに対応する所定の出力を無効にすることを含む、請求項1又は2に記載の方法。
【請求項7】
前記車両が移動しているという判定に応じて、前記タッチスクリーン上の視覚的相互作用を停止し、前記所定時間にわたって前記タッチスクリーン上の前記所定の複数の指のジェスチャの検出を有効にするステップをさらに含む、請求項1又は2に記載の方法。
【請求項8】
車両において複数の指のジェスチャによるユーザインターフェース制御を提供するための装置であって、
コンピュータ可読命令を記憶するメモリと、
前記メモリに接続されたプロセッサであって、前記コンピュータ可読命令を実行して、
所定の機能制御と、所定時間にわたってタッチスクリーンに押し当てられた少なくとも2本の指を使用した所定の複数の指のジェスチャとの間の関係を登録し、
前記所定時間にわたって前記タッチスクリーンに押し当てられた少なくとも2本の指を使用した前記所定の複数の指のジェスチャを検出し、
前記所定の複数の指のジェスチャに対応する前記所定の機能制御を生成するための操作を実施するように構成される、プロセッサと、
を具備する、装置。
【請求項9】
前記プロセッサは、前記所定の複数の指のジェスチャに少なくとも1つのアクションを割り当て、且つ前記少なくとも1つのアクションを起動するために前記少なくとも2本の指が前記タッチスクリーンに押し当てられる前記所定時間を設定することによって、前記所定の機能制御と、前記所定時間にわたって前記タッチスクリーンに押し当てられた少なくとも2本の指を使用した前記所定の複数の指のジェスチャとの間の関係を登録するようにさらに構成される、請求項8に記載の装置。
【請求項10】
前記プロセッサは、所定の動きと組み合わされた、複数の指を使用した前記所定時間の押圧を検出することによって、前記所定の複数の指のジェスチャを検出するようにさらに構成される、請求項8又は9に記載の装置。
(【請求項11】以降は省略されています)
発明の詳細な説明
【技術分野】
【0001】
本明細書は、複数の指のジェスチャを使用して車両内のタッチスクリーンを制御するためのユーザインターフェースを提供することに関する。
続きを表示(約 2,400 文字)
【背景技術】
【0002】
入出力(I/O)とは、情報をコンピュータに送信するプロセスであり、コンピュータが物理世界と相互作用するプロセスである。タッチ式の入出力(I/O)インターフェースが、スマートフォン、タブレット及びラップトップなどの多くの種類のデバイスに搭載されており、日常生活のさまざまな側面に浸透している。例えば、人がスマートフォン又はタブレットのアプリケーションを介して社会的相互作用を組織し且つ行うことが現在は一般的になっている。さらに、企業では、タッチ式のデバイスを使用して、任意の数の他の用途の間で従業員と通信し、仕事を監視し、プロジェクトデータを確認することが多い。
【0003】
典型的には、タッチ式のデバイスがタッチ式のオペレーティングシステムを実行する。このオペレーティングシステムは、本質的にタッチ式の入力を利用してオペレーティングシステムとの相互作用を制御する。このようなデバイスは有用で価値があるが、同じ制限がある。即ち、一次的なレベルでは、ユーザがデバイスと直接手動で相互作用する必要がある。
【0004】
タッチスクリーン技術の普及により、対話型ディスプレイが現代の車両環境に統合されつつある。今日の車両には、ますます多くのセンサ、アクチュエータ及び周辺機器が搭載されている。I/Oの急速な増加により、電気及び電子アーキテクチャへの新たな手法を使用する高度な複雑さが生じている。
【0005】
人間のタッチ式I/Oの一般的な例では、乗員が暖房を上げたり、音楽を再生したり、座席の位置を調整したり、窓を下ろしたり、車両部品を制御したりすることができる。しかし、道路状況及び運転状況により、そのようなディスプレイでのユーザ入力は、誤った選択及び危険な運転事象につながることがよくある。多くの法律では、運転者が運転中に携帯デバイスを使用することを禁止している。このため、タッチスクリーンを備えたデバイスが、多くの場合、運転者の近くに取り付けられている。運転中に運転者が操作しにくい位置にタッチスクリーンが設置されている場合もある。さらに、タッチスクリーンを見なければならないということは、運転者が進行方向を見ていないということであるため、危険である。このため、タッチスクリーンを備えたデバイスを運転中に操作すると、車両の運転者及び車両の他の乗員に対する危険が増大する可能性がある。
【発明の概要】
【0006】
少なくとも一つの実施形態では、車両において複数の指のジェスチャによるユーザインターフェース制御を提供する方法は、所定の機能制御と、所定時間にわたってタッチスクリーンに押し当てられた少なくとも2本の指を使用した所定の複数の指のジェスチャとの間の関係を登録するステップと、所定時間にわたってタッチスクリーンに押し当てられた少なくとも2本の指を使用した所定の複数の指のジェスチャを検出するステップと、所定の複数の指のジェスチャに対応する所定の機能制御を生成するステップと、を含む。
【0007】
少なくとも1つの実施形態では、車両において複数の指のジェスチャによるユーザインターフェース制御を提供するための装置は、コンピュータ可読命令を保存するメモリと、メモリに接続されたプロセッサと、を含み、プロセッサは、コンピュータ可読命令を実行して、所定の機能制御と、所定時間にわたってタッチスクリーンに押し当てられた少なくとも2本の指を使用した所定の複数の指のジェスチャとの間の関係を登録し、所定時間にわたってタッチスクリーンに押し当てられた少なくとも2本の指を使用した所定の複数の指のジェスチャを検出し、所定の複数の指のジェスチャに対応する所定の機能制御を生成するための操作を実施するように構成される。
【0008】
少なくとも1つの実施形態では、非一時的なコンピュータ可読媒体にコンピュータ可読命令が記憶される。命令は、プロセッサによって実行されると、所定の機能制御と、所定時間にわたってタッチスクリーンに押し当てられた少なくとも2本の指を使用した所定の複数の指のジェスチャとの間の関係を登録するステップと、所定時間にわたってタッチスクリーンに押し当てられた少なくとも2本の指を使用した所定の複数の指のジェスチャを検出するステップと、所定の複数の指のジェスチャに対応する所定の機能制御を生成するステップと、を含む操作をプロセッサに実施させる。
【図面の簡単な説明】
【0009】
図1は、少なくとも1つの実施形態によるタッチスクリーン入出力デバイスを有する車両を示す。
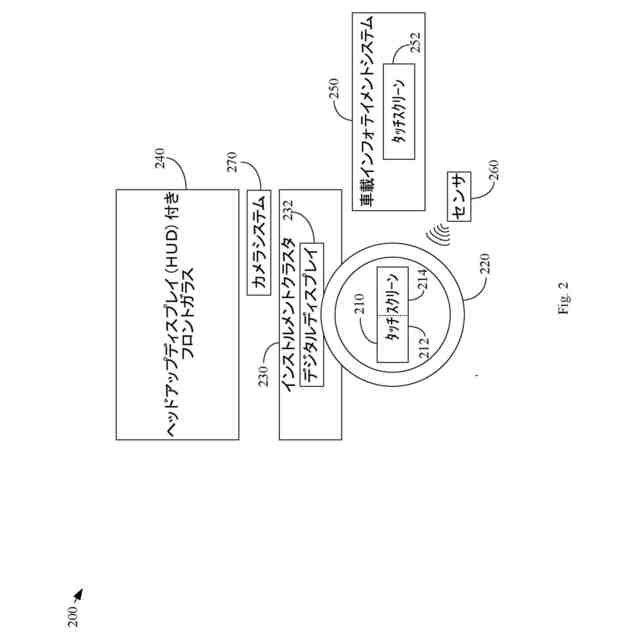
図2は、少なくとも1つの実施形態による第2の車両コックピットの正面図である。
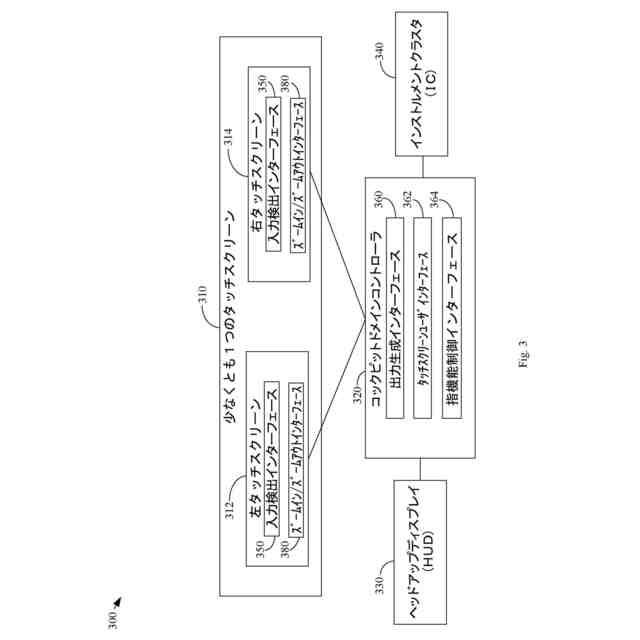
図3は、少なくとも1つの実施形態による複数の指のジェスチャシステムのブロック図である。
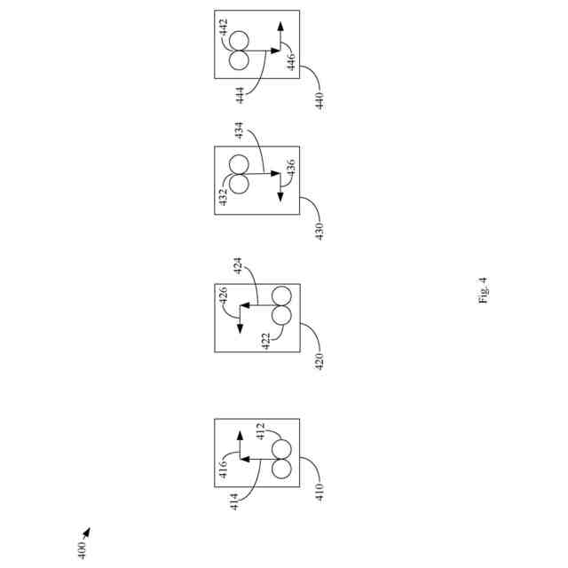
図4は、少なくとも1つの実施形態による第1のタイプの複数の指のジェスチャを示す。
図5は、少なくとも1つの実施形態による第2のタイプの複数の指のジェスチャを示す。
図6は、少なくとも1つの実施形態による第3のタイプの複数の指のジェスチャを示す。
図7は、少なくとも1つの実施形態による車両内のタッチスクリーンを介してユーザインターフェース制御を提供する方法のフローチャートである。
図8は、少なくとも1つの実施形態によるプロセッサベースのシステムの高レベル機能ブロック図である。
【発明を実施するための形態】
【0010】
本開示の特定の例示的な実施形態の特徴、態様及び利点を、添付の図面を参照して以下に説明する。添付の図面では、類似の参照番号が類似の要素を示す。
(【0011】以降は省略されています)
この特許をJ-PlatPat(特許庁公式サイト)で参照する
関連特許
トヨタ自動車株式会社
電池
11日前
トヨタ自動車株式会社
車両
1か月前
トヨタ自動車株式会社
車両
1か月前
トヨタ自動車株式会社
配管
20日前
トヨタ自動車株式会社
電池
11日前
トヨタ自動車株式会社
車体
1か月前
トヨタ自動車株式会社
方法
1か月前
トヨタ自動車株式会社
車両
20日前
トヨタ自動車株式会社
電池
1か月前
トヨタ自動車株式会社
車両
19日前
トヨタ自動車株式会社
電池
25日前
トヨタ自動車株式会社
方法
1か月前
トヨタ自動車株式会社
車両
1か月前
トヨタ自動車株式会社
車両
1か月前
トヨタ自動車株式会社
車両
1か月前
トヨタ自動車株式会社
治具
1か月前
トヨタ自動車株式会社
方法
4日前
トヨタ自動車株式会社
電池
1か月前
トヨタ自動車株式会社
車両
5日前
トヨタ自動車株式会社
電池
19日前
トヨタ自動車株式会社
車両
1か月前
トヨタ自動車株式会社
蓄電池
1か月前
トヨタ自動車株式会社
サーバ
1か月前
トヨタ自動車株式会社
モータ
1か月前
トヨタ自動車株式会社
ロータ
20日前
トヨタ自動車株式会社
電動車
19日前
トヨタ自動車株式会社
モータ
1か月前
トヨタ自動車株式会社
タンク
4日前
トヨタ自動車株式会社
電動車
20日前
トヨタ自動車株式会社
制御装置
19日前
トヨタ自動車株式会社
制御装置
20日前
トヨタ自動車株式会社
蓄電セル
1か月前
トヨタ自動車株式会社
蓄電装置
19日前
トヨタ自動車株式会社
電池装置
1か月前
トヨタ自動車株式会社
判定装置
19日前
トヨタ自動車株式会社
蓄電装置
1か月前
続きを見る
他の特許を見る