TOP
|
特許
|
意匠
|
商標
特許ウォッチ
Twitter
他の特許を見る
10個以上の画像は省略されています。
公開番号
2025178117
公報種別
公開特許公報(A)
公開日
2025-12-05
出願番号
2025040696
出願日
2025-03-13
発明の名称
車両の間接視覚システムのメンテナンスシステム及びメンテナンス方法
出願人
メクラ・ラング・ゲーエムベーハー・ウント・コー・カーゲー
,
MEKRA Lang GmbH & Co. KG
代理人
弁理士法人IPX
主分類
B60R
1/26 20220101AFI20251128BHJP(車両一般)
要約
【課題】車両の間接視覚システムのメンテナンスシステム及びかかる間接視覚システムのメンテナンス方法を提供する。
【解決手段】車両(1)において、間接視覚システム(2)は、車両の環境の画像データを取得する少なくとも1つの光学センサユニット(3)と、光学センサユニット(3)が取得した画像データを処理する少なくとも1つの処理ユニット(9)と、少なくとも1つの表示ユニット(4)と、を備え、表示ユニット(4)には、処理ユニット(9)が処理した前記画像データが表示される。メンテナンスシステムはまた、受信ユニット(6)が受信したデータに基づいて、間接視覚システム全体がまだ使用可能であることを示すメンテナンス信号を生成する評価ユニット(10)を備える。
【選択図】図2
特許請求の範囲
【請求項1】
車両の間接視覚システムのためのメンテナンスシステムであって、
前記間接視覚システムと、受信ユニットと、評価ユニットとを備え、
前記間接視覚システムは、
前記車両の環境の画像データを取得する少なくとも1つの光学センサユニットと、
前記光学センサユニットによって取得された前記画像データを処理する少なくとも1つの処理ユニットと、
前記処理ユニットによって処理された前記画像データが表示される少なくとも1つの表示ユニットとを備え、
ここで、前記少なくとも1つの光学センサユニット、前記少なくとも1つの処理ユニット、及び前記少なくとも1つの表示ユニットのうちの少なくとも1つは、少なくとも1つのサブコンポーネントを含み、
前記受信ユニットは、データを受信し、
前記評価ユニットは、前記受信ユニットにより受信された前記データに基づいて、前記少なくとも1つのサブコンポーネント、前記少なくとも1つの光学センサユニットと前記少なくとも1つの処理ユニットと前記少なくとも1つの表示ユニットとのうちの少なくとも1つ、及び/又は前記間接視覚システム全体が、まだ使用可能な期間及び/又は使用可否を示すメンテナンス信号を生成する、システム。
続きを表示(約 2,000 文字)
【請求項2】
請求項1に記載のメンテナンスシステムにおいて、
少なくとも1つの車両センサ、及び/又は少なくとも1つの追加センサ、をさらに備え、
前記少なくとも1つの車両センサは、車両データを前記受信ユニットに送信し、
前記車両データは、前記車両、前記少なくとも1つのサブコンポーネント、及び/又は前記少なくとも1つの光学センサユニットと前記少なくとも1つの処理ユニットと前記少なくとも1つの表示ユニットとのうちの少なくとも1つの、寿命期間に関連し、
前記少なくとも1つの追加センサは、前記受信ユニットに環境データを送信し、前記環境データは、前記車両に対して独立しており、環境的な要因に依存する、メンテナンスシステム。
【請求項3】
請求項2に記載のメンテナンスシステムにおいて、
前記少なくとも1つの光学センサユニット、前記少なくとも1つの処理ユニット、前記少なくとも1つの表示ユニット、及び/又は前記少なくとも1つのサブコンポーネントは、前記少なくとも1つの追加センサを備える、メンテナンスシステム。
【請求項4】
請求項2に記載のメンテナンスシステムにおいて、
前記車両データは、
前記車両の走行キロメートル、
前記少なくとも1つのサブコンポーネント、前記光学センサユニットと前記処理ユニットと前記表示ユニットとのうちの少なくとも1つ、及び/又は前記間接視覚システム全体の動作中における前記車両の走行キロメートル、
前記車両の動作時間、
前記光学センサユニットと前記処理ユニットと前記表示ユニットのうちの少なくとも1つにおける前記少なくとも1つのサブコンポーネント、及び/又は前記車両の動作中における前記間接視覚システム全体の動作時間、及び/又は
車両コンポーネントに発生したエラーについての情報を含む、メンテナンスシステム。
【請求項5】
請求項2に記載のメンテナンスシステムにおいて、
前記環境データは、
前記少なくとも1つのサブコンポーネントと前記少なくとも1つの光学センサユニットと前記処理ユニットと前記表示ユニットとのうちの少なくとも1つ、及び/又は前記間接視覚システム全体が影響を受ける、温度、湿度、気圧、紫外線照射、塵埃、微細塵埃(特定の物質)、及び/又は機械的負荷についての情報を含む、メンテナンスシステム。
【請求項6】
請求項1に記載のメンテナンスシステムにおいて、
前記評価ユニットは、計算ユニットをさらに備え、
前記計算ユニットは、前記受信ユニット、前記少なくとも1つの車両センサ、及び/又は前記少なくとも1つの追加センサから受信した、前記車両データ及び/又は環境データの少なくとも一部を計算関数又は計算行列に適用し、計算された値に基づいて前記メンテナンス信号を生成し、
ここで、前記計算関数又は前記計算行列は、受信した前記車両データ及び/又は前記環境データの少なくとも一部を関数パラメータ又は行列要素として含む、メンテナンスシステム。
【請求項7】
請求項1に記載のメンテナンスシステムにおいて、
複数のメンテナンス信号が使用され計算され、その結果として得られる前記メンテナンス信号は、前記少なくとも1つのサブコンポーネント、前記少なくとも1つの光学センサユニットと前記少なくとも1つの処理ユニットと前記少なくとも1つの表示ユニットとのうちの少なくとも1つ、及び/又は前記間接視覚システム全体がまだ使用可能な期間を示す、メンテナンスシステム。
【請求項8】
請求項1に記載のメンテナンスシステムにおいて、
前記評価ユニットは、カウンタと、比較ユニットとを備え、
前記受信ユニットによって受信された前記データ、及び/又は計算若しくは処理されたデータは、閾値と比較され、前記閾値が超えられた場合に前記カウンタがインクリメントする、メンテナンスシステム。
【請求項9】
請求項8に記載のメンテナンスシステムにおいて、
前記評価ユニットは、前記カウンタの値に基づいて前記メンテナンス信号を生成する、メンテナンスシステム。
【請求項10】
請求項9に記載のメンテナンスシステムにおいて、アクション推奨ユニットをさらに備え、
前記アクション推奨ユニットは、
前記評価ユニットから前記メンテナンス信号を受信し、
前記カウンタの値に基づいてアクション信号を生成し、
出力のために前記少なくとも1つの表示ユニット、診断装置、及び/又はクラウドに前記アクション信号を送信する、メンテナンスシステム。
(【請求項11】以降は省略されています)
発明の詳細な説明
【技術分野】
【0001】
本発明は、車両の間接視覚システムのメンテナンスシステム、及びかかる間接視覚システムのメンテナンス方法に関する。
続きを表示(約 3,200 文字)
【背景技術】
【0002】
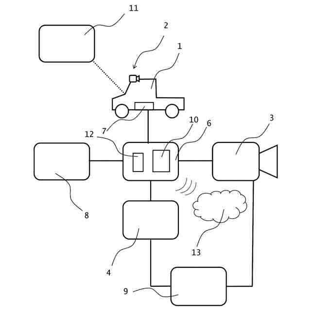
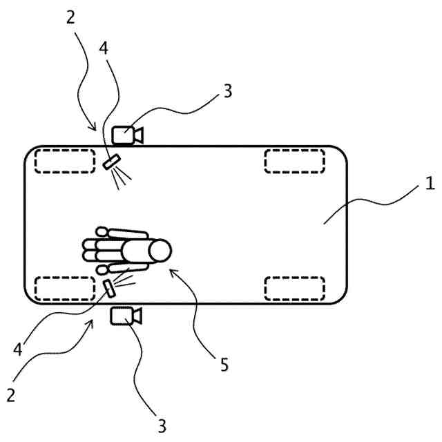
車両、特にトラックのような商用車に関しては、ドライバーの位置から直接見ることができない領域が車両の周囲にある。トラックの場合、そのような車両周辺の領域は、例えば、車両の後部領域や側部領域である。このようなエリアにいる他の道路利用者や障害物を常に確認できるようにするため、ミラーを用いたシステムやカメラを用いたシステムなどのいわゆるカメラ監視システムのような、間接視覚装置が車両に装備されている。
【0003】
撮像ユニット、計算ユニット、及び表示ユニットを含む自動車用カメラモニタシステムが知られている。撮像ユニット、例えばカメラは、車両の周囲を撮像するために用いられ、必要な場合は計算ユニットによる処理の後、撮像された画像は、運転者が見ることができるように、車両の運転室の表示ユニットに表示される。このような間接視覚システムは法的規制の対象となり、一般的に従来のミラーに代替するため、特にフェールセーフでなければならない。このようなフェールセーフ動作を保証するため、従来は間接視覚システムに不具合が発生した場合、システム全体を取り外し、交換していたが、通常はキャプチャ・ユニットなど、間接視覚システムのサブコンポーネントにのみ不具合が発生する。さらに、取り外された部品は、その摩耗及び損傷、又はサブコンポーネントのメーカーが指定する残りの寿命期間が十分な確度で判断できないため、通常は廃棄され、リサイクルされない。
【0004】
さらに、苦情があった場合、間接視覚システムのどのコンポーネントが再利用できるのか、或いは交換する必要がないのかを判断することはできない。そのため、苦情があった場合、通常はシステム全体を取り外し、交換することになるが、これは持続可能ではない。
【0005】
さらに、可能な限り最高の信頼性を確保することが望ましく、可能であれば、視覚システムの各コンポーネントを交換する必要がある場合には、視覚システムの各コンポーネントにおける予測された寿命期間に達する視覚システム全体がすぐに故障するおそれがあるため、寿命期間に達する前に情報を提供することが望ましい。
【発明の概要】
【発明が解決しようとする課題】
【0006】
本発明の目的は、上記の問題を解決し、間接視覚システムに苦情や欠陥が発生した場合に、間接視覚システムの個々のコンポーネントのみを取り外したり、取り外した間接視覚システムの部品を他の間接視覚システムに再装着することにより、持続性を向上させることにある。しかし、そのためには、間接視覚システムの各コンポーネントがどれくらいの期間、使用可能であるか否かを判断しなければならない。
【課題を解決するための手段】
【0007】
上記目的は、態様1に記載のメンテナンスシステム及び態様15に記載の間接視覚システムのメンテナンス方法によって解決される。本発明の有利なさらなる発展形態は、従属請求項に記載されている。
【0008】
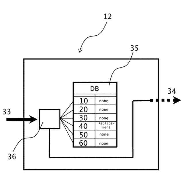
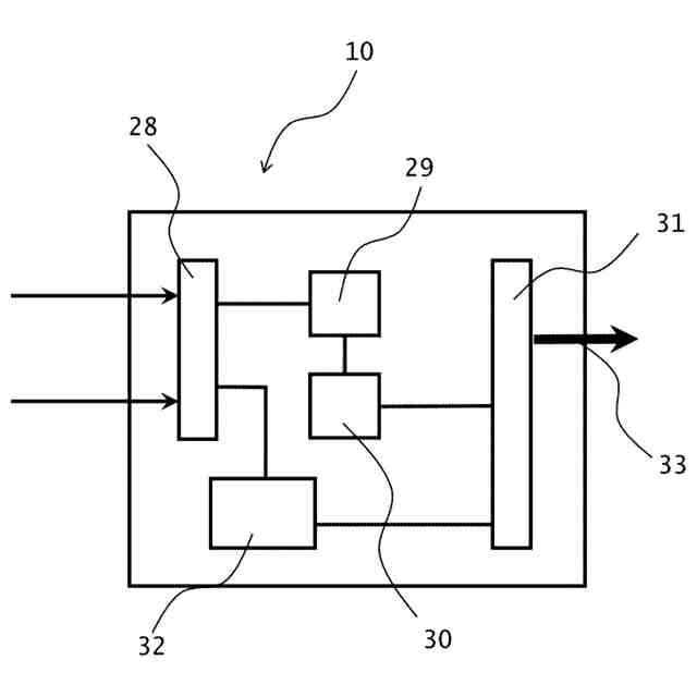
本発明に係る車両の間接視覚システムのためのメンテナンスシステムは、前記車両の環境の画像データを取得する少なくとも1つの光学センサユニットと、前記光学センサユニットによって取得された前記画像データを処理する少なくとも1つの処理ユニットと、前記処理ユニットによって処理された前記画像データが表示(出力)される少なくとも1つの表示ユニット(出力ユニット)とを備える、前記間接視覚システムを備える。また、表示ユニットによって表示される画像データは、処理ユニットによる事前の処理を行わずに表示ユニットに表示させることもできる。本発明によれば、処理ユニットは、間接視覚システムの別個のユニットであってもよいし、少なくとも1つの光学センサユニット及び/又は少なくとも1つの表示ユニットの一部であってもよい。これにより、間接視覚システムをよりコンパクトに形成することができる。
【0009】
本発明に係るメンテナンスシステムは、さらに受信ユニットを備え、前記受信ユニットは、データを受信し、当該データを、受信された前記データに基づいてメンテナンス信号を生成する評価ユニットに送信する。本発明によれば、受信ユニットは、評価ユニット、表示ユニット、及び/又は光学センサユニットの一部であってもよく、別個のコンポーネントとして設計されてもよい。このメンテナンス信号は、光学センサユニット、処理ユニット、及び/又は再生ユニットのサブコンポーネントの使用可能な期間、及び/又は使用可否を示す。したがって、メンテナンス信号は、サブコンポーネントの磨耗及び損傷を示す指標となる。また、メンテナンス信号は、光学センサユニット、処理ユニット及び/又は再生ユニットがまだ使用可能な期間及び/又は使用可否を示すこともできる。メンテナンス信号は、間接視覚システム全体がまだ使用することができる期間及び/又は使用可否を示すこともできる。これにより、光学センサユニット、処理ユニット及び/又は表示ユニット、或いはそれらのサブコンポーネントがまだ使用可能であるか否か、すなわち、例えば別の間接視覚システムに再装着可能であるか否か、を判断することが可能になる。メンテナンス信号は、間接視覚システムの個々のユニット(光学センサユニット、処理ユニット、及び表示ユニット)及び/又はそれらのサブコンポーネントがどの程度磨耗しているかを判断するためにも使用することができる。したがって、メンテナンス信号を使用することで、個々のサブコンポーネントが再利用可能であるか否か、ユニット全体(光学センサユニット、処理ユニット、表示ユニット)が再利用可能であるか否か、或いは間接視覚システム全体を廃棄しなければならないか、などを判断することができる。
【0010】
本発明によれば、受信ユニットによって受信されたデータは、少なくとも1つの車両センサによって取得される。前記データは、前記車両、前記少なくとも1つのサブコンポーネント、及び/又は前記少なくとも1つの光学センサユニットと前記少なくとも1つの処理ユニットと前記少なくとも1つの表示ユニットとのうちの少なくとも1つの、寿命期間に関連する車両データである。車両の寿命期間、又は間接視覚システムの個々のユニットとそのサブコンポーネントの寿命期間に関連するデータは、車両の制御ユニットからも提供することもでき、制御ユニットは、車両に関する対応する情報(車両データ)を供給する。この場合、制御ユニットは、それ自体が車両センサとなっていても、別の部品となってもよいこのような車両関連データは、例えば、前記車両の走行キロメートル、各サブコンポーネント、前記光学センサユニットと前記処理ユニットと前記表示ユニットとのうちの少なくとも1つ、及び/又は前記間接視覚システム全体の動作中における前記車両の走行キロメートル、前記車両の動作時間、前記光学センサユニットと前記処理ユニットと前記表示ユニットのうちの少なくとも1つにおける各サブコンポーネント、及び/又は前記車両の動作中における前記間接視覚システム全体の動作時間、及び/又は車両コンポーネントに発生したエラーについての情報を含む。車両コンポーネントに発生したこのような故障は、センサによって取得される内部信号、例えば、電圧値、電圧ジャンプ、電圧ピーク、スイッチングサイクルなど、によって検出することができる。本発明によれば、受信ユニットによって受信されるデータは、間接視覚システムの内部データ、例えば、間接視覚システムで発生した信号、電圧ピーク、スイッチングサイクルなど、及び/又は外部信号とすることができる。
(【0011】以降は省略されています)
この特許をJ-PlatPat(特許庁公式サイト)で参照する
関連特許
個人
タイヤレバー
4か月前
個人
前輪キャスター
3か月前
個人
上部一体型自動車
2か月前
個人
ルーフ付きトライク
4か月前
個人
空間形成装置
1か月前
個人
ホイルのボルト締結
5か月前
個人
タイヤ脱落防止構造
3か月前
個人
車両通過構造物
4か月前
個人
マスタシリンダ
2か月前
日本精機株式会社
表示装置
4か月前
日本精機株式会社
表示装置
3か月前
日本精機株式会社
表示装置
4か月前
日本精機株式会社
表示装置
4か月前
日本精機株式会社
照明装置
1か月前
個人
アクセルのソフトウェア
5か月前
個人
乗合路線バスの客室装置
4か月前
個人
常設収納型サンバイザー
1か月前
個人
車両用スリップ防止装置
5か月前
日本精機株式会社
画像投映装置
2か月前
個人
回転窓ワイパー装置
1か月前
株式会社豊田自動織機
産業車両
4か月前
株式会社ニフコ
収納装置
3か月前
個人
車載小物入れ兼雨傘収納具
5か月前
個人
円湾曲ホイール及び球体輪
4か月前
日本精機株式会社
車載表示装置
5か月前
日本精機株式会社
車載表示装置
1か月前
個人
音声ガイド、音声サービス
4か月前
株式会社ニフコ
照明装置
3か月前
日本精機株式会社
車載表示装置
1か月前
日本精機株式会社
車載表示装置
2か月前
株式会社豊田自動織機
産業車両
1か月前
日本精機株式会社
車室演出装置
3か月前
株式会社ニフコ
保持装置
5か月前
日本精機株式会社
車載表示装置
1か月前
個人
音による速度計とプログラム
1か月前
日本精機株式会社
車両用投射装置
2か月前
続きを見る
他の特許を見る