TOP
|
特許
|
意匠
|
商標
特許ウォッチ
Twitter
他の特許を見る
10個以上の画像は省略されています。
公開番号
2025178112
公報種別
公開特許公報(A)
公開日
2025-12-05
出願番号
2025035604
出願日
2025-03-06
発明の名称
超リッチコンテンツを有するオブジェクトのN次元表現のための新規データタイプ
出願人
ザ・ボーイング・カンパニー
代理人
個人
,
個人
,
個人
主分類
G06T
7/00 20170101AFI20251128BHJP(計算;計数)
要約
【課題】複合チャージをパンチ形成することを提供する。
【解決手段】データ強化ボクセルの生成が提供される。本方法は、3次元(3D)オブジェクトの画像データを受信するステップを含む。3Dオブジェクト内でいくつかのキー頂点が検出され、各キー頂点に対して部品表(BOM)が作成される。次いで、各キー頂点についてのBOMは、生産データ及びセンサデータで強化され、各キー頂点についての強化されたBOMは、3Dオブジェクトの周囲の定義された領域内の環境条件を記述する。各キー頂点についての強化されたBOMは、次いで、強化されたBOMからのすべてのデータを含む2次元(2D)ピクセルを生成するそれぞれのニューラルネットワークに供給され、2Dピクセルは2Dピクセルのテンソルの一部を形成する。
【選択図】図1
特許請求の範囲
【請求項1】
データ強化ボクセルを生成するためのコンピュータ実装方法であって、
いくつかのプロセッサを使用して、
3次元(3D)オブジェクト(102)の画像データを受信するステップ(902)と、
前記3Dオブジェクト内のいくつかのキー頂点(104)を検出するステップ(904)と、
各キー頂点についての部品表(BOM)(110)を作成するステップ(906)と、
各キー頂点についての前記BOMを生産データ(128、130)及びセンサデータ(132)で強化するステップ(908)であって、各キー頂点についての前記強化されたBOMは、前記3Dオブジェクトの周囲の定義された領域内の環境条件を記述する、ステップと、
各キー頂点についての前記強化されたBOM(112)を、前記強化されたBOMからのすべてのデータを含む2次元(2D)ピクセル(118)を生成するそれぞれのニューラルネットワーク(116)に供給するステップ(910)であって、前記2Dピクセルは2Dピクセルのテンソル(122)の一部を形成する、ステップと、を含む、方法。
続きを表示(約 1,300 文字)
【請求項2】
前記2Dピクセルを入力として用いて下流ニューラルネットワーク(124)を訓練するステップ(912)を更に含む、請求項1に記載の方法。
【請求項3】
前記2Dピクセル内のデータに従ってコンピュータ支援製造プロセスを実行するステップ(914)を更に含む、請求項1に記載の方法。
【請求項4】
それぞれのニューラルネットワークによって、強化されたBOM内の他のデータ値に基づいて、その強化されたBOMの欠落データ値を予測するステップを更に含む、請求項1に記載の方法。
【請求項5】
前記生産データは、
材料、
サプライヤ、
表面粗さ、
コスト、
処理時間、
検査、
各場所での指定された特徴、
飛行機座標系データ、又は
幾何学的基準による製造指示のうちの少なくとも1つを含む、請求項1に記載の方法。
【請求項6】
前記センサデータは、
赤、緑、青(RGB)、
タイムスタンプ、
熱画像層、
湿度、又は
6自由度(DOF)追跡データのうちの少なくとも1つを含む、請求項1に記載の方法。
【請求項7】
前記強化されたBOMは、指定されたセンサデータへのアクセスを制限するためのプライバシーデータを更に含む、請求項1に記載の方法。
【請求項8】
データ強化ボクセルを生成するためのシステムであって、
プログラム命令を記憶するストレージデバイスと、
前記ストレージデバイスに動作可能に接続され、前記プログラム命令を実行して、前記システムに、
3次元(3D)オブジェクト(102)の画像データを受信させ(902)、
前記3Dオブジェクト内のいくつかのキー頂点(104)を検出させ(904)、
各キー頂点についての部品表(BOM)(110)を作成させ(906)、
各キー頂点についての前記BOMを生産データ(128、130)及びセンサデータ(132)で強化させ(908)、各キー頂点についての前記強化されたBOMは、前記3Dオブジェクトの周囲の定義された領域内の環境条件を記述し、
各キー頂点についての前記強化されたBOM(112)を、前記強化されたBOMからのすべてのデータを含む2次元(2D)ピクセル(118)を生成するそれぞれのニューラルネットワーク(116)に供給させ(910)、前記2Dピクセルは、2Dピクセルのテンソル(122)の一部を形成する、1つ又は複数のプロセッサとを備える、システム。
【請求項9】
前記1つ又は複数のプロセッサは、前記2Dピクセルを入力として下流ニューラルネットワーク(124)を訓練する(912)ためのプログラム命令を更に実行する、請求項8に記載のシステム。
【請求項10】
前記1つ又は複数のプロセッサは、前記2Dピクセル内のデータに従ってコンピュータ支援製造プロセスを前記システムに実行させる(914)ためのプログラム命令を更に実行する、請求項8に記載のシステム。
(【請求項11】以降は省略されています)
発明の詳細な説明
【技術分野】
【0001】
本開示は、一般に、データ処理に関し、より具体的には、異なるデータタイプのコヒーレントフォーマットへの統合に関する。
続きを表示(約 2,400 文字)
【背景技術】
【0002】
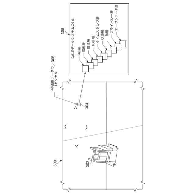
既存のデータフォーマットは、例えば視覚データ、時間情報、又は熱画像などの単一の次元に焦点を合わせることが多い。しかしながら、多くの現実のアプリケーションは、シナリオを理解するためにそのような次元の合成を要求する。例えば、自律型ビークルナビゲーションは、特に低照度条件又は困難な環境において、周囲を正確に解釈するために画像、正確なタイムスタンプ、熱データ、及び6自由度での追跡を必要とする場合がある。
【発明の概要】
【課題を解決するための手段】
【0003】
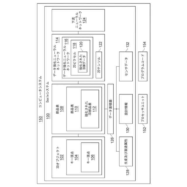
例示的な実施形態は、データ強化ボクセルを生成するためのコンピュータ実装方法を提供する。本方法は、3次元(3D)オブジェクトの画像データを受信するステップを含む。3Dオブジェクト内でいくつかのキー頂点が検出され、各キー頂点に対して部品表(BOM)が作成される。次いで、各キー頂点についてのBOMは、生産データ及びセンサデータで強化され、各キー頂点についての強化されたBOMは、3Dオブジェクトの周囲の定義された領域内の環境条件を記述する。各キー頂点についての強化されたBOMは、次いで、強化されたBOMからのすべてのデータを含む2次元(2D)ピクセルを生成するそれぞれのニューラルネットワークに供給され、2Dピクセルは2Dピクセルのテンソルの一部を形成する。
【0004】
別の例示的な実施形態は、データ強化ボクセルを生成するためのシステムを提供する。システムは、プログラム命令を記憶するストレージデバイスと、ストレージデバイスに動作可能に接続され、プログラム命令を実行して、システムに、3次元(3D)オブジェクトの画像データを受信させ、3Dオブジェクト内のいくつかのキー頂点を検出させ、各キー頂点についての部品表(BOM)を作成させ、各キー頂点についてのBOMを生産データ及びセンサデータで強化させ、各キー頂点についての強化されたBOMは、3Dオブジェクトの周囲の定義された領域内の環境条件を記述し、各キー頂点についての強化されたBOMを、強化されたBOMからのすべてのデータを含む2次元(2D)ピクセルを生成するそれぞれのニューラルネットワークに供給させ、2Dピクセルは2Dピクセルのテンソルの一部を形成する、1つ又は複数のプロセッサとを備える。
【0005】
別の例示的な実施形態は、データ強化ボクセルを生成するためのコンピュータプログラム製品を提供する。コンピュータプログラム製品は、3次元(3D)オブジェクトの画像データを受信するステップと、3Dオブジェクト内のいくつかのキー頂点を検出するステップと、各キー頂点についての部品表(BOM)を作成するステップと、各キー頂点についてのBOMを生産データ及びセンサデータで強化するステップであって、各キー頂点についての強化されたBOMは、3Dオブジェクトの周囲の定義された領域内の環境条件を記述するステップと、各キー頂点についての強化されたBOMを、強化されたBOMからのすべてのデータを含む2次元(2D)ピクセルを生成するそれぞれのニューラルネットワークに供給するステップであって、2Dピクセルは2Dピクセルのテンソルの一部を形成するステップと、を実行するために具現化されたプログラム命令を有するコンピュータ可読記憶媒体を備える。
【0006】
特徴及び機能は、本開示の様々な実施形態において単独で達成することができ、更に他の実施形態では組み合わされてもよく、さらなる詳細は、以下の説明及び図面を参照して理解することができる。
【0007】
例示的な実施形態の特徴であると考えられる新規の形態が、添付の特許請求の範囲に記載されている。しかしながら、例示的な実施形態、並びにそれらの好ましい使用の態様、さらなる目的、及び形態は、本開示の例示的な実施形態の以下の詳細な説明を参照し、添付の図面と併せて検討することによって、最もよく理解されよう。
【図面の簡単な説明】
【0008】
例示的な実施形態によるdaxleシステムのブロック図を示す。
例示的な実施形態による異なる寸法データ表現間の関係を示す。
例示的な実施形態によるピクセルデータ表現とdaxleデータ表現との間のコントラストを示す。
例示的な実施形態によるN次元データフォーマットの時間表現を示す。
例示的な実施形態による、そこからdaxleを生成することができる3D CADオブジェクトの一例を示す。
例示的な実施形態による3Dオブジェクトの各キー頂点についての部品表を作成するための表を示す。
例示的な実施形態によるN次元daxleデータの時間的な積み重ねを示す。
例示的な実施形態によるdaxleデータの消化及びその後の機械学習におけるその使用を示す。
例示的な実施形態によるデータ強化ボクセルを生成するためのプロセスを示すフローチャートを示す。
例示的な実施形態による、データ処理システムのブロック図である。
【発明を実施するための形態】
【0009】
例示的な実施形態は、既存のデータフォーマットが、例えば視覚データ、時間情報、又は熱画像などの単一の次元に焦点を合わせることが多いことを認識し、考慮に入れる。しかしながら、多くの現実のアプリケーションは、シナリオを理解するためにそのような次元の合成を要求する。
【0010】
例示的な実施形態は、高解像度画像、正確なタイムスタンプ、熱画像層、及び6自由度追跡情報を単一のまとまったパッケージ内にカプセル化するデータ構造を提供する。
(【0011】以降は省略されています)
この特許をJ-PlatPat(特許庁公式サイト)で参照する
関連特許
個人
詐欺保険
1か月前
個人
縁伊達ポイン
1か月前
個人
職業自動販売機
24日前
個人
5掛けポイント
1か月前
個人
RFタグシート
1か月前
個人
ペルソナ認証方式
1か月前
個人
QRコードの彩色
1か月前
個人
地球保全システム
2か月前
個人
自動調理装置
1か月前
個人
情報処理装置
1か月前
個人
立体グラフの利用方法
3日前
個人
残土処理システム
2か月前
個人
農作物用途分配システム
1か月前
個人
タッチパネル操作指代替具
1か月前
個人
知的財産出願支援システム
2か月前
NISSHA株式会社
入力装置
4日前
個人
インターネットの利用構造
1か月前
個人
サービス情報提供システム
26日前
個人
学習用データ生成装置
5日前
個人
携帯端末障害問合せシステム
1か月前
個人
スケジュール調整プログラム
1か月前
個人
食品レシピ生成システム
2か月前
個人
エリアガイドナビAIシステム
1か月前
株式会社キーエンス
受発注システム
2か月前
個人
海外支援型農作物活用システム
2か月前
株式会社キーエンス
受発注システム
2か月前
株式会社キーエンス
受発注システム
2か月前
個人
帳票自動生成型SaaSシステム
2か月前
キヤノン株式会社
情報処理装置
1か月前
キヤノン株式会社
印刷システム
1か月前
キラル株式会社
顧客体験提供システム
6日前
株式会社ケアコム
項目選択装置
1か月前
キヤノン株式会社
画像認識装置
18日前
キヤノン株式会社
情報処理装置
18日前
株式会社ケアコム
項目選択装置
1か月前
トヨタ自動車株式会社
通知装置
1か月前
続きを見る
他の特許を見る