TOP
|
特許
|
意匠
|
商標
特許ウォッチ
Twitter
他の特許を見る
10個以上の画像は省略されています。
公開番号
2025178077
公報種別
公開特許公報(A)
公開日
2025-12-05
出願番号
2024210149
出願日
2024-12-03
発明の名称
計算システム、処理方法、プロセス制御システム、及びプロセス制御方法
出願人
日本製鉄株式会社
代理人
個人
主分類
G06F
9/50 20060101AFI20251128BHJP(計算;計数)
要約
【課題】 計算処理の要求と実行とを確実かつ柔軟に行うことを可能にするロードバランス機能を実現する。
【解決手段】 計算システム1は、複数のフロントエンド計算機100と、フロントエンド計算機100から要求された計算処理を実行することにより得られた計算結果を当該フロントエンド計算機100に送信する複数のバックエンド計算機200と、がネットワーク5を介して接続されて構成される。フロントエンド計算機100は、複数のバックエンド計算機200のうちの2以上のバックエンド計算機に同じ計算処理の実行を要求する。計算処理の実行が要求された2以上のバックエンド計算機200のそれぞれは、計算余力がある場合に、それぞれ、フロントエンド計算機100から要求された計算処理を実行する。
【選択図】図1
特許請求の範囲
【請求項1】
複数のフロントエンド計算機と、
前記フロントエンド計算機から要求された計算処理を実行することにより得られた計算結果を当該フロントエンド計算機に送信する複数のバックエンド計算機と、
がネットワークを介して接続されており、
前記フロントエンド計算機は、前記複数のバックエンド計算機のうちの2以上のバックエンド計算機に同じ計算処理の実行を要求し、
前記2以上のバックエンド計算機のそれぞれは、計算余力がある場合に、前記フロントエンド計算機から要求された計算処理を実行する、計算システム。
続きを表示(約 1,700 文字)
【請求項2】
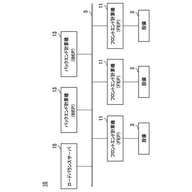
前記フロントエンド計算機は、設備を制御する装置であって、複数の設備それぞれに対応して設けられ、
前記バックエンド計算機は、前記フロントエンド計算機よりも高い演算処理能力を有する装置である、請求項1に記載の計算システム。
【請求項3】
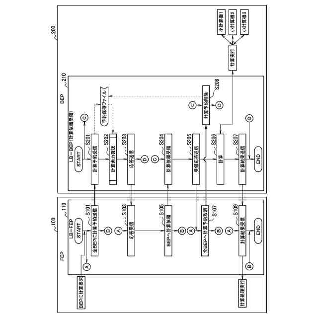
前記フロントエンド計算機は、計算処理の要求に先立ち、前記バックエンド計算機に対して計算予約を送信し、
前記バックエンド計算機は、前記計算予約を受信したときに当該計算予約の情報を記録しておくとともに、自計算機に計算余力があるか否か判定して、計算余力がある場合には予約受付応答を前記フロントエンド計算機に送信し、
前記フロントエンド計算機は、前記予約受付応答を送信した少なくとも1つのバックエンド計算機に対して計算処理の実行要求を送信し、
前記バックエンド計算機は、前記計算処理の実行要求を受信したとき、前記フロントエンド計算機に対して受領応答を送信した後、前記計算処理を実行して、前記フロントエンド計算機に対して計算結果を送信し、
前記フロントエンド計算機は、前記受領応答を受信したとき、前記バックエンド計算機に対して予約取消要求を送信し、
前記バックエンド計算機は、前記予約取消要求を受信したとき、記録しておいた前記計算予約の情報を削除する、請求項1または2に記載の計算システム。
【請求項4】
前記バックエンド計算機は、1または複数の演算処理部を有しており、
前記フロントエンド計算機から前記計算予約を受信したとき、計算余力がある演算処理部がある場合に前記フロントエンド計算機に対して予約受付応答を送信する、請求項3に記載の計算システム。
【請求項5】
前記バックエンド計算機は、
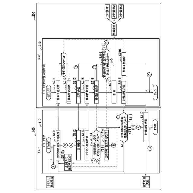
前記フロントエンド計算機に対して予約受付応答を送信した後、所定の時間内に前記計算処理の実行要求または前記予約取消要求を受信しなかった場合、
記録しておいた前記計算予約を削除し、
当該計算処理の計算予約を受信したときの処理から再度実行する、請求項3に記載の計算システム。
【請求項6】
前記フロントエンド計算機は、
前記計算処理の実行要求を送信した前記バックエンド計算機からの受領応答を所定の時間内に受信しなかった場合、または、前記バックエンド計算機から前記受領応答を受信した後、所定の時間内に計算結果を受領しなかった場合、
前記バックエンド計算機に対して計算予約を再度送信する、請求項3に記載の計算システム。
【請求項7】
前記バックエンド計算機は、
同一のフロントエンド計算機から異なる2つの計算予約を受信したとき、先に受信した計算予約の情報を、計算予約の予約順を特定可能な情報を除き、後に受信した計算予約の情報で上書きする、請求項3に記載の計算システム。
【請求項8】
前記フロントエンド計算機は、前記バックエンド計算機から前記受領応答を受信した後に前記計算処理に使用する計算用データの送信要求を受領したとき、当該計算用データを前記バックエンド計算機へ送信する、請求項3に記載の計算システム。
【請求項9】
前記バックエンド計算機は、それぞれ、計算処理の種別毎の実行可否を記憶しており、
前記フロントエンド計算機から前記計算予約を受信したとき、要求された計算処理の種別に基づいて当該計算処理の実行可否を判定し、当該計算処理の実行可能な場合に当該計算予約の情報を記録する、請求項3に記載の計算システム。
【請求項10】
前記バックエンド計算機は、異なる前記フロントエンド計算機からそれぞれ前記計算予約を受信し、要求されたそれぞれの計算処理を実行する計算余力がある場合に、
受信した計算予約のうち優先順位が最も高い計算予約を要求した前記フロントエンド計算機に対して予約受付応答を送信する、請求項3に記載の計算システム。
(【請求項11】以降は省略されています)
発明の詳細な説明
【技術分野】
【0001】
本発明は、計算システム、処理方法、プロセス制御システム、及びプロセス制御方法に関する。
続きを表示(約 2,800 文字)
【背景技術】
【0002】
複数の計算機で計算処理を分散する必要がある場合がある。例えば、設備を制御するにあたって高度な計算処理が必要な設備では、高い演算処理能力を有する計算機が必要となる。しかし、設備毎に高い演算処理能力を有する計算機を設置するにはコストがかかる。そこで、高度な計算処理を実行するための計算機を複数の設備で共用し、単純な計算処理については設備毎に設置される計算機(フロントエンド計算機)にて実行し、高度な計算処理については共用の計算機(バックエンド計算機)にて実行することが行われている。このような計算システムでは、フロントエンド計算機からの計算要求を共用のバックエンド計算機が万遍なく実行するには、両者の間で計算要求とその実行を制御する機能(ロードバランス機能)が重要となる。
【0003】
例えば、特許文献1には、要求元の端末と複数のターゲット端末がネットワーク接続された、リアルタイム対話のためのシステムが開示されている。要求元の端末は、ブロードキャストで要求を送信し、1または複数のターゲット端末から要求応答を受信し得る。ターゲット端末は、要求元の端末からの要求を保存し、要求応答を送信し得る。また、要求元の端末は、応答要求を受信するための期限が切れたとき、必要数の有効な応答要求を受信したとき等に、ブロードキャストにより全ての端末で削除要求指示を行うことが可能であり、ターゲット端末は、削除要求指示により要求を削除することができる。
【0004】
また、特許文献2には、複数のサーバと複数のクライアントが接続されたネットワークについての技術が開示されている。クライアントは、サーバに要求する処理の種類を特定するための処理識別子と、サーバが当該処理を実行するのに必要な負荷値である必要負荷値とを含む問合せメッセージをブロードキャストにより送信する。サーバは、受信した問合せメッセージに含まれる処理識別子及び必要負荷値と、自己の現在の負荷値とに基づいて、該処理を実行可能であるか否か判別し、実行可能であるときに問合せメッセージの送信元に対して処理可能メッセージを返信する。クライアントは、最初に受信した処理可能メッセージの送信元に対して処理の要求を行う。かかる技術により、ネットワーク回線に大きな負荷をかけることなく、同一処理を行うサーバ間で負荷を分散させる。
【先行技術文献】
【特許文献】
【0005】
特表2015-511457号公報
特開平7-152698号公報
【発明の概要】
【発明が解決しようとする課題】
【0006】
しかし、特許文献1に記載の技術では、ロードバランサーとして機能する対話システムは、要求元の端末と複数のターゲット端末との間でのリアルタイム対話を集中管理している。このような集中型のロードバランス機能は、端末の稼働中にロードバランサーを停止させることができない。このため、特許文献1に記載の技術では、例えば、ロードバランサーのメンテナンス時、ソフトウェア及びハードウェアの更新時、及び故障時に、要求元の端末から要求される計算処理を実行することができない虞がある。したがって、例えば、特許文献1に記載の技術は、化学プラント等のような連続して常時稼働する設備を制御するためのプロセス制御システムには適していない。
【0007】
一方、特許文献2に記載の技術は、集中型のロードバランス機能を用いず、クライアントとサーバとの対話によって、クライアントが要求する処理を実行するサーバを決定している。しかし、特許文献2に記載の技術は、プリンター(クライアント)でのプリント出力のための処理を、プリンター毎に設けられたプリントサーバ(サーバ)にて実行させるシステムを想定したものであり、クライアントの処理とプリントサーバの処理との分散を想定した技術ではない。このため、特許文献2に記載の技術では、例えば、プリントサーバの処理の結果をクライアントで利用することや、計算処理の出力先をクライアント側で制御することが容易ではない。したがって、特許文献2に記載の技術では、計算処理の要求と実行とを確実かつ柔軟に行うことができない虞がある。例えば化学プラント等のような連続して常時稼働する設備をリアルタイムで制御することが望まれるプロセス制御システムでは、プロセスの状態を入力として、当該プロセスの状態に基づく制御信号を、リアルタイムに当該プロセスに向けて出力することが必要であるため、プリントサーバの処理の結果をクライアントで利用することや、計算処理の出力先をクライアント側で制御することが必須であるところ、特許文献2に記載の技術では、これらのことを実現することは容易ではない。
【0008】
そこで、本発明は、以上の問題に鑑みてなされたものであり、本発明の目的とするところは、計算処理の要求と実行とを確実かつ柔軟に行うことを可能にするロードバランス機能を実現することにある。
【課題を解決するための手段】
【0009】
本発明のある観点によれば、複数のフロントエンド計算機と、前記フロントエンド計算機から要求された計算処理を実行することにより得られた計算結果を当該フロントエンド計算機に送信する複数のバックエンド計算機と、がネットワークを介して接続されており、前記フロントエンド計算機は、前記複数のバックエンド計算機のうちの2以上のバックエンド計算機に同じ計算処理の実行を要求し、前記2以上のバックエンド計算機のそれぞれは、計算余力がある場合に、前記フロントエンド計算機から要求された計算処理を実行する、計算システムが提供される。
【0010】
フロントエンド計算機は、計算処理の要求に先立ち、バックエンド計算機に対して計算予約を送信し、バックエンド計算機は、計算予約を受信したときに当該計算予約の情報を記録しておくとともに、自計算機に計算余力があるか否か判定して、計算余力がある場合には予約受付応答をフロントエンド計算機に送信し、フロントエンド計算機は、予約受付応答を送信した少なくとも1つのバックエンド計算機に対して計算処理の実行要求を送信し、バックエンド計算機は、計算処理の実行要求を受信したとき、フロントエンド計算機に対して受領応答を送信した後、計算処理を実行して、フロントエンド計算機に対して計算結果を送信し、フロントエンド計算機は、受領応答を受信したとき、バックエンド計算機に対して予約取消要求を送信し、バックエンド計算機は、予約取消要求を受信したとき、記録しておいた計算予約の情報を削除してもよい。
(【0011】以降は省略されています)
この特許をJ-PlatPat(特許庁公式サイト)で参照する
関連特許
日本製鉄株式会社
棒鋼
19日前
日本製鉄株式会社
棒鋼
19日前
日本製鉄株式会社
線材
1か月前
日本製鉄株式会社
鋳片
11日前
日本製鉄株式会社
鋼部品
19日前
日本製鉄株式会社
鋼部品
2か月前
日本製鉄株式会社
耐力壁
4日前
日本製鉄株式会社
鋼部品
2か月前
日本製鉄株式会社
橋脚構造
2か月前
日本製鉄株式会社
歯車装置
5日前
日本製鉄株式会社
溶接継手
1か月前
日本製鉄株式会社
溶接継手
25日前
日本製鉄株式会社
腐食センサ
2か月前
日本製鉄株式会社
鍛鋼ロール
2か月前
日本製鉄株式会社
鍛鋼ロール
2か月前
日本製鉄株式会社
高Ni合金鋼
2か月前
日本製鉄株式会社
高Ni合金鋼
2か月前
日本製鉄株式会社
管理システム
2か月前
日本製鉄株式会社
表面処理鋼材
11日前
日本製鉄株式会社
学習システム
2か月前
日本製鉄株式会社
機械構造用部品
20日前
日本製鉄株式会社
原油油槽用鋼材
1か月前
日本製鉄株式会社
溶鉄の製造方法
1か月前
日本製鉄株式会社
高炉の操業方法
2か月前
日本製鉄株式会社
溶鉄の製造方法
2か月前
日本製鉄株式会社
溶鉄の製造方法
1か月前
日本製鉄株式会社
鋼矢板の製造方法
2か月前
日本製鉄株式会社
鋼の連続鋳造方法
19日前
日本製鉄株式会社
鉄道車両用の台車
2か月前
日本製鉄株式会社
鉄鉱石の選別方法
2か月前
日本製鉄株式会社
スラグの処理方法
2か月前
日本製鉄株式会社
鋼の連続鋳造方法
2か月前
日本製鉄株式会社
金属材の製造方法
2か月前
日本製鉄株式会社
焼結鉱の製造方法
1か月前
日本製鉄株式会社
モールドパウダー
2か月前
日本製鉄株式会社
鉄道車両用の車軸
1か月前
続きを見る
他の特許を見る