TOP
|
特許
|
意匠
|
商標
特許ウォッチ
Twitter
他の特許を見る
10個以上の画像は省略されています。
公開番号
2025178069
公報種別
公開特許公報(A)
公開日
2025-12-05
出願番号
2024197951
出願日
2024-11-13
発明の名称
ジョイントLDPC及びRAID復号方式における最適化された復号スケジューリング
出願人
サンディスク テクノロジーズ インコーポレイテッド
,
Sandisk Technologies, Inc.
代理人
個人
主分類
H03M
13/37 20060101AFI20251128BHJP(基本電子回路)
要約
【課題】2つの異なる復号方式を実装する復号プロセスを提供する。
【解決手段】システム100において、データ記憶デバイスは、初期復号プロセスに失敗した2つ以上のフラッシュメモリユニット(FMU)がジョイント復号方式を使用して復号される復号スケジュールを決定する誤り訂正符号(ECC)順序付けシステムを含む。ECC順序付けシステムは、各FMUに関連付けられたメトリックに基づいて復号スケジュールを生成する。復号スケジュールの基礎となるメトリックは、各FMUに関連付けられたシンドローム重みであるか又は各FMUに関連付けられた結合ビット誤り率(BER)である。復号スケジュールが生成されると、ECC順序付けシステムは、復号スケジュールによって指定された順序でFMUに対してジョイント復号動作を実行させる。
【選択図】なし
特許請求の範囲
【請求項1】
方法であって、
データ記憶デバイスの誤り符号訂正システムによって実行された初期復号動作に失敗した、前記データ記憶デバイスに関連付けられた2つ以上のフラッシュメモリユニット(FMU)を識別することと、
前記2つ以上のFMUの各々に関連付けられたメトリックを決定することと、
前記2つ以上のFMUの各々に関連付けられた前記メトリックに少なくとも部分的に基づいて、前記2つ以上のFMUのための復号スケジュールを生成することと、
ジョイント復号方式を使用して、前記生成された復号スケジュールに基づいて、前記2つ以上のFMUのうちの第1のFMUに対してジョイント復号動作を実行することと、を含み、前記ジョイント復号方式は、第1の復号方式及び第2の復号方式を含む、方法。
続きを表示(約 1,400 文字)
【請求項2】
前記第1の復号方式は、低密度パリティ検査(LDPC)復号方式である、請求項1に記載の方法。
【請求項3】
前記第2の復号方式は、独立ダイの冗長アレイ(RAID)復号方式である、請求項1に記載の方法。
【請求項4】
前記2つ以上のFMUのうちの前記第1のFMUに対する前記ジョイント復号動作が成功したかどうかを判定することと、
前記2つ以上のFMUのうちの前記第1のFMUに対する前記ジョイント復号動作が成功したと判定したことに少なくとも部分的に基づいて、前記2つ以上のFMUのうちの第2のFMUに対して前記ジョイント復号動作を実行することと、
を更に含む、請求項1に記載の方法。
【請求項5】
前記2つ以上のFMUのうちの前記第1のFMUに対する前記ジョイント復号動作が成功したかどうかを判定することと、
前記2つ以上のFMUのうちの前記第1のFMUに対する前記ジョイント復号動作が不成功であったと判定したことに少なくとも部分的に基づいて、前記ジョイント復号動作を終了することと、
を更に含む、請求項1に記載の方法。
【請求項6】
前記メトリックは、前記2つ以上のFMUのうちの各FMUに関連付けられたシンドローム重みである、請求項1に記載の方法。
【請求項7】
前記メトリックは、前記2つ以上のFMUのうちの各FMUに関連付けられた結合ビット誤り率(BER)である、請求項1に記載の方法。
【請求項8】
前記2つ以上のFMUのうちの各FMUは、ストライプに関連付けられる、請求項1に記載の方法。
【請求項9】
データ記憶デバイスであって、
コントローラと、
前記コントローラに関連付けられた誤り訂正符号(ECC)システムと、
を備え、前記ECCシステムは、
ストライプに関連付けられたフラッシュメモリユニット(FMU)に対して初期復号動作を実行し、
任意のFMUが前記初期復号動作に失敗したかどうかを判定し、
2つ以上のFMUが前記初期復号動作に失敗したと判定したことに少なくとも部分的に基づいて、
前記2つ以上のFMUの各々に関連付けられたメトリックを決定し、
前記2つ以上のFMUの各々に関連付けられた前記メトリックに少なくとも部分的に基づいて、前記2つ以上のFMUの各々がジョイント復号方式であって、前記ジョイント復号方式は、第1の復号方式及び第2の復号方式を含む、ジョイント復号方式を使用してジョイント復号動作を受ける順序を決定し、
前記決定された順序で前記2つ以上のFMUに対して前記ジョイント復号動作を実行する、
ように動作可能である、データ記憶デバイス。
【請求項10】
前記ECCシステムは、
前記2つ以上のFMUのうちの第1のFMUに対する前記ジョイント復号動作が成功したかどうかを判定し、
前記2つ以上のFMUのうちの前記第1のFMUに対する前記ジョイント復号動作が成功したという判定に少なくとも部分的に基づいて、前記2つ以上のFMUのうちの第2のFMUに対して前記ジョイント復号動作を実行する、
ように更に動作可能である、請求項9に記載のデータ記憶デバイス。
(【請求項11】以降は省略されています)
発明の詳細な説明
【技術分野】
【0001】
データ記憶デバイスは、通常、データ記憶デバイスからデータが読み出されるときに発生する誤りを訂正するための誤り訂正機能を含む。例えば、データがデータ記憶デバイスに書き込まれるとき、データは、冗長情報を生成するために、誤り訂正符号(error correction code、ECC)低密度パリティ検査(low-density parity check、LDPC)エンコーダによって符号化される。冗長情報はパリティビットとして知られている。パリティビット及びデータは、ECCコードワードとして記憶される。
続きを表示(約 2,000 文字)
【0002】
ECCコードワードがデータ記憶デバイスから読み出されると、LDPCデコーダなどのデコーダは、コードワードを復号し、存在し得る任意の誤りを訂正する。通常、LDPCデコーダは、データ記憶デバイス上で発生するランダム誤りを訂正するために使用される。
【0003】
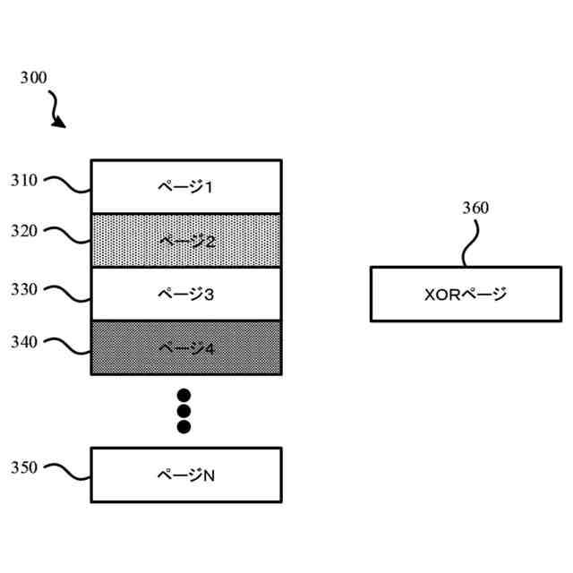
しかし、LDPCデコーダは、メモリの欠陥及び/又は失敗の結果として発生する可能性のある膨大な誤りを処理することができない。したがって、データ記憶デバイスは、物理的欠陥の結果として発生する誤りを処理することを目的とする独立ダイの冗長アレイ(redundant array of independent die、RAID)記憶方式を組み込むこともできる。例えば、RAID記憶方式は、第1のパリティ情報及び第2のパリティ情報とともに、複数の異なるソリッドステートドライブ(solid state drive、SSD)にわたって、又は単一のSSD内の複数の異なるメモリダイにわたってストライプでデータを分散させる。パリティ情報は、SSD又はメモリダイのうちの1つが失敗した場合に、ストライプ内のデータの回復を可能にする。
【0004】
いくつかの例では、誤りが訂正可能である可能性を高めるために、LDPC復号とRAID復号とが組み合わされる。例えば、複数のページが復号動作に失敗した場合、RAIDベースの復号方式がそのページに対して実装され、その後にLDPC復号方式が続く。このプロセスは、各失敗ページに対して反復される。
【0005】
しかしながら、初期復号プロセスが特定の失敗ページを復号又は訂正することに失敗した場合、特定のページが別の繰り返し中に正常に復号され得る可能性がある。例えば、別の失敗ページが正常に復号された場合には、現在訂正されたページに対応する情報を使用して、その特定の失敗ページにおける誤りを訂正することができる。このため、同一の失敗ページに対して複数の復号処理が実行される場合がある。しかし、同じページに対して復号処理を実行する度に、復号のレイテンシが増大する。
【0006】
したがって、2つの異なる復号方式を実装する復号プロセスのレイテンシを低減することが有益である。
【発明の概要】
【0007】
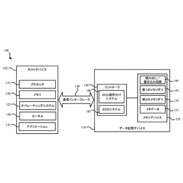
本開示は、データ記憶デバイスのための誤り訂正符号(ECC)順序付けシステムを説明する。一例では、ECC順序付けシステムは、データ記憶デバイスの誤り訂正符号(ECC)システムの一部であるか、又は別様でそれに関連付けられる。ECC順序付けシステムは、初期復号プロセスに失敗した2つ以上のフラッシュメモリユニット(flash memory unit、FMU)がジョイント復号方式を使用して復号される復号順序又は復号スケジュールを決定する。一例では、ジョイント復号方式は、第1の復号方式(例えば、LDPC復号方式)と第2の復号方式(例えば、RAID復号方式)とを含む。
【0008】
例えば、FMUは、第2の復号方式のRAIDストライプ又はXORストライプに関連付けられるか、又は別様で含まれる。2つ以上のFMUが初期復号プロセスに失敗したとき、ECC順序付けシステムは、2つ以上のFMUに関連付けられた1つ以上のメトリックに基づいて、FMUがジョイント復号方式を使用して復号される順序を決定する。順序が決定されると、ECCシステムは、決定された順序でFMUに対してジョイント復号方式を実行する。
【0009】
一例では、復号スケジュールが基づくメトリックは、各FMUのシンドローム重みである。別の例では、復号スケジュールが基づくメトリックは、各FMUの結合ビット誤り率(bit error rate、BER)である。一例では、結合BERは、各FMUに関連付けられた1つ以上のソフトビットの品質及びFMUの品質を示す。
【0010】
したがって、本開示の例は、データ記憶デバイスの誤り符号訂正システムによって実行される初期復号動作に失敗した、データ記憶デバイスに関連付けられた2つ以上のFMUを識別することを含む方法を説明する。本方法はまた、2つ以上のFMUの各々に関連付けられたメトリックを決定することを含む。2つ以上のFMUのための復号スケジュールが生成される。一例では、復号スケジュールは、2つ以上のFMUの各々に関連付けられたメトリックに少なくとも部分的に基づく。次いで、ジョイント復号動作が、ジョイント復号方式を使用して、生成された復号スケジュールに基づいて、2つ以上のFMUのうちの第1のFMUに対して実行される。一例では、ジョイント復号方式は、第1の復号方式及び第2の復号方式を含む。
(【0011】以降は省略されています)
この特許をJ-PlatPat(特許庁公式サイト)で参照する
関連特許
株式会社蜂鳥
増幅器
12日前
エイブリック株式会社
増幅器
2か月前
エイブリック株式会社
増幅器
2か月前
エイブリック株式会社
増幅回路
2か月前
日本電波工業株式会社
圧電振動片
1か月前
日本電波工業株式会社
水晶振動子
1か月前
エイブリック株式会社
電圧検出器
3か月前
株式会社トーキン
ノイズフィルタ
3か月前
京セラ株式会社
差動信号フィルタデバイス
18日前
京セラ株式会社
差動信号フィルタデバイス
18日前
株式会社半導体エネルギー研究所
駆動回路
2か月前
富士電機株式会社
半導体装置
11日前
台灣晶技股ふん有限公司
水晶発振器
1か月前
株式会社村田製作所
増幅回路
3か月前
台灣晶技股ふん有限公司
水晶発振素子
1か月前
株式会社村田製作所
弾性波装置
11日前
TDK株式会社
電子部品
1か月前
株式会社村田製作所
高周波回路
3か月前
TDK株式会社
電子部品
2か月前
ローム株式会社
自己診断システム
1か月前
住友電気工業株式会社
歪補償装置
5日前
株式会社村田製作所
弾性波フィルタ
2か月前
住友電気工業株式会社
高周波増幅器
2か月前
三菱電機株式会社
高周波増幅器モジュール
1か月前
国立大学法人東北大学
弾性表面波デバイス
1か月前
日清紡マイクロデバイス株式会社
演算増幅器
2か月前
株式会社村田製作所
高周波電力増幅器
10日前
株式会社村田製作所
高周波電力増幅器
10日前
台灣晶技股ふん有限公司
発振装置
1か月前
エイブリック株式会社
出力制御回路及び電圧出力回路
2か月前
エイブリック株式会社
電流制限回路及び電流制限装置
2か月前
アルプスアルパイン株式会社
センサ装置
2か月前
日本電波工業株式会社
温度センサ内蔵型の水晶振動子
1か月前
太陽誘電株式会社
フィルタ及びマルチプレクサ
2か月前
ローム株式会社
圧電共振器
3か月前
ニチコン株式会社
信号出力装置
3か月前
続きを見る
他の特許を見る