TOP
|
特許
|
意匠
|
商標
特許ウォッチ
Twitter
他の特許を見る
10個以上の画像は省略されています。
公開番号
2025177967
公報種別
公開特許公報(A)
公開日
2025-12-05
出願番号
2024085150
出願日
2024-05-24
発明の名称
情報処理装置、画像処理装置、それらの方法、及びプログラム
出願人
キヤノン株式会社
代理人
弁理士法人ひのき国際特許事務所
主分類
H04N
1/00 20060101AFI20251128BHJP(電気通信技術)
要約
【課題】従来の技術では、画像処理装置にクライアント端末を登録する必要があり、手間であったため、操作の手間の削減や、設定ミスの防止などのための工夫が望まれていた。
【解決手段】事前に画像処理装置からスキャン設定をエクスポートし、クライアント端末110の簡単スキャンアプリに登録しておく。クライアント端末110は、近接した画像処理装置100に対するスキャン処理を含む指示を行うための入力を受け付け(S803)、前記入力の受け付けに応じて、近接した画像処理装置100と通信接続を確立し(S804~S806)、画像処理装置100に対して、簡単スキャンアプリで管理されたスキャン設定を含む指示を受け渡す(S808)。そして、画像処理装置100から、前記スキャン設定に基づき行われたスキャン処理で得られたデータを受信する(S815~S818)。
【選択図】図8
特許請求の範囲
【請求項1】
スキャナを備える画像処理装置に対する指示を行うためのアプリケーションがインストールされた情報処理装置であって、
前記情報処理装置と近接した画像処理装置と通信接続を確立する接続手段と、
前記近接した装置である前記画像処理装置に対するスキャン処理を含む指示を行うための入力を受け付けるための制御を実行する実行手段と、
前記入力の受け付けに応じて、前記近接した装置である前記画像処理装置に対して、前記アプリケーションで管理されたスキャン設定を含む指示を受け渡す受け渡し手段と、
前記画像処理装置から、前記受け渡したスキャン設定に基づき行われたスキャン処理で得られたデータを受信する受信手段と、
を有することを特徴とする情報処理装置。
続きを表示(約 1,300 文字)
【請求項2】
前記受信手段は、前記画像処理装置で前記通信接続により得られた前記情報処理装置に対応する宛先が利用されることで当該画像処理装置から送信されてきた前記データを受信することを特徴とする請求項1に記載の情報処理装置。
【請求項3】
前記アプリケーションで管理されたスキャン設定は、前記画像処理装置から取得されることを特徴とする請求項1に記載の情報処理装置。
【請求項4】
前記受け渡したスキャン設定が前記画像処理装置で変更されて当該画像処理装置から送信されてきた場合、該送信されてきたスキャン設定を前記アプリケーションに登録する登録手段を有することを特徴とする請求項1~3のいずれか1項に記載の情報処理装置。
【請求項5】
前記受け渡し手段は、前記入力の受け付けに応じて、複数のスキャン設定が特定される場合、前記画像処理装置に対して、複数のスキャン設定を含む指示を受け渡すことを特徴とする請求項1に記載の情報処理装置。
【請求項6】
スキャナを備える画像処理装置であって、
前記画像処理装置に近接する、スキャナを備える画像処理装置に対する指示を行うためのアプリケーションがインストールされた情報処理装置からの接続要求に応じて、該情報処理装置との通信接続を確立する接続手段と、
前記通信接続が行われた前記情報処理装置においてユーザにより選択された前記アプリケーションで管理されるスキャン設定を含む指示を、前記情報処理装置から受け取る受け取り手段と、
前記受け取ったスキャン設定を用いてスキャン処理を行うためのユーザ指示を受け付ける受け付け手段と、
前記ユーザ指示を受け付けたことに応じて、前記スキャン設定に基づきスキャン処理を行って、該スキャン処理で得られたデータを前記情報処理装置に送信する処理手段と、
を有することを特徴とする画像処理装置。
【請求項7】
前記処理手段は、前記通信接続により得られた前記情報処理装置に対応する宛先を利用して当該情報処理装置に前記データを送信することを特徴とする請求項6に記載の画像処理装置。
【請求項8】
前記画像処理装置で管理されているスキャン設定を、前記アプリケーションに処理可能なデータとして出力する出力手段を有することを特徴とする請求項6に記載の画像処理装置。
【請求項9】
前記受け付け手段は、前記情報処理装置から受け取ったスキャン設定を変更し、該変更したスキャン設定を用いてスキャン処理を行うためのユーザ指示を受け付け可能であり、
前記ユーザ指示により前記スキャン設定が変更された場合に、該変更されたスキャン設定を前記情報処理装置に送信する送信手段を有することを特徴とする請求項6~8のいずれか1項に記載の画像処理装置。
【請求項10】
前記受け取り手段は、前記情報処理装置から複数のスキャン設定を受け取った場合、該複数のスキャン設定から、前記画像処理装置の機種情報に関連する名称のスキャン設定を選択することを特徴とする請求項6に記載の画像処理装置。
(【請求項11】以降は省略されています)
発明の詳細な説明
【技術分野】
【0001】
本発明は、情報処理装置、画像処理装置、それらの方法、及びプログラムに関する。
続きを表示(約 2,700 文字)
【背景技術】
【0002】
近年、働く場所の多様化により、従来の自社オフィスだけでなく、コワーキングスペースの利用やシェアオフィスで仕事をする人が増えている。また、異なる事業所に出張することで、いつも働いている場所とは異なる場所で働く機会は従来通り存在している。このような状況では、いつも利用している画像処理装置ではなく、初めて利用する画像処理装置を操作する必要がある。
【0003】
特許文献1には、画像処理装置が、当該画像処理装置に登録済みのクライアント端末から、原稿の向きやサイズに応じたスキャン設定を取得することで、画像処理装置でのスキャン設定を容易にする技術が提案されている。
【先行技術文献】
【特許文献】
【0004】
特開2022-135460号公報
【発明の概要】
【発明が解決しようとする課題】
【0005】
しかしながら、特許文献1の従来技術では、画像処理装置にクライアント端末を登録する必要があり、初めて利用する画像処理装置に対しては、まず登録作業を行わなければならず手間がかかる。特に一度しか利用しないような画像処理装置の場合、そのような登録作業はユーザにとって煩わしいものとなる。そのため、例えば、初めて利用する画像処理装置に対しても、ユーザがクライアント端末から、その画像処理装置でのスキャンをより簡単に指示することができるシステムが想定され得る。こういったシステムでは、定型業務などで行われるスキャンについて、操作の手間の削減や、設定ミスの防止などのための工夫が望まれる。
【0006】
本発明は、上記の課題を解決するためになされたものである。本発明は、画像処理装置における煩雑なスキャン設定が不要になり、初めて利用するような画像処理装置の環境においてもスキャンについて操作の手間の削減や設定ミスを抑えて、スキャンをより簡単に行うことができる仕組みを提供することを目的とする。
【課題を解決するための手段】
【0007】
本発明は、スキャナを備える画像処理装置に対する指示を行うためのアプリケーションがインストールされた情報処理装置であって、前記情報処理装置と近接した画像処理装置と通信接続を確立する接続手段と、前記近接した装置である前記画像処理装置に対するスキャン処理を含む指示を行うための入力を受け付けるための制御を実行する実行手段と、前記入力の受け付けに応じて、前記近接した装置である前記画像処理装置に対して、前記アプリケーションで管理されたスキャン設定を含む指示を受け渡す受け渡し手段と、前記画像処理装置から、前記受け渡したスキャン設定に基づき行われたスキャン処理で得られたデータを受信する受信手段と、を有することを特徴とする。
また、本発明は、スキャナを備える画像処理装置であって、前記画像処理装置に近接する、スキャナを備える画像処理装置に対する指示を行うためのアプリケーションがインストールされた情報処理装置からの接続要求に応じて、該情報処理装置との通信接続を確立する接続手段と、前記通信接続が行われた前記情報処理装置においてユーザにより選択された前記アプリケーションで管理されるスキャン設定を含む指示を、前記情報処理装置から受け取る受け取り手段と、前記受け取ったスキャン設定を用いてスキャン処理を行うためのユーザ指示を受け付ける受け付け手段と、前記ユーザ指示を受け付けたことに応じて、前記スキャン設定に基づきスキャン処理を行って、該スキャン処理で得られたデータを前記情報処理装置に送信する処理手段と、を有することを特徴とする。
【発明の効果】
【0008】
本発明によれば、画像処理装置における煩雑なスキャン設定が不要になり、初めて利用するような画像処理装置の環境においてもスキャンについて操作の手間の削減や設定ミスを抑えて、スキャンをより簡単に行うことが可能となる。このため、初めて利用するような画像処理装置の環境であっても、いつもの環境で行う場合と同等の容易さで、定型業務などで行われるスキャンを行うことができるようになり、スキャン処理におけるユーザビリティを格段に向上することができる。
【図面の簡単な説明】
【0009】
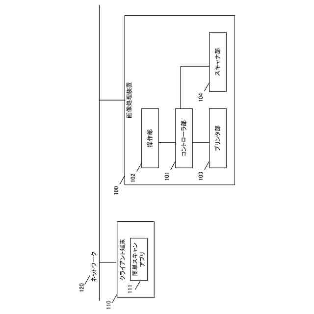
本実施形態を示すシステムの構成の一例を示す図。
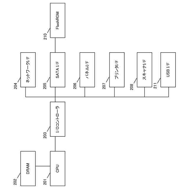
画像処理装置のコントローラ部の詳細の一例を示すブロック図。
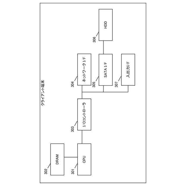
クライアント端末の詳細の一例を示すブロック図。
画像処理装置のソフトウェア構成の一例を表すブロック図。
クライアント端末のソフトウェア構成の一例を表すブロック図。
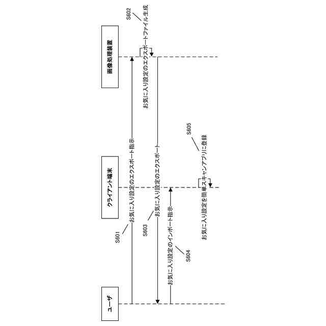
本実施形態の事前処理を表すシーケンスの一例を示す図。
事前処理においてクライアント端末に表示される画面の一例を示す図。
事前処理におけるクライアント端末に表示される画面の一例を示す図。
クライアント端末が画像処理装置に接続してスキャンを実行するときのシーケンスの一例を示す図。
スキャン準備完了前のクライアント端末に表示される画面の一例を示す図。
スキャン準備完了後のクライアント端末に表示される画面の一例を示す図。
画像処理装置に表示される画面の一例を示す図。
第1実施形態におけるクライアント端末の処理の一例を示すフローチャート。
クライアント端末に表示されるエラー画面の一例を示す図。
第1実施形態における画像処理装置の処理の一例を示すフローチャート。
画像処理装置に表示されるエラー画面の一例を示す図。
第2実施形態における画像処理装置の処理の一例を示すフローチャート。
第2実施形態における画像処理装置に表示されるお気に入り設定変更画面の一例を示す図。
第2実施形態におけるクライアント端末の処理の一例を示すフローチャート。
第2実施形態におけるクライアント端末に登録されているお気に入り設定ファイルの一覧を例示する図。
第2実施形態における画像処理装置の処理の一例を示すフローチャート。
【発明を実施するための形態】
【0010】
以下、本発明の実施の形態を図面に基づいて説明する。ただし、本実施令の形態で説明されている特徴のすべてが本発明の解決手段に必須のものであるとは限らない。本発明の実施形態では、画像処理装置とクライアント端末が連携する例について説明する。
(【0011】以降は省略されています)
この特許をJ-PlatPat(特許庁公式サイト)で参照する
関連特許
キヤノン株式会社
撮像装置
3日前
キヤノン株式会社
撮像装置
10日前
キヤノン株式会社
撮像装置
3日前
キヤノン株式会社
記録装置
4日前
キヤノン株式会社
記録装置
4日前
キヤノン株式会社
定着装置
18日前
キヤノン株式会社
二次電池
5日前
キヤノン株式会社
撮像装置
3日前
キヤノン株式会社
撮像装置
3日前
キヤノン株式会社
表示装置
3日前
キヤノン株式会社
撮像装置
12日前
キヤノン株式会社
撮像装置
3日前
キヤノン株式会社
表示装置
10日前
キヤノン株式会社
表示装置
10日前
キヤノン株式会社
発光装置
10日前
キヤノン株式会社
撮像装置
10日前
キヤノン株式会社
電子機器
3日前
キヤノン株式会社
表示装置
10日前
キヤノン株式会社
インク容器
4日前
キヤノン株式会社
画像形成装置
13日前
キヤノン株式会社
画像形成装置
5日前
キヤノン株式会社
画像形成装置
13日前
キヤノン株式会社
画像形成装置
3日前
キヤノン株式会社
情報処理装置
18日前
キヤノン株式会社
画像形成装置
3日前
キヤノン株式会社
画像形成装置
18日前
キヤノン株式会社
映像表示装置
4日前
キヤノン株式会社
インク収納体
12日前
キヤノン株式会社
情報処理装置
18日前
キヤノン株式会社
情報処理装置
18日前
キヤノン株式会社
二成分現像剤
10日前
キヤノン株式会社
情報処理装置
3日前
キヤノン株式会社
画像形成装置
10日前
キヤノン株式会社
情報処理装置
18日前
キヤノン株式会社
画像認識装置
18日前
キヤノン株式会社
検査システム
10日前
続きを見る
他の特許を見る