TOP
|
特許
|
意匠
|
商標
特許ウォッチ
Twitter
他の特許を見る
10個以上の画像は省略されています。
公開番号
2025177964
公報種別
公開特許公報(A)
公開日
2025-12-05
出願番号
2024085143
出願日
2024-05-24
発明の名称
多層基板、多層基板の製造方法、及び電子機器
出願人
FICT株式会社
代理人
弁理士法人綿貫国際特許・商標事務所
主分類
H05K
3/46 20060101AFI20251128BHJP(他に分類されない電気技術)
要約
【課題】金属層に化学密着被膜を施すことなく、金属層の高速伝送化を実現可能な多層基板、多層基板の製造方法、及び電子機器を提供する。
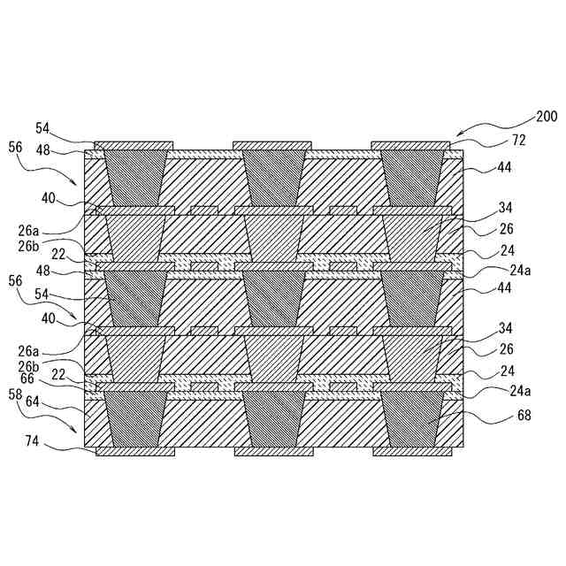
【解決手段】第1表面26aにパターン状の第1金属層40が形成された第1絶縁層26と、第1絶縁層26の第2表面26bに積層され第1絶縁層26とは反対側の第3表面24aにパターン状の第2金属層22が埋没して形成され且つ第1絶縁層26よりも低誘電正接である第2絶縁層24と、第1金属層40が埋没するように第1表面26aに積層された第3絶縁層44、及び第3絶縁層44に積層され且つ第2絶縁層24と同一の誘電正接である第4絶縁層48と、第1絶縁層26及び第2絶縁層24を貫通して形成され、第1金属層40と、第2金属層22とを電気的に接続する第1ビア34と、第3絶縁層44、及び第4絶縁層48を貫通して形成された第2ビア54とを有する積層体56が複数積層されていることを要件とする。
【選択図】図22
特許請求の範囲
【請求項1】
第1表面にパターン状の第1金属層が形成された第1絶縁層と、
前記第1絶縁層の第2表面に積層され前記第1絶縁層とは反対側の第3表面にパターン状の第2金属層が埋没して形成された第2絶縁層と、
前記第1金属層が埋没するように前記第1表面に積層された第3絶縁層、及び前記第3絶縁層に積層された第4絶縁層と、
前記第1絶縁層及び前記第2絶縁層を貫通して形成され、前記第1金属層と、前記第2金属層とを電気的に接続する第1ビアと、
前記第3絶縁層、及び前記第4絶縁層を貫通して形成された第2ビアとを有する積層体が複数積層されており、
少なくとも前記第2絶縁層、及び前記第4絶縁層は低誘電正接の材料からなること
を特徴とする多層基板。
続きを表示(約 1,800 文字)
【請求項2】
前記第2絶縁層、及び前記第4絶縁層は、10GHzでの誘電正接が0.002以下であること
を特徴とする請求項1記載の多層基板。
【請求項3】
前記第2金属層は、表面の粗面化処理がなされていないこと
を特徴とする請求項1又は請求項2記載の多層基板。
【請求項4】
第1表面にパターン状の第1金属層が形成された第1絶縁層と、
前記第1絶縁層の第2表面に積層され前記第1絶縁層とは反対側の第3表面にパターン状の第2金属層が埋没して形成された第2絶縁層と、
前記第1金属層が埋没するように前記第1表面に積層された第5絶縁層、前記第5絶縁層に積層された第6絶縁層、及び前記第6絶縁層に積層された第7絶縁層と、
前記第1絶縁層及び前記第2絶縁層を貫通して形成され、前記第1金属層と、前記第2金属層とを電気的に接続する第1ビアと、
前記第5絶縁層、前記第6絶縁層及び前記第7絶縁層を貫通して形成された第2ビアとを有する積層体が複数積層されており、
少なくとも前記第2絶縁層、前記第5絶縁層、及び前記第7絶縁層は低誘電正接の材料からなること
を特徴とする多層基板。
【請求項5】
前記第2絶縁層、前記第5絶縁層、及び前記第7絶縁層は、10GHzでの誘電正接が0.002以下であること
を特徴とする請求項4記載の多層基板。
【請求項6】
前記第1金属層及び前記第2金属層は、表面の粗面化処理がなされていないこと
を特徴とする請求項4又は請求項5記載の多層基板。
【請求項7】
第1絶縁層と、
前記第1絶縁層の第1表面に積層され前記第1絶縁層とは反対側の第4表面にパターン状の第1金属層が形成された第8絶縁層と、
前記第1絶縁層の第2表面に積層され前記第1絶縁層とは反対側の第3表面にパターン状の第2金属層が埋没して形成された第2絶縁層と、
前記第1金属層が埋没するように前記第4表面に積層された第5絶縁層、前記第5絶縁層に積層された第6絶縁層、及び前記第6絶縁層に積層された第7絶縁層と、
前記第1絶縁層、前記第2絶縁層及び前記第8絶縁層を貫通して形成され、前記第1金属層と、前記第2金属層とを電気的に接続する第1ビアと、
前記第5絶縁層、前記第6絶縁層及び前記第7絶縁層を貫通して形成された第2ビアとを有する積層体が複数積層されており、
少なくとも前記第2絶縁層、前記第5絶縁層、前記第7絶縁層、及び前記第8絶縁層は低誘電正接の材料からなること
を特徴とする多層基板。
【請求項8】
前記第2絶縁層、前記第5絶縁層、前記第7絶縁層、及び前記第8絶縁層は、10GHzでの誘電正接が0.002以下であること
を特徴とする請求項7記載の多層基板。
【請求項9】
前記第1金属層及び前記第2金属層は、表面の粗面化処理がなされていないこと
を特徴とする請求項7又は請求項8記載の多層基板。
【請求項10】
多層基板の製造方法であって、
3層金属箔に対してエッチングにより第2金属層を形成する第2金属層形成工程と、
次いで、前記第2金属層上に前記第2金属層を埋没させるように第2絶縁層を積層する第1積層工程と、
次いで、前記第2絶縁層上に第1絶縁層を積層する第2積層工程と、
次いで、前記第1絶縁層及び前記第2絶縁層に対して第1ビアを形成する第1ビア形成工程と、
次いで、前記第1絶縁層上に第1金属層を形成する第1金属層形成工程と、
次いで、前記第1金属層が埋没するように、第3絶縁層を積層する第3積層工程と、
次いで、前記3層金属箔に対してエッチングにより前記第2金属層以外を除去するエッチング工程と、
次いで、前記第3絶縁層に対して第4絶縁層を積層する第4積層工程と、
次いで、前記第3絶縁層、及び前記第4絶縁層に対して第2ビアを形成する第2ビア形成工程とによって積層体を形成する積層体形成工程と、
複数の前記積層体を積層する第5積層工程とを備え、
少なくとも前記第2絶縁層、及び前記第4絶縁層は、低誘電正接の材料からなること
を特徴とする多層基板の製造方法。
(【請求項11】以降は省略されています)
発明の詳細な説明
【技術分野】
【0001】
本発明は、多層基板、多層基板の製造方法、及び電子機器に関する。
続きを表示(約 2,300 文字)
【背景技術】
【0002】
多層構造を有する回路基板(以下、「多層基板」と称する場合がある)が一般に広く知られている。
【0003】
例えば、特許文献1(特開2021-190602号公報)には、二層の金属層を有する積層体が複数積層された多層基板が開示されている。従来のビルドアップ型の多層基板は多層化されることにより一層当たりの歩留まりが層数の乗数として全体の歩留まりに反映されるが、特許文献1に開示の多層基板は、予め積層体を作製しておくことにより、上記した歩留まりの向上を実現することができる。
【先行技術文献】
【特許文献】
【0004】
特開2021-190602号公報
【発明の概要】
【発明が解決しようとする課題】
【0005】
ところで、特許文献1に開示するような多層基板において、金属層を高速伝送化させるために金属層の表面に粗面化処理をせずに化学密着被膜を施す場合がある。しかしながら、化学密着被膜が施された金属層に対して絶縁層を積層し、レーザ等によって当該絶縁層にビアホールを穿孔しても、当該金属層のビア接続部分の化学密着被膜が除去しきれず、金属層とビアとの接続不良が生じる場合があった。すなわち、多層基板において金属層に化学密着被膜を施した場合に、多層基板の信頼性が低下するという問題が生じていた。
【課題を解決するための手段】
【0006】
そこで、本発明は上記課題を解決すべくなされ、その目的とするところは、金属層に化学密着被膜を施すことなく、金属層の高速伝送化を実現可能な多層基板、多層基板の製造方法、及び電子機器を提供することにある。
【0007】
すなわち、開示の多層基板は、第1表面にパターン状の第1金属層が形成された第1絶縁層と、前記第1絶縁層の第2表面に積層され前記第1絶縁層とは反対側の第3表面にパターン状の第2金属層が埋没して形成された第2絶縁層と、前記第1金属層が埋没するように前記第1表面に積層された第3絶縁層、及び前記第3絶縁層に積層された第4絶縁層と、前記第1絶縁層及び前記第2絶縁層を貫通して形成され、前記第1金属層と、前記第2金属層とを電気的に接続する第1ビアと、前記第3絶縁層、及び前記第4絶縁層を貫通して形成された第2ビアとを有する積層体が複数積層されており、少なくとも前記第2絶縁層、及び前記第4絶縁層は低誘電正接の材料からなることを要件とする。
【0008】
また、開示の多層基板は、第1表面にパターン状の第1金属層が形成された第1絶縁層と、前記第1絶縁層の第2表面に積層され前記第1絶縁層とは反対側の第3表面にパターン状の第2金属層が埋没して形成された第2絶縁層と、前記第1金属層が埋没するように前記第1表面に積層された第5絶縁層、前記第5絶縁層に積層された第6絶縁層、及び前記第6絶縁層に積層された第7絶縁層と、前記第1絶縁層及び前記第2絶縁層を貫通して形成され、前記第1金属層と、前記第2金属層とを電気的に接続する第1ビアと、前記第5絶縁層、前記第6絶縁層及び前記第7絶縁層を貫通して形成された第2ビアとを有する積層体が複数積層されており、少なくとも前記第2絶縁層、前記第5絶縁層、及び前記第7絶縁層は低誘電正接の材料からなることを要件とする。
【0009】
また、開示の多層基板は、第1絶縁層と、前記第1絶縁層の第1表面に積層され前記第1絶縁層とは反対側の第4表面にパターン状の第1金属層が形成された第8絶縁層と、前記第1絶縁層の第2表面に積層され前記第1絶縁層とは反対側の第3表面にパターン状の第2金属層が埋没して形成された第2絶縁層と、前記第1金属層が埋没するように前記第4表面に積層された第5絶縁層、前記第5絶縁層に積層された第6絶縁層、及び前記第6絶縁層に積層された第7絶縁層と、前記第1絶縁層、前記第2絶縁層及び前記第8絶縁層を貫通して形成され、前記第1金属層と、前記第2金属層とを電気的に接続する第1ビアと、前記第5絶縁層、前記第6絶縁層及び前記第7絶縁層を貫通して形成された第2ビアとを有する積層体が複数積層されており、少なくとも前記第2絶縁層、前記第5絶縁層、前記第7絶縁層、及び前記第8絶縁層は低誘電正接の材料からなることを要件とする。
【0010】
また、開示の多層基板の製造方法は、3層金属箔に対してエッチングにより第2金属層を形成する第2金属層形成工程と、次いで、前記第2金属層上に前記第2金属層を埋没させるように第2絶縁層を積層する第1積層工程と、次いで、前記第2絶縁層上に第1絶縁層を積層する第2積層工程と、次いで、前記第1絶縁層及び前記第2絶縁層に対して第1ビアを形成する第1ビア形成工程と、次いで、前記第1絶縁層上に第1金属層を形成する第1金属層形成工程と、次いで、前記第1金属層が埋没するように、第3絶縁層を積層する第3積層工程と、次いで、前記3層金属箔に対してエッチングにより前記第2金属層以外を除去するエッチング工程と、次いで、前記第3絶縁層に対して第4絶縁層を積層する第4積層工程と、次いで、前記第3絶縁層、及び前記第4絶縁層に対して第2ビアを形成する第2ビア形成工程とによって積層体を形成する積層体形成工程と、複数の前記積層体を積層する第5積層工程とを備え、少なくとも前記第2絶縁層、及び前記第4絶縁層は、低誘電正接の材料からなることを要件とする。
(【0011】以降は省略されています)
この特許をJ-PlatPat(特許庁公式サイト)で参照する
関連特許
FICT株式会社
多層基板
11日前
FICT株式会社
多層基板の製造方法
4日前
FICT株式会社
回路基板及び回路基板の製造方法
11日前
FICT株式会社
多層基板、多層基板の製造方法、及び電子機器
4日前
個人
電子部品の実装方法
2か月前
愛知電機株式会社
装柱金具
2か月前
日本精機株式会社
回路基板
今日
日本精機株式会社
回路基板
3か月前
個人
電気式バーナー
1か月前
日星電気株式会社
面状ヒータ
25日前
アイホン株式会社
電気機器
2か月前
イビデン株式会社
配線基板
2か月前
キヤノン株式会社
電子機器
2か月前
日本放送協会
基板固定装置
2か月前
個人
静電気中和除去装置
1か月前
FDK株式会社
基板
2か月前
株式会社デンソー
電子装置
2か月前
株式会社デンソー
電子装置
11日前
イビデン株式会社
プリント配線板
2か月前
サクサ株式会社
筐体の壁掛け構造
3か月前
株式会社レクザム
剥離装置
2か月前
サクサ株式会社
開き角度規制構造
2か月前
シャープ株式会社
加熱機器
1か月前
イビデン株式会社
配線基板
3か月前
株式会社デンソー
電子装置
1か月前
日産自動車株式会社
電子機器
19日前
新電元工業株式会社
電子装置
2か月前
日本精機株式会社
車両表示装置用回路基板
4日前
オムロン株式会社
端子折り曲げ治具
2か月前
日産自動車株式会社
電子基板
今日
富士フイルム株式会社
積層体
2か月前
株式会社レゾナック
冷却装置
2か月前
日産自動車株式会社
電子部品
2か月前
新光電気工業株式会社
配線基板
2か月前
株式会社デンソー
電子制御装置
1か月前
富士電子工業株式会社
誘導加熱コイル
2か月前
続きを見る
他の特許を見る