TOP
|
特許
|
意匠
|
商標
特許ウォッチ
Twitter
他の特許を見る
10個以上の画像は省略されています。
公開番号
2025177895
公報種別
公開特許公報(A)
公開日
2025-12-05
出願番号
2024085044
出願日
2024-05-24
発明の名称
便座装置およびそれを備える便器装置
出願人
パナソニックIPマネジメント株式会社
代理人
弁理士法人北斗特許事務所
主分類
A47K
13/30 20060101AFI20251128BHJP(家具;家庭用品または家庭用設備;コーヒーひき;香辛料ひき;真空掃除機一般)
要約
【課題】便座を乾燥させる乾燥装置を容易に掃除できる便座装置及びそれを備える便器装置を提供する。
【解決手段】便座装置1は、ボウル20を有する便器本体2の上に取り付けられる。便座装置1は、中央に開口30を有する便座3と、便座3を覆う閉姿勢と便座3を露出させる開姿勢との間で切替可能な便蓋4と、便蓋4に設けられ、便座3に空気を吹き付けて便座3を乾燥させる乾燥装置5と、を具備する。乾燥装置5は、便蓋4が前記閉姿勢にあるときに開口30の内側に位置するように便蓋4から突出した突出部50を具備し、かつ突出部50には、便座3に向けて開口し、かつ前記空気が通過する送風口500が設けられている。便器装置100は、ボウル20を有する便器本体2と、便器本体2の上に取り付けられる前記の便座装置1と、を具備する。
【選択図】図1
特許請求の範囲
【請求項1】
ボウルを有する便器本体の上に取り付けられる便座装置であって、
中央に開口を有する便座と、
前記便座を覆う閉姿勢と前記便座を露出させる開姿勢との間で切替可能な便蓋と、
前記便蓋に設けられ、前記便座に空気を吹き付けて前記便座を乾燥させる乾燥装置と、
を具備し、
前記乾燥装置は、
前記便蓋が前記閉姿勢にあるときに前記開口の内側に位置するように前記便蓋から突出した突出部を具備し、かつ
前記突出部には、前記便座に向けて開口し、かつ前記空気が通過する送風口が設けられている、
便座装置。
続きを表示(約 1,000 文字)
【請求項2】
前記乾燥装置は、
前記空気を送り出すファン部と、
前記突出部の外殻を構成するケースと、
前記便座の前記開口の縁に沿った周方向に前記ケースを回転させる回転装置と、
を具備し、
前記送風口は前記ケースの外周面の一部に設けられている、
請求項1に記載の便座装置。
【請求項3】
前記便蓋は、
前記便蓋が前記閉姿勢にあるときに前記便座を上方から覆う便蓋本体と、
前記便蓋本体の外周部から突出し、かつ前記便蓋が前記閉姿勢にあるときに前記便座を側方から覆う周壁部と、
を具備し、
前記便蓋本体の前記便座に対向する面は、湾曲面を介して、前記周壁部の前記便座に対向する面に連続している、
請求項2に記載の便座装置。
【請求項4】
前記乾燥装置は、
前記送風口が前記便座の上面に対向する上位置と、前記送風口が前記便座の下面に対向する下位置との間で、前記ケースを昇降させる昇降装置を
更に具備する、
請求項2に記載の便座装置。
【請求項5】
前記昇降装置は、
前記ケースを昇降させるフレキラックと、
前記フレキラックが巻き付く歯車と、
前記歯車を回転させるモーターと、
を具備する、
請求項4に記載の便座装置。
【請求項6】
前記乾燥装置は、
前記送風口に向かう前記空気を温める加熱装置
を更に具備する、
請求項2に記載の便座装置。
【請求項7】
前記便蓋には、前記便蓋の外部空間に向けて開口した吸い込み口が設けられており、かつ
前記ファン部は、前記吸い込み口から吸い込んだ前記空気を前記送風口に向けて送り出す遠心ブロアである、
請求項2に記載の便座装置。
【請求項8】
前記便座の開閉を制御する制御装置を更に具備し、
前記制御装置は、前記便座の上面が前記送風口に対向する上面乾燥位置、または前記便座の下面が前記送風口に対向する下面乾燥位置のいずれか一方に、前記便座を移動させるように構成されている、
請求項2に記載の便座装置。
【請求項9】
ボウルを有する便器本体と、
前記便器本体の上に取り付けられる請求項1から8のいずれか一項に記載の便座装置と、を具備する、
便器装置。
発明の詳細な説明
【技術分野】
【0001】
本開示は、便座装置およびそれを備える便器装置に関する。より詳しくは、本開示は、便座を乾燥させる乾燥装置を有する便座装置およびそれを備える便器装置に関する。
続きを表示(約 1,800 文字)
【背景技術】
【0002】
特許文献1には、便座自動洗浄装置が記載されている。特許文献1では、便座を被覆するカバー(つまり便蓋)に、便座の輪郭に沿って周回移動する洗浄ノズルが設けられている。当該洗浄ノズルから便座に向けて水を噴射させ、次いで、気体を噴き付けて便座を乾燥する。
【先行技術文献】
【特許文献】
【0003】
特開2010-246898号公報
【発明の概要】
【発明が解決しようとする課題】
【0004】
特許文献1に記載の便座自動洗浄装置では、洗浄ノズルにつながった長尺の配管が便蓋の中央部から外周縁まで延びている。当該長尺の配管が便蓋から露出している。そのため、長尺の配管と洗浄ノズルとを含む乾燥装置が汚れやすい。その結果、乾燥装置の掃除に手間がかかる。
【0005】
上記事情に鑑みて、本開示は、便座を乾燥させる乾燥装置を容易に掃除できる便座装置及びそれを備える便器装置を提供することを目的とする。
【課題を解決するための手段】
【0006】
本開示の一態様に係る便座装置は、ボウルを有する便器本体の上に取り付けられる。前記便座装置は、中央に開口を有する便座と、前記便座を覆う閉姿勢と前記便座を露出させる開姿勢との間で切替可能な便蓋と、前記便蓋に設けられ、前記便座に空気を吹き付けて前記便座を乾燥させる乾燥装置と、を具備する。前記乾燥装置は、前記便蓋が前記閉姿勢にあるときに前記開口の内側に位置するように前記便蓋から突出した突出部を具備し、かつ前記突出部には、前記便座に向けて開口し、かつ前記空気が通過する送風口が設けられている。
【0007】
本開示の一態様に係る便器装置は、ボウルを有する便器本体と、前記便器本体の上に取り付けられる前記の便座装置と、を具備する。
【発明の効果】
【0008】
本開示の一態様の便器装置及びそれを備える便器装置では、便座を乾燥させる乾燥装置を容易に掃除できる。
【図面の簡単な説明】
【0009】
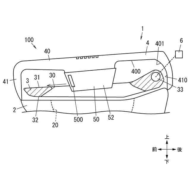
図1は、本開示に係る実施形態1の便座装置を概略的に示す一部破断側面図であり、かつ便座の上面の乾燥時の状態を示す図である。
図2は、本開示に係る実施形態1の便座装置を概略的に示す一部破断側面図であり、かつ便座の下面の乾燥時の状態を示す図である。
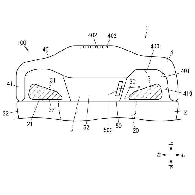
図3は、実施形態1の便座装置の便座上面の乾燥時の状態を概略的に示す一部破断正面図である。
図4は、実施形態1の便座装置の便座下面の乾燥時の状態を示す一部破断正面図である。
図5は、実施形態1の便座装置が備える便座と乾燥装置の突出部との平面視における位置関係を示す概略的な図である。
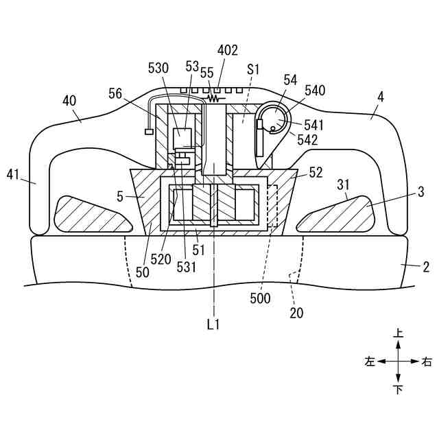
図6は、実施形態1の乾燥装置の内部構造を概略的に示す図であり、便座上面の乾燥時の状態を示す図である。
図7は、実施形態1の乾燥装置の内部構造を概略的に示す図であり、便座下面の乾燥時の状態を示す図である。
図8は、本開示に係る実施形態2の便座装置の便座上面の乾燥時の状態を概略的に示す一部破断側面図である。
図9は、実施形態2の便座装置の便座下面の乾燥時の状態を概略的に示す一部破断側面図である。
図10は、実施形態2の便座装置の便座上面の乾燥時の状態を概略的に示す一部破断正面図である。
図11は、実施形態2の便座装置の便座下面の乾燥時の状態を概略的に示す一部破断正面図である。
【発明を実施するための形態】
【0010】
(実施形態1)
1.概要
図1は、本開示に係る実施形態1の便座装置1を概略的に示す一部破断側面図であり、かつ便座3の上面の乾燥時の状態を示す図である。図1に示すように、実施形態1の便座装置1は、ボウル20を有する便器本体2の上に取り付けられる。便座装置1は、中央に開口30を有する便座3と、便座3を覆う閉姿勢と便座3を露出させる開姿勢との間で切替可能な便蓋4と、便蓋4に設けられ、便座3に空気を吹き付けて便座3を乾燥させる乾燥装置5と、を具備する。乾燥装置5は、便蓋4が閉姿勢にあるときに開口30の内側に位置するように便蓋4から突出した突出部50を具備する。突出部50には、便座3に向けて開口し、かつ空気が通過する送風口500が設けられている。
(【0011】以降は省略されています)
この特許をJ-PlatPat(特許庁公式サイト)で参照する
関連特許
他の特許を見る