TOP
|
特許
|
意匠
|
商標
特許ウォッチ
Twitter
他の特許を見る
10個以上の画像は省略されています。
公開番号
2025177877
公報種別
公開特許公報(A)
公開日
2025-12-05
出願番号
2024085020
出願日
2024-05-24
発明の名称
判断方法、情報処理装置、判断システム、プログラム及び記憶媒体
出願人
キヤノン株式会社
代理人
弁理士法人大塚国際特許事務所
主分類
G06Q
50/02 20240101AFI20251128BHJP(計算;計数)
要約
【課題】 複数の品種の苗を育成する場合に、各品種に適した摘芯のタイミングを判断できるようにすること。
【解決手段】 制御手段が、複数の区画をそれぞれ識別するための区画情報と、各区画の区画情報に対応する閾値を記憶手段に記憶する記憶工程と、解析手段が、苗を撮影した画像データを解析して、前記苗が植えられた区画の区画情報と、前記苗の生育状態を示す生体情報とを取得する解析工程と、前記制御手段が、前記記憶手段から、前記解析工程で取得した前記区画情報に対応する前記閾値を取得する取得工程と、判断手段が、前記生体情報と前記閾値とを比較し、比較結果に応じて前記苗の摘芯を行うかどうかを判断する判断工程とを有する。
【選択図】 図4
特許請求の範囲
【請求項1】
制御手段が、複数の区画をそれぞれ識別するための区画情報と、各区画の区画情報に対応する閾値を記憶手段に記憶する記憶工程と、
解析手段が、苗を撮影した画像データを解析して、前記苗が植えられた区画の区画情報と、前記苗の生育状態を示す生体情報とを取得する解析工程と、
前記制御手段が、前記記憶手段から、前記解析工程で取得した前記区画情報に対応する前記閾値を取得する取得工程と、
判断手段が、前記生体情報と前記閾値とを比較し、比較結果に応じて前記苗の摘芯を行うかどうかを判断する判断工程と
を有することを特徴とする判断方法。
続きを表示(約 720 文字)
【請求項2】
前記生体情報は、苗の生育状態を表す値であって、前記判断工程では、前記生体情報が前記閾値を超える場合に摘芯を行い、前記閾値を超えない場合に摘芯を行わないと判断することを特徴とする請求項1に記載の判断方法。
【請求項3】
前記区画情報は、区画の名称および区画の位置の少なくともいずれかであることを特徴とする請求項1に記載の判断方法。
【請求項4】
前記生体情報は、前記苗の草丈および本葉の枚数の少なくともいずれかであることを特徴とする請求項1に記載の判断方法。
【請求項5】
前記閾値は、苗の品種に応じた摘芯のタイミングを示す草丈および本場の枚数の少なくともいずれかであることを特徴とする請求項4に記載の判断方法。
【請求項6】
前記判断工程において摘芯を行うと判断した場合に、摘芯の指示を生成する生成工程を更に有することを特徴とする請求項1に記載の判断方法。
【請求項7】
前記生成工程で生成した前記指示を送信する送信工程を更に有することを特徴とする請求項6に記載の判断方法。
【請求項8】
前記判断工程において摘芯を行うと判断した場合に、摘芯の情報を生成する生成工程を更に有することを特徴とする請求項1に記載の判断方法。
【請求項9】
前記生成工程で生成した情報を記憶手段に記憶する第2の記憶工程を更に有することを特徴とする請求項8に記載の判断方法。
【請求項10】
前記閾値を入力する入力工程を更に有することを特徴とする請求項1に記載の判断方法。
(【請求項11】以降は省略されています)
発明の詳細な説明
【技術分野】
【0001】
本発明は、判断方法、情報処理装置、判断システム、プログラム及び記憶媒体に関し、特に、苗を摘芯するタイミングを判断する技術に関する。
続きを表示(約 1,900 文字)
【背景技術】
【0002】
近年、市場ニーズに細やかに対応するために、区画毎に異なる品種を育てる多品種生産に対応した植物工場が稼働し始めている。特許文献1では、摘芯によって、収穫量を増加することができるアイの栽培収穫装置が開示されている。また、特許文献2では、施設内に設けた区画毎に、生体情報を取得して、育成環境を制御する農業支援システムが開示されている。
【先行技術文献】
【特許文献】
【0003】
特開2019-054733号公報
特開2019-193592号公報
【発明の概要】
【発明が解決しようとする課題】
【0004】
しかしながら、特許文献1に開示された従来技術は、特定の品種に限定されているため、他の品種の摘芯に利用することができない。また、特許文献2に開示された従来技術においても、1つのハウスの中では1つの品種を育成することを前提としており、複数の異なる品種を栽培する場合に適用することができない。更に、区画毎に生体情報を取得するため、取得した生体情報を特許文献1の摘芯の判断に利用した場合、特定の区画において苗単位で成長速度が異なる環境では、必ずしも収穫量を増やせるような摘芯ができない。
【0005】
本発明は上記問題点を鑑みてなされたものであり、複数の品種の苗を育成する場合に、各品種に適した摘芯のタイミングを判断できるようにすることを目的とする。
【課題を解決するための手段】
【0006】
上記目的を達成するために、本発明の判断方法は、制御手段が、複数の区画をそれぞれ識別するための区画情報と、各区画の区画情報に対応する閾値を記憶手段に記憶する記憶工程と、解析手段が、苗を撮影した画像データを解析して、前記苗が植えられた区画の区画情報と、前記苗の生育状態を示す生体情報とを取得する解析工程と、前記制御手段が、前記記憶手段から、前記解析工程で取得した前記区画情報に対応する前記閾値を取得する取得工程と、判断手段が、前記生体情報と前記閾値とを比較し、比較結果に応じて前記苗の摘芯を行うかどうかを判断する判断工程とを有する。
【発明の効果】
【0007】
本発明によれば、複数の品種の苗を育成する場合に、各品種に適した摘芯のタイミングを判断することができる。
【図面の簡単な説明】
【0008】
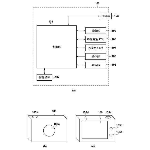
(a)本発明の実施形態におけるデジタルカメラの機能構成を示すブロック図、(b)正面図、及び(c)背面図。
(a)本実施形態におけるサーバの機能構成を示すブロック図、(b)判断基準情報の一例を示す図。
本実施形態における摘芯システムの構成と、各装置の配置例を示す図。
第1の実施形態におけるデジタルカメラとサーバの処理を示すシーケンス図。
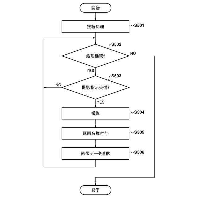
第1の実施形態におけるデジタルカメラの処理を示すフローチャート。
第1の実施形態におけるサーバの処理を示すフローチャート。
第2の実施形態におけるデジタルカメラとサーバの処理を示すシーケンス図。
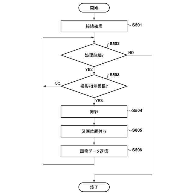
第2の実施形態におけるデジタルカメラの処理を示すフローチャート。
第2の実施形態におけるサーバの処理を示すフローチャート。
【発明を実施するための形態】
【0009】
以下、添付図面を参照して実施形態を詳しく説明する。なお、以下の実施形態は特許請求の範囲に係る発明を限定するものではない。実施形態には複数の特徴が記載されているが、これらの複数の特徴の全てが発明に必須のものとは限らず、また、複数の特徴は任意に組み合わせられてもよい。さらに、添付図面においては、同一若しくは同様の構成に同一の参照番号を付し、重複した説明は省略する。
【0010】
<第1の実施形態>
●デジタルカメラ100の構成
図1を参照して、本実施形態で用いる撮像装置の一例として、デジタルカメラ100の構成及び機能について説明する。
なお、本実施形態では、撮影装置の一例として静止画や動画等の映像(以下、「画像」と呼ぶ。)を撮影可能なデジタルカメラを例にあげて説明するが、本発明はこれに限られるものではなく、撮像機能を搭載可能な任意の電子機器に対して適用可能である。例えば、カメラ機能付きのタブレットデバイスやパーソナルコンピュータ等の情報処理装置、監視カメラ、携帯電話機、スマートフォン、ロボット、ドローン等であってもよい。
(【0011】以降は省略されています)
この特許をJ-PlatPat(特許庁公式サイト)で参照する
関連特許
キヤノン株式会社
容器
1か月前
キヤノン株式会社
容器
1か月前
キヤノン株式会社
トナー
1か月前
キヤノン株式会社
トナー
1か月前
キヤノン株式会社
表示装置
1か月前
キヤノン株式会社
電子機器
1か月前
キヤノン株式会社
撮像装置
3日前
キヤノン株式会社
撮像装置
3日前
キヤノン株式会社
撮像装置
3日前
キヤノン株式会社
表示装置
10日前
キヤノン株式会社
表示装置
10日前
キヤノン株式会社
記録装置
1か月前
キヤノン株式会社
記録装置
1か月前
キヤノン株式会社
定着装置
24日前
キヤノン株式会社
定着装置
24日前
キヤノン株式会社
現像装置
1か月前
キヤノン株式会社
電子機器
1か月前
キヤノン株式会社
記録装置
4日前
キヤノン株式会社
撮像装置
1か月前
キヤノン株式会社
記録装置
4日前
キヤノン株式会社
定着装置
18日前
キヤノン株式会社
発光装置
10日前
キヤノン株式会社
記録装置
24日前
キヤノン株式会社
測距装置
1か月前
キヤノン株式会社
撮像装置
1か月前
キヤノン株式会社
二次電池
5日前
キヤノン株式会社
撮像装置
1か月前
キヤノン株式会社
定着装置
24日前
キヤノン株式会社
現像装置
1か月前
キヤノン株式会社
撮像装置
1か月前
キヤノン株式会社
表示装置
10日前
キヤノン株式会社
撮像装置
10日前
キヤノン株式会社
撮像装置
1か月前
キヤノン株式会社
記録装置
1か月前
キヤノン株式会社
測距装置
1か月前
キヤノン株式会社
現像容器
1か月前
続きを見る
他の特許を見る