TOP
|
特許
|
意匠
|
商標
特許ウォッチ
Twitter
他の特許を見る
10個以上の画像は省略されています。
公開番号
2025177738
公報種別
公開特許公報(A)
公開日
2025-12-05
出願番号
2024084810
出願日
2024-05-24
発明の名称
特許明細書作成支援システム、特許明細書作成支援方法、特許明細書作成支援プログラム、及び記録媒体
出願人
三菱電機株式会社
代理人
弁理士法人加藤国際特許事務所
主分類
G06Q
50/18 20120101AFI20251128BHJP(計算;計数)
要約
【課題】構造に関する記述を含む特許明細書の作成を効率的に支援することができる特許明細書作成支援システム、特許明細書作成支援方法、特許明細書作成支援プログラム、及び記録媒体を得ることを目的とする。
【解決手段】データ取得部11は、入力装置31から対象画像データを取得する。対象画像デーは、対象物の形状を示す画像のデータである。文章作成制御部12は、データ取得部11で取得した対象画像データを人工知能部20に入力することで、対象物を説明する説明文章を作成する。また、文章作成制御部12は、作成した説明文章を表示装置32に表示させる。
【選択図】図1
特許請求の範囲
【請求項1】
対象物の形状を示す画像のデータである対象画像データを取得するデータ取得部と、
前記データ取得部で取得した前記対象画像データを人工知能部に入力することで、前記対象物を説明する説明文章を作成する文章作成制御部と、
を備える特許明細書作成支援システム。
続きを表示(約 1,400 文字)
【請求項2】
前記データ取得部は、前記対象物に関する名称の情報である名称情報をさらに取得し、
前記文章作成制御部は、前記データ取得部で取得した前記対象画像データと前記名称情報とを前記人工知能部に入力することで、前記説明文章を作成する請求項1に記載の特許明細書作成支援システム。
【請求項3】
前記データ取得部は、前記対象画像データとして、前記対象物の形状に少なくとも1つの符号が付されている図面データを取得する請求項1に記載の特許明細書作成支援システム。
【請求項4】
前記データ取得部は、前記少なくとも1つの符号に対応する説明の情報である符号説明情報をさらに取得し、
前記文章作成制御部は、前記データ取得部で取得した前記対象画像データと前記符号説明情報とを前記人工知能部に入力することで、前記説明文章を作成する請求項3に記載の特許明細書作成支援システム。
【請求項5】
前記データ取得部は、前記対象物に関連する文献の情報である関連文献情報をさらに取得し、
前記文章作成制御部は、前記データ取得部で取得した前記対象画像データと前記関連文献情報とを前記人工知能部に入力することで、前記説明文章を作成する請求項1に記載の特許明細書作成支援システム。
【請求項6】
前記文章作成制御部は、
前記データ取得部で取得した前記対象画像データを前記人工知能部に入力することで、前記対象物に関連する複数の文献に含まれる複数の図面の画像を出力し、
前記データ取得部で取得した前記対象画像データと、前記複数の図面の中から選択された図面の情報である選択図面情報とを前記人工知能部に入力することで、前記説明文章を作成する請求項1に記載の特許明細書作成支援システム。
【請求項7】
前記文章作成制御部は、
前記データ取得部で取得した前記対象画像データを前記人工知能部に入力することで、前記対象物に関連する複数の文献の情報を出力し、
前記データ取得部で取得した前記対象画像データと、前記複数の文献の中から選択された文献の情報である選択文献情報とを前記人工知能部に入力することで、前記説明文章を作成する請求項1に記載の特許明細書作成支援システム。
【請求項8】
前記データ取得部は、前記対象物に関する前記説明文章よりも簡易な説明の情報である簡易説明情報をさらに取得し、
前記文章作成制御部は、前記データ取得部で取得した前記対象画像データと前記簡易説明情報とを前記人工知能部に入力することで、前記説明文章を作成する請求項1に記載の特許明細書作成支援システム。
【請求項9】
前記データ取得部は、前記対象画像データとして、前記対象物の形状が特徴部分と他の部分とで区別されている画像のデータを取得する請求項1に記載の特許明細書作成支援システム。
【請求項10】
前記データ取得部は、前記対象物の変形例の形状を示す画像のデータである変形例画像データをさらに取得し、
前記文章作成制御部は、前記データ取得部で取得した前記対象画像データと前記変形例画像データとを前記人工知能部に入力することで、前記説明文章を作成する請求項1に記載の特許明細書作成支援システム。
(【請求項11】以降は省略されています)
発明の詳細な説明
【技術分野】
【0001】
本開示は、特許明細書作成支援システム、特許明細書作成支援方法、特許明細書作成支援プログラム、及び記録媒体に関するものである。
続きを表示(約 1,500 文字)
【背景技術】
【0002】
従来の図面説明文生成装置では、パターン情報と図面情報とに基づいて、図面の説明文が生成される。パターン情報は、図面の要素を表す図面情報のパターンと、このパターンに対応する説明文のパターンとからなっている。図面情報は、説明文生成の基礎となる図面の情報である(例えば、特許文献1参照)。
【先行技術文献】
【特許文献】
【0003】
特許第3337763号公報
【発明の概要】
【発明が解決しようとする課題】
【0004】
上記のような従来の図面説明文生成装置では、説明文を生成するために、多くの複雑な情報を入力する必要があり、情報の作成及び入力に手間がかかる。また、パターン情報を入力する必要があるため、説明文の作成対象となる図面が、フローチャートに限られる。
【0005】
本開示は、上記のような課題を解決するためになされたものであり、構造に関する記述を含む特許明細書の作成を効率的に支援することができる特許明細書作成支援システム、特許明細書作成支援方法、特許明細書作成支援プログラム、及び記録媒体を得ることを目的とする。
【課題を解決するための手段】
【0006】
本開示に係る特許明細書作成支援システムは、対象物の形状を示す画像のデータである対象画像データを取得するデータ取得部と、データ取得部で取得した対象画像データを人工知能部に入力することで、対象物を説明する説明文章を作成する文章作成制御部と、を備える。
【発明の効果】
【0007】
本開示によれば、構造に関する記述を含む特許明細書の作成を効率的に支援することができる。
【図面の簡単な説明】
【0008】
実施の形態1による特許明細書作成支援システムを示すブロック図である。
図1の情報処理装置による説明文章作成処理を示すフローチャートである。
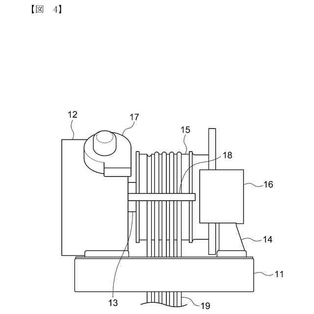
図1のデータ取得部が取得する対象画像データの一例を示す説明図である。
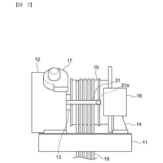
実施の形態2のデータ取得部が取得する対象画像データの一例を示す説明図である。
実施の形態5の情報処理装置による説明文章作成処理を示すフローチャートである。
実施の形態6の情報処理装置による説明文章作成処理を示すフローチャートである。
実施の形態9のデータ取得部が取得する変形例画像データの一例を示す
実施の形態10による特許明細書作成支援システムを示すブロック図である。
実施の形態11による特許明細書作成支援システムを示すブロック図である。
実施の形態12による特許明細書作成支援システムを示すブロック図である。
実施の形態1~12の情報処理装置及び人工知能部の各機能を実現する処理回路の第1例を示す構成図である。
実施の形態1~12の情報処理装置及び人工知能部の各機能を実現する処理回路の第2例を示す構成図である。
【発明を実施するための形態】
【0009】
以下、実施の形態について、図面を参照して説明する。
実施の形態1.
図1は、実施の形態1による特許明細書作成支援システムを示すブロック図である。図において、特許明細書作成支援システムは、情報処理装置10と、人工知能部20と、入力装置31と、表示装置32とを備えている。
【0010】
情報処理装置10は、機能ブロックとして、データ取得部11と、文章作成制御部12とを有している。
(【0011】以降は省略されています)
特許ウォッチbot のツイートを見る
この特許をJ-PlatPat(特許庁公式サイト)で参照する
関連特許
三菱電機株式会社
換気扇
1か月前
三菱電機株式会社
冷蔵庫
1か月前
三菱電機株式会社
換気扇
1か月前
三菱電機株式会社
換気扇
1か月前
三菱電機株式会社
扇風機
1か月前
三菱電機株式会社
冷蔵庫
18日前
三菱電機株式会社
換気扇
11日前
三菱電機株式会社
増幅器
1か月前
三菱電機株式会社
電子機器
1か月前
三菱電機株式会社
照明装置
1か月前
三菱電機株式会社
収集装置
1か月前
三菱電機株式会社
照明器具
12日前
三菱電機株式会社
電気機器
18日前
三菱電機株式会社
換気装置
10日前
三菱電機株式会社
半導体装置
2か月前
三菱電機株式会社
半導体装置
18日前
三菱電機株式会社
回路遮断器
26日前
三菱電機株式会社
電動送風機
10日前
三菱電機株式会社
加熱調理器
26日前
三菱電機株式会社
半導体装置
1か月前
三菱電機株式会社
保護リレー
1か月前
三菱電機株式会社
冷凍冷蔵庫
3日前
三菱電機株式会社
半導体装置
5日前
三菱電機株式会社
半導体装置
3日前
三菱電機株式会社
空気調和機
1か月前
三菱電機株式会社
半導体装置
5日前
三菱電機株式会社
空気清浄装置
26日前
三菱電機株式会社
貯湯式給湯機
1か月前
三菱電機株式会社
光源デバイス
1か月前
三菱電機株式会社
ねじ締め装置
1か月前
三菱電機株式会社
制御システム
1か月前
三菱電機株式会社
位置算出装置
11日前
三菱電機株式会社
空調システム
1か月前
三菱電機株式会社
車両制御装置
10日前
三菱電機株式会社
空調システム
1か月前
三菱電機株式会社
照明システム
2か月前
続きを見る
他の特許を見る