TOP
|
特許
|
意匠
|
商標
特許ウォッチ
Twitter
他の特許を見る
10個以上の画像は省略されています。
公開番号
2025177651
公報種別
公開特許公報(A)
公開日
2025-12-05
出願番号
2024084679
出願日
2024-05-24
発明の名称
ローラ軸受用セパレータおよびクロスローラ軸受
出願人
日本トムソン株式会社
代理人
個人
,
個人
,
個人
,
個人
主分類
F16C
33/37 20060101AFI20251128BHJP(機械要素または単位;機械または装置の効果的機能を生じ維持するための一般的手段)
要約
【課題】ローラを円滑に転動させることができると共に、組み立て性を良好にすることができるローラ軸受用セパレータを提供する。
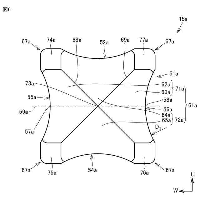
【解決手段】ローラ軸受用セパレータは、ローラを含むローラ軸受に用いられる。ローラ軸受用セパレータは、第1面、第2面、第3面、第4面、第5面および第6面を含む。第1面、第2面、第3面および第4面はそれぞれ、第5面の中心および第6面の中心を結ぶ仮想直線と離隔して配置されている。第1面、第2面、第3面および第4面にはそれぞれ、内方側に凹む凹形状部が設けられている。凹形状部は、第1方向をローラの転動軸心方向とした場合のローラの転動面に沿う第1円弧面と、第1方向に直交する第2方向をローラの転動軸心方向とした場合のローラの転動面に沿う第2円弧面と、を含む。第1面、第2面、第3面および第4面に設けられた凹形状部は、同じ形状である。
【選択図】図4
特許請求の範囲
【請求項1】
ローラを含むローラ軸受に用いられるローラ軸受用セパレータであって、
第1面、第2面、第3面、第4面、第5面および第6面を含み、
前記第1面、前記第2面、前記第3面および前記第4面はそれぞれ、前記第5面の中心および前記第6面の中心を結ぶ仮想直線と離隔して配置されており、
前記第1面、前記第2面、前記第3面および前記第4面にはそれぞれ、内方側に凹む凹形状部が設けられており、
前記凹形状部は、第1方向を前記ローラの転動軸心方向とした場合の前記ローラの転動面に沿う第1円弧面と、前記第1方向に直交する第2方向を前記ローラの転動軸心方向とした場合の前記ローラの転動面に沿う第2円弧面と、を含み、
前記第1面、前記第2面、前記第3面および前記第4面に設けられた前記凹形状部は、同じ形状である、ローラ軸受用セパレータ。
続きを表示(約 690 文字)
【請求項2】
前記第5面および前記第6面にはそれぞれ、前記凹形状部が設けられている、請求項1に記載のローラ軸受用セパレータ。
【請求項3】
前記第2円弧面の形状は、前記第1円弧面を前記第1面の中心を回転中心として90度回転させた形状である、請求項1または請求項2に記載のローラ軸受用セパレータ。
【請求項4】
前記第1面のうち、前記凹形状部を除く領域は、平面である、請求項1または請求項2に記載のローラ軸受用セパレータ。
【請求項5】
前記第1面の中心が最も内方側に凹んでいる、請求項1または請求項2に記載のローラ軸受用セパレータ。
【請求項6】
角部には、面取りが設けられている、請求項1または請求項2に記載のローラ軸受用セパレータ。
【請求項7】
前記第1面、前記第2面、前記第3面および前記第4面の少なくともいずれか一つには、油穴が設けられている、請求項1または請求項2に記載のローラ軸受用セパレータ。
【請求項8】
互いに直交する一対の外輪軌道面を内周面に有する外輪と、
前記外輪と中心軸が共通であり、互いに直交する一対の内輪軌道面を外周面に有する内輪と、
前記外輪軌道面および前記内輪軌道面を転動する転動面を有し、前記外輪と前記内輪との間において転動軸心を直交するように周方向に交互に配置される複数のローラと、
前記複数のローラ間にそれぞれ配置される請求項1または請求項2に記載の複数のローラ軸受用セパレータと、を備える、クロスローラ軸受。
発明の詳細な説明
【技術分野】
【0001】
本開示は、ローラ軸受用セパレータおよびクロスローラ軸受に関するものである。
続きを表示(約 2,300 文字)
【背景技術】
【0002】
外輪と、内輪と、複数のローラと、各ローラ間に配置される複数のセパレータを含むクロスローラ軸受が開示されている(例えば特許文献1および特許文献2参照)。
【先行技術文献】
【特許文献】
【0003】
特開2023-72107号公報
特開2013-160310号公報
【発明の概要】
【発明が解決しようとする課題】
【0004】
転動体としてローラを用いるローラ軸受においては、ローラを円滑に転動させることおよびローラ軸受の組み立て時における良好な組み立て性が求められる。
【0005】
そこで、ローラを円滑に転動させることができると共に、組み立て性を良好にすることができるローラ軸受用セパレータを提供することを目的の1つとする。
【課題を解決するための手段】
【0006】
本開示に従ったローラ軸受用セパレータは、ローラを含むローラ軸受に用いられる。ローラ軸受用セパレータは、第1面、第2面、第3面、第4面、第5面および第6面を含む。第1面、第2面、第3面および第4面はそれぞれ、第5面の中心および第6面の中心を結ぶ仮想直線と離隔して配置されている。第1面、第2面、第3面および第4面にはそれぞれ、内方側に凹む凹形状部が設けられている。凹形状部は、第1方向をローラの転動軸心方向とした場合のローラの転動面に沿う第1円弧面と、第1方向に直交する第2方向をローラの転動軸心方向とした場合のローラの転動面に沿う第2円弧面と、を含む。第1面、第2面、第3面および第4面に設けられた凹形状部は、同じ形状である。
【発明の効果】
【0007】
上記ローラ軸受用セパレータによれば、ローラを円滑に転動させることができると共に、組み立て性を良好にすることができる。
【図面の簡単な説明】
【0008】
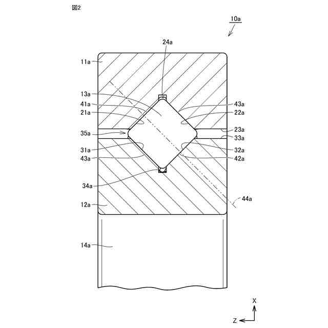
図1は、本開示の実施の形態1におけるローラ軸受用セパレータを含むクロスローラ軸受を示す概略斜視図である。
図2は、図1に示すクロスローラ軸受の一部を示す概略断面図である。
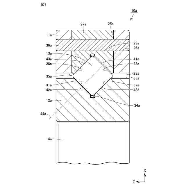
図3は、図1に示すクロスローラ軸受の一部を示す概略断面図である。
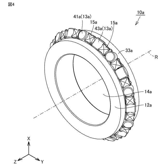
図4は、図1に示すクロスローラ軸受において、後述する外輪を取り除いた状態を示す概略斜視図である。
図5は、セパレータの概略斜視図である。
図6は、セパレータの概略側面図である。
図7は、図5に示すセパレータおよびセパレータに隣り合う2つのローラを示す概略斜視図である。
図8は、本開示の実施の形態2におけるローラ軸受用セパレータを示す概略斜視図である。
図9は、図8に示すセパレータの概略側面図である。
図10は、実施の形態2におけるローラ軸受用セパレータを含むクロスローラ軸受において、外輪を取り除いた状態を示す概略斜視図である。
図11は、図8に示すセパレータおよびセパレータに隣り合う2つのローラを示す概略斜視図である。
図12は、本開示の実施の形態3におけるローラ軸受用セパレータを示す概略側面図である。
【発明を実施するための形態】
【0009】
[実施形態の概要]
本開示に係るローラ軸受用セパレータは、ローラを含むローラ軸受に用いられる。ローラ軸受用セパレータは、第1面、第2面、第3面、第4面、第5面および第6面を含む。第1面、第2面、第3面および第4面はそれぞれ、第5面の中心および第6面の中心を結ぶ仮想直線と離隔して配置されている。第1面、第2面、第3面および第4面にはそれぞれ、内方側に凹む凹形状部が設けられている。凹形状部は、第1方向をローラの転動軸心方向とした場合のローラの転動面に沿う第1円弧面と、第1方向に直交する第2方向をローラの転動軸心方向とした場合のローラの転動面に沿う第2円弧面と、を含む。第1面、第2面、第3面および第4面に設けられた凹形状部は、同じ形状である。
【0010】
本開示のローラ軸受用セパレータによると、6面を有するローラ軸受用セパレータにおいて、第1面、第2面、第3面および第4面にはそれぞれ、内方側に凹む凹形状部が設けられている。凹形状部は、第1面、第2面、第3面および第4面においてそれぞれ同じ形状であって、それぞれローラの転動面に沿う形状の第1円弧面および第2円弧面を含む。そうすると、ローラとローラとの間にローラ軸受用セパレータが配置された際に、第1円弧面または第2円弧面によって適切にローラを案内することができる。したがって、第1円弧面または第2円弧面により、円滑にローラを転動させることができる。また、ローラ軸受用セパレータをローラ軸受の軌道路内に挿入する際にローラ軸受用セパレータが傾き、第1面が配置される向きが第2面、第3面または第4面となった場合でも、それぞれの面に設けられた凹形状部は同じであるため、第1面、第2面、第3面および第4面の間において方向性がなく、問題となることはない。そうすると、ローラ軸受用セパレータを挿入する際の向きの確認作業や挿入する向きの修正作業が生じるおそれを低減することができ、作業工数を削減することができる。したがって、作業時間の短縮を図ることができると共に、作業労力の軽減を図ることができる。以上より、上記ローラ軸受用セパレータによると、ローラを円滑に転動させることができると共に、組み立て性を良好にすることができる。
(【0011】以降は省略されています)
この特許をJ-PlatPat(特許庁公式サイト)で参照する
関連特許
日本トムソン株式会社
走行ロボット
11日前
日本トムソン株式会社
ローラ軸受用セパレータおよびクロスローラ軸受
4日前
個人
留め具
1か月前
個人
鍋虫ねじ
3か月前
個人
紛体用仕切弁
3か月前
個人
回転伝達機構
4か月前
個人
差動歯車用歯形
5か月前
個人
給排気装置
2か月前
個人
ジョイント
2か月前
個人
ナット
1か月前
個人
地震の揺れ回避装置
4か月前
株式会社不二工機
電磁弁
5か月前
個人
ナット
2か月前
個人
吐出量監視装置
3か月前
個人
ゲート弁バルブ
19日前
兼工業株式会社
バルブ
1か月前
カヤバ株式会社
ダンパ
5か月前
カヤバ株式会社
緩衝器
5か月前
カヤバ株式会社
緩衝器
5か月前
カヤバ株式会社
ダンパ
5か月前
柿沼金属精機株式会社
分岐管
3か月前
カヤバ株式会社
緩衝器
2か月前
株式会社不二工機
電磁弁
3か月前
株式会社ノーリツ
分配弁
2か月前
竹内工業株式会社
ラッチ
4日前
株式会社不二工機
電動弁
2か月前
株式会社ニフコ
クリップ
19日前
株式会社ニフコ
クリップ
2か月前
株式会社奥村組
制振機構
2か月前
株式会社奥村組
制振機構
2か月前
株式会社タカギ
水栓装置
4か月前
株式会社三五
ドライブシャフト
1か月前
アズビル株式会社
回転弁
2か月前
アズビル株式会社
連結装置
今日
井関農機株式会社
作業車両
5か月前
アズビル株式会社
連結装置
今日
続きを見る
他の特許を見る