TOP
|
特許
|
意匠
|
商標
特許ウォッチ
Twitter
他の特許を見る
公開番号
2025177536
公報種別
公開特許公報(A)
公開日
2025-12-05
出願番号
2024084463
出願日
2024-05-24
発明の名称
遺体冷却装置
出願人
エルテック株式会社
代理人
個人
主分類
A61G
17/04 20060101AFI20251128BHJP(医学または獣医学;衛生学)
要約
【課題】遺体の冷却を十分に行なって、遺体の腐敗を十分に抑制する遺体冷却装置の提供。
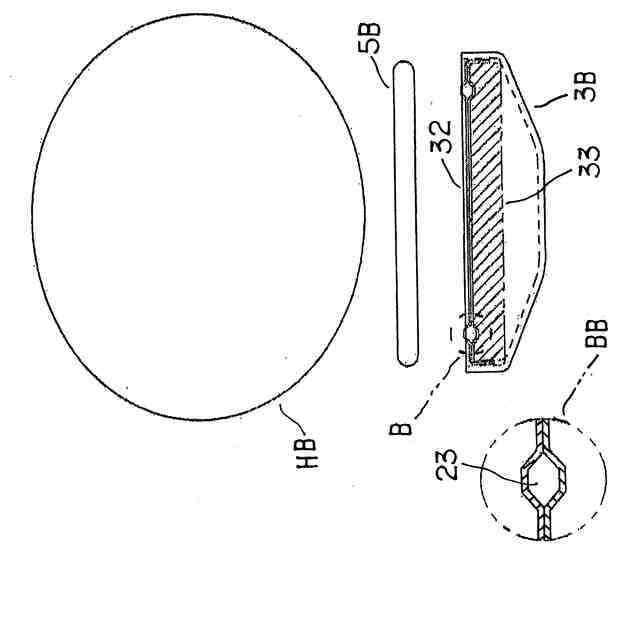
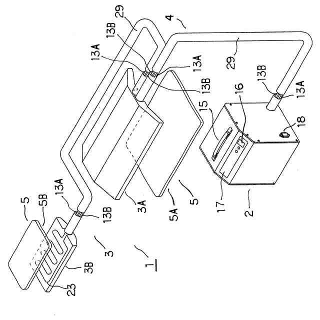
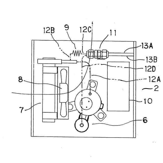
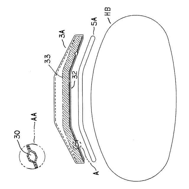
【解決手段】圧縮機6、凝縮器7及びキャピラリーチューブ9を備えた冷凍機体2と、この冷凍機体2により冷却される冷却器3と、これらを連結する冷媒循環路4と、冷却器3により冷却されて遺体に直接接して遺体を間接的に冷却する遺体冷却体5とを備え、前記冷媒循環路4で冷媒を循環させ、前記圧縮機6で冷媒蒸気を圧縮し、前記凝縮器7で凝縮させた冷媒を前記キャピラリーチューブ9で膨張させ、前記冷却器3で蒸発させる際に気化熱を前記遺体から奪うことを繰り返し行わせることによって、前記冷却器3により冷却され前記遺体冷却体5を介して前記遺体を冷却してこの遺体の腐敗を抑制する遺体冷却装置1において、前記冷却器3を身体冷却器3Aと頭部冷却器3Bとで構成すると共に、前記遺体冷却体5を身体冷却体5Aと頭部冷却体5Bとで構成した。
【選択図】図1
特許請求の範囲
【請求項1】
圧縮機、凝縮器及びキャピラリーチューブを備えた冷凍機体と、この冷凍機体により冷却される冷却器と、これらを連結する冷媒循環路と、前記冷却器により冷却されて遺体に直接接して遺体を間接的に冷却する遺体冷却体とを備え、前記冷媒循環路で冷媒を循環させ、前記圧縮機で冷媒蒸気を圧縮し、前記凝縮器で凝縮させた冷媒を前記キャピラリーチューブで膨張させ、前記冷却器で蒸発させる際に気化熱を前記遺体から奪うことを繰り返し行わせることによって、前記冷却器により冷却され前記遺体冷却体を介して前記遺体を冷却してこの遺体の腐敗を抑制する遺体冷却装置において、前記冷却器を身体冷却器と頭部冷却器とで構成すると共に、前記遺体冷却体を身体冷却体と頭部冷却体とで構成したことを特徴とする遺体冷却装置。
続きを表示(約 100 文字)
【請求項2】
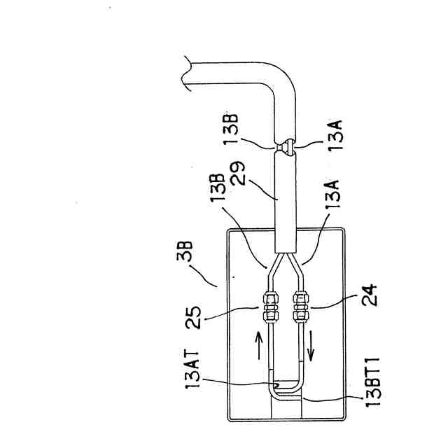
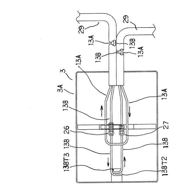
前記冷媒循環路を構成するフレキシブルな往き配管及び戻り配管を中空円筒形状を呈した断熱性能を有する結露防止用の可撓性の被覆筒体で被覆したことを特徴とする請求項1に記載の遺体冷却装置。
発明の詳細な説明
【技術分野】
【0001】
本発明は、遺体の腐敗を抑制する遺体冷却装置に関する。
続きを表示(約 1,200 文字)
【背景技術】
【0002】
市町村長の許可を受けて、遺体は火葬場にて火葬されるが、火葬するまでの間、遺体を腐敗を抑制防止しつつ保管するため、遺体の冷却を十分に行なう必要がある。
【0003】
この場合、ドライアイスを遺体の周囲に配置して、冷却することが行われることもあるが、ドライアイスは気化する温度が低く、気化し易く、多量のドライアイスが必要となり、また気化の際に大気中に二酸化炭素を発散させることにもなって甚だ危険である。
【0004】
このため従来、ドライアイスを使用しないで長時間の遺体冷却が可能な遺体冷却装置が提案された(特許文献1参照)。
【先行技術文献】
【特許文献】
【0005】
特開2020-195740号公報
【発明の概要】
【発明が解決しようとする課題】
【0006】
しかしながら、この従来の遺体冷却装置は遺体に直接接する遺体接触部が設けられる冷却器を備えていて、前記遺体接触部である遺体接触面を遺体の胸部、腹部に接触させるように、前記冷却器を遺体上に載置させて使用している。このため、遺体の頭部には接触しないものであるため、遺体を冷却するのに十分とはいえないものであった。
【0007】
そこで本発明は、上記の点に鑑み、遺体の冷却を十分に行なって、遺体の腐敗を十分に抑制する遺体冷却装置を提供することを目的とする。
【課題を解決するための手段】
【0008】
このため第1の発明は、圧縮機、凝縮器及びキャピラリーチューブを備えた冷凍機体と、この冷凍機体により冷却される冷却器と、これらを連結する冷媒循環路と、前記冷却器により冷却されて遺体に直接接して遺体を間接的に冷却する遺体冷却体とを備え、前記冷媒循環路で冷媒を循環させ、前記圧縮機で冷媒蒸気を圧縮し、前記凝縮器で凝縮させた冷媒を前記キャピラリーチューブで膨張させ、前記冷却器で蒸発させる際に気化熱を前記遺体から奪うことを繰り返し行わせることによって、前記冷却器により冷却され前記遺体冷却体を介して前記遺体を冷却してこの遺体の腐敗を抑制する遺体冷却装置において、前記冷却器を身体冷却器と頭部冷却器とで構成すると共に、前記遺体冷却体を身体冷却体と頭部冷却体とで構成したことを特徴とする。
【0009】
また第2の発明は、第1の発明において、前記冷媒循環路を構成するフレキシブルな往き配管及び戻り配管を中空円筒形状を呈した結露防止用の可撓性の被覆筒体で被覆したことを特徴とする。
【発明の効果】
【0010】
本発明によれば、遺体の冷却を十分に行なって、遺体の腐敗を十分に抑制する遺体冷却装置を提供することができる。
【図面の簡単な説明】
(【0011】以降は省略されています)
この特許をJ-PlatPat(特許庁公式サイト)で参照する
関連特許
他の特許を見る