TOP
|
特許
|
意匠
|
商標
特許ウォッチ
Twitter
他の特許を見る
10個以上の画像は省略されています。
公開番号
2025177534
公報種別
公開特許公報(A)
公開日
2025-12-05
出願番号
2024084460
出願日
2024-05-24
発明の名称
遊技機
出願人
株式会社三洋物産
代理人
個人
主分類
A63F
7/02 20060101AFI20251128BHJP(スポーツ;ゲーム;娯楽)
要約
【課題】遊技者にとっての興趣の向上等を図ることのできる遊技機を提供する。
【解決手段】大当たり遊技状態において可変入賞装置32A(大入賞口シャッタ32Ab)が開放状態となった後に、可変入賞装置32Aが閉鎖状態に移行する契機の違いに応じて、次の開放状態(次のラウンド)が開始されるまでのインターバル期間の長さが変更される。特に遊技者にとって有利度の低い所定状態(可変入賞装置32Aへの入賞個数が規定最大賞球個数に到達せず規定最大開放時間が経過した状態)となり可変入賞装置32Aが閉鎖状態に移行した場合には、遊技者にとって有利度の高い特定状態(可変入賞装置32Aへの入賞個数が規定最大賞球個数に到達した状態)となり可変入賞装置32Aが閉鎖状態に移行した場合よりも、可変入賞装置32Aが閉鎖状態に維持されるインターバル期間が短く、早く次の開放状態(次のラウンド)に移行させ得るよう構成されている。
【選択図】 図1-4
特許請求の範囲
【請求項1】
始動条件の成立に基づいて特定条件が満たされた場合に発生し得る特定遊技状態と、
前記特定遊技状態となった場合に、複数回の所定動作状態を実行し得る所定動作手段と、
前記特定遊技状態に関する制御および前記所定動作手段の制御を実行する制御手段と、を備えた遊技機であって、
前記制御手段は、前記特定遊技状態において前記所定動作手段が前記所定動作状態となった後に、少なくとも第1状態が発生した場合と、前記第1状態とは異なる第2状態が発生した場合に、前記所定動作手段を所定停止状態に移行させるものであり、
前記制御手段は、
前記所定動作手段を前記所定停止状態に移行させた場合に、少なくとも所定期間、前記所定動作手段を前記所定停止状態に維持する維持状態実行手段を備え、
前記特定遊技状態において、前記第1状態が発生して前記所定動作手段を前記所定停止状態に移行させた場合に、前記第2状態が発生して前記所定動作手段を前記所定停止状態に移行させた場合よりも早く前記所定動作状態に移行させ得るよう構成され、
遊技者にとって、前記第2状態は前記第1状態よりも有利度が高いことを特徴とする遊技機。
発明の詳細な説明
【技術分野】
【0001】
本発明は、パチンコ機等の遊技機に関するものである。
続きを表示(約 4,400 文字)
【背景技術】
【0002】
従来、遊技機の一種として、遊技球を遊技領域へ発射して遊技を行うパチンコ機が知られている。パチンコ機等の遊技機においては、遊技者に対し種々の興趣が提供されている(例えば、特許文献1参照)。
【先行技術文献】
【特許文献】
【0003】
特開2013-31769号公報
【発明の概要】
【発明が解決しようとする課題】
【0004】
しかしながら、従来の遊技機においては、さらなる興趣の向上等が望まれている。
【0005】
本発明は、上記例示した問題点等を解決するためになされたものであり、その目的は、遊技者にとっての興趣の向上等を図ることのできる遊技機を提供することにある。
【課題を解決するための手段】
【0006】
上記の目的を達成するため、本発明に係る遊技機は、
始動条件の成立に基づいて特定条件が満たされた場合に発生し得る特定遊技状態と、
前記特定遊技状態となった場合に、複数回の所定動作状態を実行し得る所定動作手段と、
前記特定遊技状態に関する制御および前記所定動作手段の制御を実行する制御手段と、を備えた遊技機であって、
前記制御手段は、前記特定遊技状態において前記所定動作手段が前記所定動作状態となった後に、少なくとも第1状態が発生した場合と、前記第1状態とは異なる第2状態が発生した場合に、前記所定動作手段を所定停止状態に移行させるものであり、
前記制御手段は、
前記所定動作手段を前記所定停止状態に移行させた場合に、少なくとも所定期間、前記所定動作手段を前記所定停止状態に維持する維持状態実行手段を備え、
前記特定遊技状態において、前記第1状態が発生して前記所定動作手段を前記所定停止状態に移行させた場合に、前記第2状態が発生して前記所定動作手段を前記所定停止状態に移行させた場合よりも早く前記所定動作状態に移行させ得るよう構成され、
遊技者にとって、前記第2状態は前記第1状態よりも有利度が高いことをその要旨としている。
【発明の効果】
【0007】
本発明の遊技機によれば、遊技者にとっての興趣の向上等を図ることができる。
【図面の簡単な説明】
【0008】
パチンコ機を示す正面図である。
パチンコ機を示す斜視図である。
内枠及び前面枠を開放した状態を示す斜視図である。
内枠及び遊技盤等の構成を示す正面図である。
パチンコ機の構成を示す背面図である。
内枠及び裏パックユニット等を開放した状態を示す斜視図である。
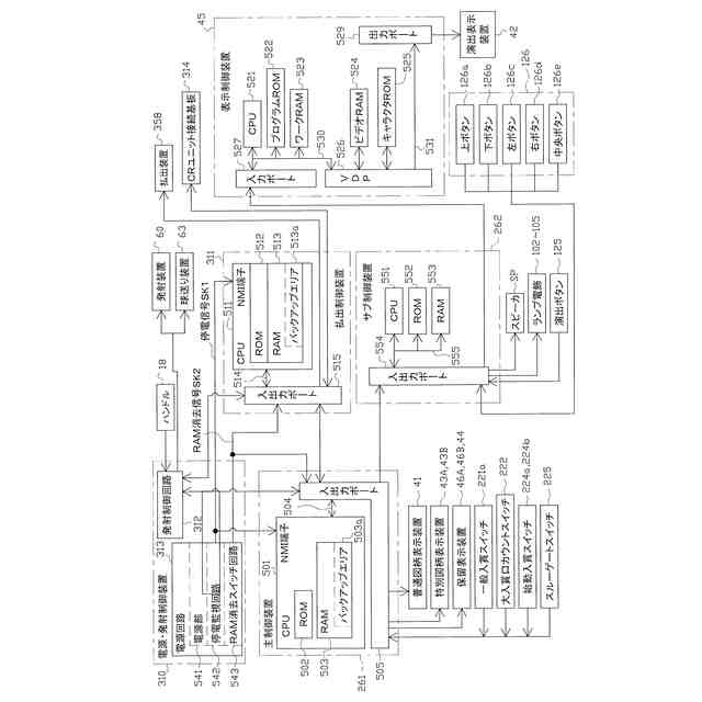
パチンコ機の主な電気的構成を示すブロック図である。
遊技制御に用いる各種カウンタの概要を示す説明図である。
主制御装置によるメイン処理を示すフローチャートである。
主制御装置による通常処理を示すフローチャートである。
タイマ割込み処理を示すフローチャートである。
NMI割込み処理を示すフローチャートである。
第2始動入賞処理を示すフローチャートである。
第1始動入賞処理を示すフローチャートである。
(a)は第1当否判定処理を示すフローチャートであり、(b)は第2当否判定処理を示すフローチャートである。
(a)は第1種別判定処理を示すフローチャートであり、(b)は第2種別判定処理を示すフローチャートである。
リーチ判定処理を示すフローチャートである。
スルーゲート通過処理を示すフローチャートである。
発射許可コマンド設定処理を示すフローチャートである。
第1特別表示制御処理を示すフローチャートである。
第1変動表示設定処理を示すフローチャートである。
特図1判別情報設定処理を示すフローチャートである。
第2特別表示制御処理を示すフローチャートである。
第2変動表示設定処理を示すフローチャートである。
特図2判別情報設定処理を示すフローチャートである。
可変入賞装置制御処理を示すフローチャートである。
終了設定処理を示すフローチャートである。
普通表示制御処理を示すフローチャートである。
普図変動設定処理を示すフローチャートである。
普図判別情報設定処理を示すフローチャートである。
始動入賞部制御処理を示すフローチャートである。
受信割込み処理を示すフローチャートである。
払出制御装置のメイン処理を示すフローチャートである。
タイマ割込み処理を示すフローチャートである。
コマンド判定処理を示すフローチャートである。
サブ制御装置の通常処理を示すフローチャートである。
装飾図柄の決定等に用いる各種カウンタの概要を示す説明図である。
カウンタの更新処理を示すフローチャートである。
保留情報格納処理を示すフローチャートである。
保留処理を示すフローチャートである。
当たり表示処理を示すフローチャートである。
変動表示設定処理を示すフローチャートである。
変動停止処理を示すフローチャートである。
通常ステージ演出に係る演出表示装置の一表示態様例を示す図である。
オープニング演出に係る演出表示装置の一表示態様例を示す図である。
ラウンド演出に係る演出表示装置の一表示態様例を示す図である。
インターバル演出(待機演出)に係る演出表示装置の一表示態様例を示す図である。
インターバル演出(移行演出)に係る演出表示装置の一表示態様例を示す図である。
エンディング演出に係る演出表示装置の一表示態様例を示す図である。
ラッシュステージ演出に係る演出表示装置の一表示態様例を示す図である。
バトルステージ演出に係る演出表示装置の一表示態様例を示す図である。
ラッキーステージ演出に係る演出表示装置の一表示態様例を示す図である。
(a)~(c)はインターバル時間決定用テーブルを示す図である。
パチンコ機及びカードユニットを示す正面図である。
(a)はパチンコ機を示す斜視図であり、(b)は第2操作ユニット(十字キー)を示す平面図である。
内枠及び前面枠を開放した状態を示す斜視図である。
内枠及び遊技盤等の構成を示す正面図である。
パチンコ機の構成を示す背面図である。
内枠及び裏パックユニット等を開放した状態を示す斜視図である。
パチンコ機の主な電気的構成を示すブロック図である。
カードユニット、カードユニット接続基板、カードユニット操作部、計数管理装置及びサブ制御装置の電気的構成を示すブロック図である。
遊技制御に用いる各種カウンタの概要を示す説明図である。
主制御装置によるメイン処理を示すフローチャートである。
主制御装置による通常処理を示すフローチャートである。
(a)はタイマ割込み処理を示すフローチャートであり、(b)はNMI割込み処理を示すフローチャートである。
第2始動入賞処理を示すフローチャートである。
第1始動入賞処理を示すフローチャートである。
(a)は第1当否判定処理を示すフローチャートであり、(b)は第2当否判定処理を示すフローチャートである。
(a)は第1種別判定処理を示すフローチャートであり、(b)は第2種別判定処理を示すフローチャートである。
リーチ判定処理を示すフローチャートである。
スルーゲート通過処理を示すフローチャートである。
発射許可コマンド設定処理を示すフローチャートである。
第1特別表示制御処理を示すフローチャートである。
第1変動表示設定処理を示すフローチャートである。
特図1判別情報設定処理を示すフローチャートである。
第2特別表示制御処理を示すフローチャートである。
第2変動表示設定処理を示すフローチャートである。
特図2判別情報設定処理を示すフローチャートである。
可変入賞装置制御処理を示すフローチャートである。
終了設定処理を示すフローチャートである。
普通表示制御処理を示すフローチャートである。
普図変動設定処理を示すフローチャートである。
普図判別情報設定処理を示すフローチャートである。
始動入賞部制御処理を示すフローチャートである。
(a)は計数管理装置の受信割込み処理を示すフローチャートであり、(b)はタイマ割込み処理を示すフローチャートである。
計数管理装置のメイン処理を示すフローチャートである。
計数管理装置の貸出設定処理を示すフローチャートである。
計数管理装置のコマンド判定処理を示すフローチャートである。
サブ制御装置の通常処理を示すフローチャートである。
装飾図柄の決定等に用いる各種カウンタの概要を示す説明図である。
カウンタの更新処理を示すフローチャートである。
保留情報格納処理を示すフローチャートである。
保留処理を示すフローチャートである。
当たり表示処理を示すフローチャートである。
変動表示設定処理を示すフローチャートである。
変動停止処理を示すフローチャートである。
待機処理を示すフローチャートである。
(a)はカードユニットのメイン処理を示すフローチャートであり、(b)はカードユニットの通常処理を示すフローチャートである。
カードユニットの貸出指示処理を示すフローチャートである。
(a)は通常ステージ演出に係る演出表示装置の一表示態様例を示す図であり、(b)は大当たり演出に係る演出表示装置の一表示態様例を示す図である。
【発明を実施するための形態】
【0009】
〔第1実施形態〕
以下、第1実施形態に係るパチンコ遊技機(以下、単に「パチンコ機」という)10について図面を参照して詳しく説明する。
【0010】
従来、遊技機の一種として、遊技球を遊技領域へ発射して遊技を行うパチンコ機が知られている。
(【0011】以降は省略されています)
この特許をJ-PlatPat(特許庁公式サイト)で参照する
関連特許
株式会社三洋物産
遊技機
2か月前
株式会社三洋物産
遊技機
1か月前
株式会社三洋物産
遊技機
1か月前
株式会社三洋物産
遊技機
1か月前
株式会社三洋物産
遊技機
1か月前
株式会社三洋物産
遊技機
1か月前
株式会社三洋物産
遊技機
1か月前
株式会社三洋物産
遊技機
1か月前
株式会社三洋物産
遊技機
1か月前
株式会社三洋物産
遊技機
1か月前
株式会社三洋物産
遊技機
1か月前
株式会社三洋物産
遊技機
1か月前
株式会社三洋物産
遊技機
1か月前
株式会社三洋物産
遊技機
1か月前
株式会社三洋物産
遊技機
1か月前
株式会社三洋物産
遊技機
1か月前
株式会社三洋物産
遊技機
1か月前
株式会社三洋物産
遊技機
1か月前
株式会社三洋物産
遊技機
1か月前
株式会社三洋物産
遊技機
1か月前
株式会社三洋物産
遊技機
1か月前
株式会社三洋物産
遊技機
1か月前
株式会社三洋物産
遊技機
1か月前
株式会社三洋物産
遊技機
1か月前
株式会社三洋物産
遊技機
1か月前
株式会社三洋物産
遊技機
1か月前
株式会社三洋物産
遊技機
1か月前
株式会社三洋物産
遊技機
1か月前
株式会社三洋物産
遊技機
1か月前
株式会社三洋物産
遊技機
1か月前
株式会社三洋物産
遊技機
1か月前
株式会社三洋物産
遊技機
1か月前
株式会社三洋物産
遊技機
1か月前
株式会社三洋物産
遊技機
1か月前
株式会社三洋物産
遊技機
1か月前
株式会社三洋物産
遊技機
1か月前
続きを見る
他の特許を見る