TOP
|
特許
|
意匠
|
商標
特許ウォッチ
Twitter
他の特許を見る
10個以上の画像は省略されています。
公開番号
2025177528
公報種別
公開特許公報(A)
公開日
2025-12-05
出願番号
2024084445
出願日
2024-05-24
発明の名称
用紙積載装置
出願人
デュプロ精工株式会社
代理人
個人
主分類
B65H
31/34 20060101AFI20251128BHJP(運搬;包装;貯蔵;薄板状または線条材料の取扱い)
要約
【課題】本発明の目的は、排出口から排出される用紙の種類に関わらず、載置部に積載される用紙の揃え性能を向上させることができ、又、ガイド位置が簡単且つ、確実に設定できる用紙積載装置を提供することである。
【解決手段】ガイド制御部は、排出口から排出される用紙の側縁の位置に基づいて、サイドガイドの幅方向の位置を設定するガイド位置設定部と、サイドガイドの上端部が、排出口から排出された用紙の側縁下部を支持する位置にガイド位置設定部を設定する第1モードと、を備えた。
【選択図】図11
特許請求の範囲
【請求項1】
用紙を搬送する搬送部によって排出口から排出された前記用紙を積載する載置部と、
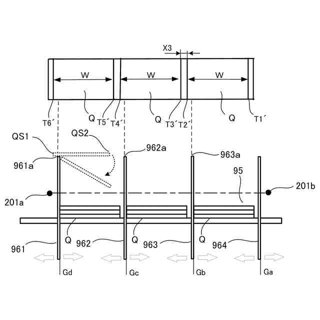
前記用紙の排出方向に交差する幅方向の端縁を規制するサイドガイドと、前記サイドガイドを前記幅方向に移動するガイド駆動部と、前記ガイド駆動部の動作を制御するガイド制御部と、を備えている、用紙積載装置であって、
前記ガイド制御部は、前記排出口から排出される前記用紙の側縁の位置に基づいて、前記サイドガイドの前記幅方向の位置を設定するガイド位置設定部と、前記サイドガイドの上端部が、前記排出口から排出された前記用紙の側縁下部を支持する位置にガイド位置設定部を設定する第1モードと、を備えたことを特徴とする用紙積載装置。
続きを表示(約 1,300 文字)
【請求項2】
レベルセンサを備え、前記レベルセンサが前記載置部に積載された前記用紙が所定高さに至ったことを検知したときは、前記サイドガイドが前記用紙に接触しない位置に変更する第2モードに切り替える切替制御部を備えたことを特徴とする請求項1に記載の用紙積載装置。
【請求項3】
前記切替制御部は、前記レベルセンサが所定量継続して前記用紙が所定高さに至ったこと検出した場合に、前記第2モードに切り替える、ことを特徴とする請求項2に記載の用紙積載装置。
【請求項4】
前記サイドガイドは、前記幅方向に隣接して設置される第1のサイドガイドと第2のサイドガイドとを備え、前記第1モードにおいては、前記第1のサイドガイドは、前記用紙の一方の側縁に接触する位置に、前記第2のサイドガイドは、前記用紙の他方の側縁より所定距離だけ離れた位置に配置される、ことを特徴とする請求項2に記載の用紙積載装置。
【請求項5】
前記ガイド制御部は、前記用紙の前記側縁を整合させるジョガー動作を実行可能であり、前記第1モードから前記第2モードに切り替え前において、前記第1のサイドガイドを前記用紙の一方の側縁に接触する位置から、前記用紙の側縁より所定距離だけ離れた位置へ移動させた後に、前記ジョガー動作を行う、ことを特徴とする請求項4に記載の用紙積載装置。
【請求項6】
前記載置部に、前記用紙の前端を規制すると共に、前記ガイド制御部により用紙搬送方向の位置が変更可能な突き当てガイドを備え、前記ジョガー動作を行う前に、前記突き当てガイドが、前記載置部上に積載される前記用紙の前端縁部より所定距離だけ離した退避位置に配置される、ことを特徴とする請求項5に記載の用紙積載装置。
【請求項7】
前記ジョガー動作を行った後に、前記レベルセンサが、前記用紙が所定高さに至ったことを検出しない場合は、再び、前記第1モードに切り替える、ことを特徴とする請求項5に記載の用紙積載装置。
【請求項8】
前記第1モードまたは前記第2モードがユーザによって選択可能である、ことを特徴とする請求項2に記載の用紙積載装置。
【請求項9】
用紙を搬送する搬送部と、 前記搬送部によって搬送される用紙を搬送方向に沿って裁断する裁断部と、 前記裁断部によって処理されて前記搬送部によって排出口から排出された用紙を積載する載置部と、前記用紙の排出方向に交差する幅方向の端縁を規制するサイドガイドと、前記サイドガイドを前記幅方向に移動するガイド駆動部と、前記ガイド駆動部の動作を制御するガイド制御部と、を備えている、加工処理装置であって、
前記ガイド制御部は、前記裁断部によるシートの裁断位置に基づいて、前記サイドガイドの前記幅方向の位置を設定するガイド位置設定部と、前記サイドガイドの上端部が、前記排出口から排出された前記用紙の側縁下部を支持する位置にガイド位置設定部を設定する第1モードと、前記載置部に積載される前記用紙が、所定高さに至ったとき、前記サイドガイドが前記用紙に接触しない位置に変更する第2モードとを切り替える切替制御部とを備えたことを特徴とする加工処理装置。
発明の詳細な説明
【技術分野】
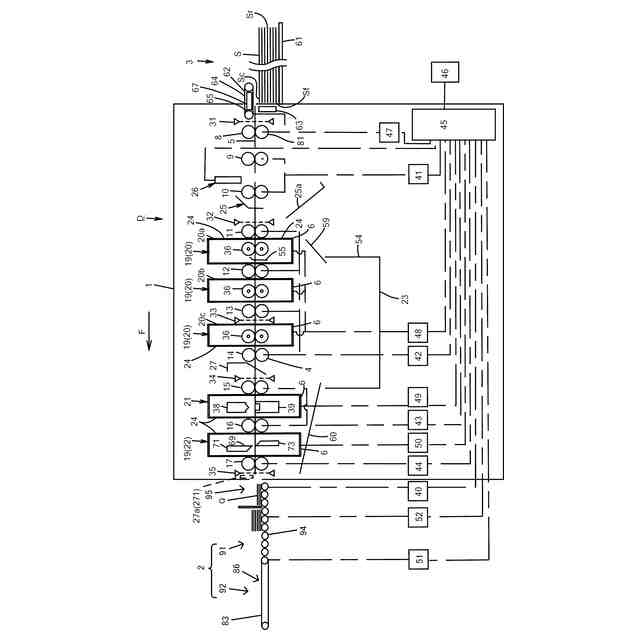
【0001】
本発明は、排出される用紙を受けて積重ねる載置部を有する用紙積載装置に関するものであって、具体的には、用紙進行方向に1列又は複数列で連続的に排出される用紙を受けて、そのままの区分け状態で載置部に積み重ねる装置に関するものである。
さらに具体的には、用紙を搬送しながら裁断して、用紙ガイドを備えた載置台に加工済用紙を区分け状態で積載する、加工処理装置に関するものである。
続きを表示(約 1,600 文字)
【背景技術】
【0002】
従来の加工処理装置においては、例えば、特許文献1に示されるように、用紙を搬送しながら用紙を裁断して、並んだ状態の用紙片を作成し、該用紙片を側縁ガイドで区分けながら載置台に積載する、という作業が実行されることがある。
【先行技術文献】
【特許文献】
【0003】
特開2017-186142号公報
【発明の概要】
【発明が解決しようとする課題】
【0004】
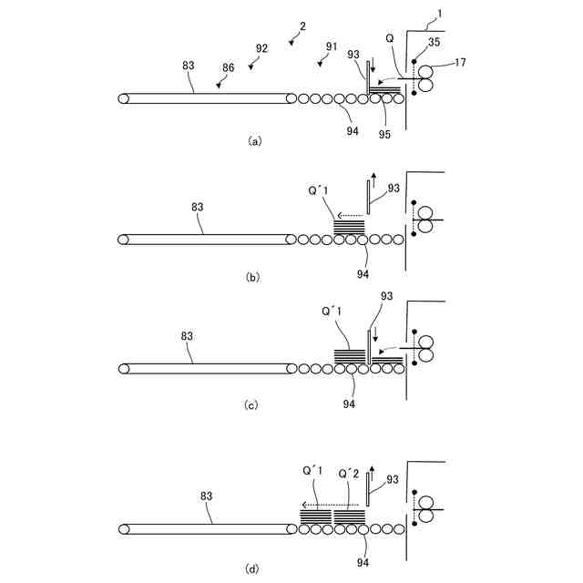
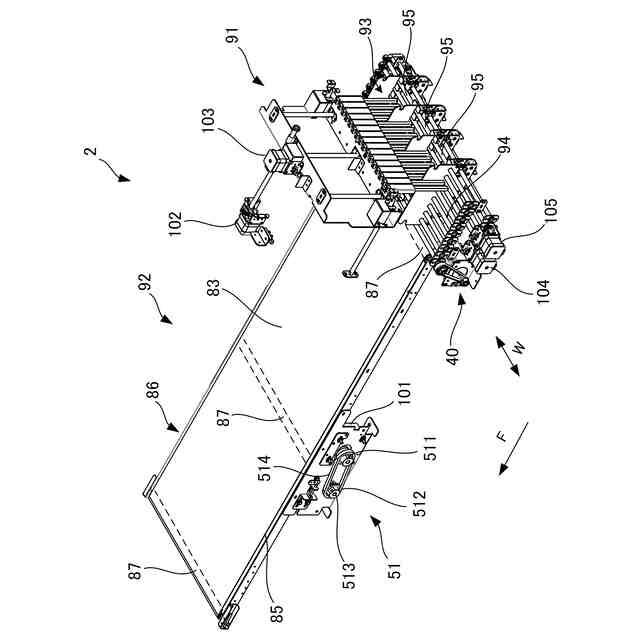
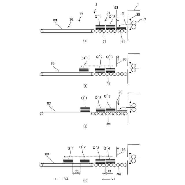
しかしながら、従来の加工処理装置において、特許文献1に示されるような作業を実行すると、裁断部によって処理されて搬送部によって排出口から排出された用紙が載置部に正常に積載されないことがある。この場合、特に、排出される用紙の種類に影響される。例えば、搬送方向の用紙長さが短い場合は、排出ローラにより排出口から排出される用紙のニップ距離が十分でなく、載置部に十分に届かずに排出口付近で無造作に積み上げられることがあり、又、用紙厚さが薄い場合は、載置部に皺が寄った状態で積み上げられることがある。
【0005】
本発明の目的は、前記従来技術の課題に鑑み、排出口から排出される用紙の種類に関わらず、載置部に積載される用紙の揃え性能を向上させることができ、又、ガイド位置が簡単且つ、確実に設定できる用紙積載装置を提供することである。
【課題を解決するための手段】
【0006】
上記目的を達成するために、請求項1記載の発明は、用紙を搬送する搬送部によって排出口から排出された前記用紙を積載する載置部と、前記用紙の排出方向に交差する幅方向の端縁を規制するサイドガイドと、前記サイドガイドを前記幅方向に移動するガイド駆動部と、前記ガイド駆動部の動作を制御するガイド制御部と、を備えている、用紙積載装置であって、前記ガイド制御部は、前記排出口から排出される前記用紙の側縁の位置に基づいて、前記サイドガイドの前記幅方向の位置を設定するガイド位置設定部と、前記サイドガイドの上端部が、前記排出口から排出された前記用紙の側縁下部を支持する位置にガイド位置設定部を設定する第1モードと、を備えた、ことを特徴とするものである。
【0007】
請求項2記載の発明は、請求項1記載の用紙積載装置において、レベルセンサを備え、前記レベルセンサが前記載置部に積載された前記用紙が所定高さに至ったことを検知したときは、前記サイドガイドが前記用紙に接触しない位置に変更する第2モードに切り替える切替制御部を備えた、ことを特徴とするものである。
【0008】
請求項3記載の発明は、請求項2記載の用紙積載装置において、前記切替制御部は、前記レベルセンサが所定量継続して前記用紙が所定高さに至ったこと検出した場合に、前記第2モードに切り替える、ことを特徴とするものである。
【0009】
請求項4記載の発明は、請求項2記載の用紙積載装置において、前記サイドガイドは、前記幅方向に隣接して設置される第1のサイドガイドと第2のサイドガイドとを備え、前記第1モードにおいては、前記第1のサイドガイドは、前記用紙の一方の側縁に接触する位置に、前記第2のサイドガイドは、前記用紙の他方の側縁より所定距離だけ離れた位置に配置される、ことを特徴とするものである。
【0010】
請求項5記載の発明は、請求項4記載の用紙積載装置において、前記ガイド制御部は、前記用紙の前記側縁を整合させるジョガー動作を実行可能であり、前記第1モードから前記第2モードに切り替え前において、前記第1のサイドガイドを前記用紙の一方の側縁に接触する位置から、前記用紙の側縁より所定距離だけ離れた位置へ移動させた後に、前記ジョガー動作を行う、ことを特徴とするものである。
(【0011】以降は省略されています)
この特許をJ-PlatPat(特許庁公式サイト)で参照する
関連特許
デュプロ精工株式会社
用紙積載装置
3日前
個人
束ね具
27日前
個人
収容箱
4か月前
個人
コンベア
6か月前
個人
段ボール箱
8か月前
個人
段ボール箱
8か月前
個人
容器
10か月前
個人
ゴミ収集器
8か月前
個人
バンド
3か月前
個人
土嚢運搬器具
9か月前
個人
角筒状構造体
6か月前
個人
宅配システム
8か月前
個人
楽ちんハンド
6か月前
個人
テープ引出機
27日前
個人
包装容器
2か月前
個人
お薬の締結装置
7か月前
個人
閉塞装置
11か月前
個人
コード類収納具
9か月前
個人
棒状体収容容器
1か月前
個人
廃棄物収容容器
4か月前
個人
積み重ね用補助具
4か月前
株式会社和気
包装用箱
1か月前
個人
蓋閉止構造
5か月前
個人
蓋閉止構造
5か月前
個人
ゴミ処理機
10か月前
株式会社コロナ
梱包材
6か月前
個人
貯蔵サイロ
8か月前
株式会社和気
包装用箱
10か月前
個人
把手付米袋
6か月前
株式会社バンダイ
物品
2か月前
株式会社ナベル
検査装置
1か月前
個人
袋入り即席麺
8か月前
三甲株式会社
蓋体
9か月前
三甲株式会社
容器
3か月前
個人
介護用コップ
3か月前
個人
包装箱
11か月前
続きを見る
他の特許を見る