TOP
|
特許
|
意匠
|
商標
特許ウォッチ
Twitter
他の特許を見る
公開番号
2025177483
公報種別
公開特許公報(A)
公開日
2025-12-05
出願番号
2024084345
出願日
2024-05-23
発明の名称
面発光半導体レーザ素子及びその製造方法
出願人
スタンレー電気株式会社
,
国立大学法人京都大学
代理人
個人
,
個人
主分類
H01S
5/11 20210101AFI20251128BHJP(基本的電気素子)
要約
【課題】高品質の活性層を有し、良好な素子特性及び優れた素子寿命を備えた、フォトニック結晶を有する面発光半導体レーザ素子及びその製造方法を提供する。
【解決手段】(a)基板上にホール形成準備層を形成し、(b)ホール形成準備層に、格子点の各々に2次元的に配置されたホールを形成して、ホール形成層を形成し、(c)第1のファセット成長を行ってホールの開口面を閉塞し、(d)第1のファセット成長の成長時間の40%以上の成長時間で第2のファセット成長を行って第1の埋込層を形成し、(e)第1の埋込層を平坦に埋め込む第2の埋込層の成長を行い、ホールに対応する空孔を有する空孔層を含むガイド層を形成し、(f)ガイド層上に活性層を含む半導体層の結晶成長を行う。
【選択図】図3
特許請求の範囲
【請求項1】
フォトニック結晶を有する面発光半導体レーザ素子の製造方法であって、
(a)基板上にホール形成準備層を形成し、
(b)前記ホール形成準備層に、格子点の各々に2次元的に配置されたホールを形成して、ホール形成層を形成し、
(c)第1のファセット成長を行って前記ホールの開口面を閉塞し、
(d)前記第1のファセット成長の成長時間の40%以上の成長時間で第2のファセット成長を行って第1の埋込層を形成し、
(e)前記第1の埋込層を平坦に埋め込む第2の埋込層の成長を行い、前記ホールに対応する空孔を有する空孔層を含むガイド層を形成し、
(f)前記ガイド層上に活性層を含む半導体層の結晶成長を行う、
面発光半導体レーザ素子の製造方法。
続きを表示(約 1,100 文字)
【請求項2】
前記面発光半導体レーザ素子はGaN系半導体レーザ素子であり、
前記基板の結晶成長面及び前記第2の埋込層の表面は{0001}面である、
請求項1に記載の面発光半導体レーザ素子の製造方法。
【請求項3】
前記第2のファセット成長の成長時間は、前記第1のファセット成長の成長時間の50%以上100%以下である請求項1に記載の面発光半導体レーザ素子の製造方法。
【請求項4】
前記活性層における転位の割合は、前記空孔の数に対して100ppm以下である請求項1に記載の面発光半導体レーザ素子の製造方法。
【請求項5】
前記第1のファセット成長はGaNの成長であり、
前記第2のファセット成長は、GaNにInを1%未満の組成で添加してなされる、請求項2に記載の面発光半導体レーザ素子の製造方法。
【請求項6】
前記第2のファセット成長は前記第1のファセット成長と同一の成長条件により行われる請求項1に記載の面発光半導体レーザ素子の製造方法。
【請求項7】
前記第2のファセット成長は、前記第1のファセット成長に比べて、成長速度、成長温度、V/III比及び水素分圧のうち少なくとも1つの成長条件を変更して行われる請求項1ないし5のいずれか一項に記載の面発光半導体レーザ素子の製造方法。
【請求項8】
窒化物半導体からなる面発光レーザ素子であって、
基板と、
前記基板上に設けられた第1の半導体層と、
前記第1の半導体層上に設けられた活性層と、
前記活性層上に設けられ、前記第1の半導体層とは反対導電型の第2の半導体層と、を備え、
前記第1の半導体層は、前記活性層に平行な面内において2次元的な周期性を有して配された空孔を備えるフォトニック結晶層である空孔層と、埋込層と、を有し、
前記埋込層は、前記空孔を閉塞する第1の埋込層と、前記第1の埋込層を平坦に埋め込む第2の埋込層と、を有し、
前記活性層における転位の割合は、前記空孔の数に対して100ppm以下である、
面発光半導体レーザ素子
【請求項9】
前記面発光半導体レーザ素子はGaN系半導体レーザ素子であり、
前記基板の結晶成長面及び前記第2の埋込層の表面は{0001}面である、
請求項8に記載の面発光半導体レーザ素子。
【請求項10】
前記活性層における転位の割合は、前記空孔の数に対して50ppm以下である請求項8に記載の面発光半導体レーザ素子。
(【請求項11】以降は省略されています)
発明の詳細な説明
【技術分野】
【0001】
本発明は、フォトニック結晶を有する面発光半導体レーザ素子及びその製造方法に関する。
続きを表示(約 2,900 文字)
【背景技術】
【0002】
近年、フォトニック結晶(PC:Photonic Crystal)を用いた、フォトニック結晶面発光レーザ(PCSEL:Photonic-Crystal Surface-Emitting Laser)の開発が進められている。
【0003】
例えば、特許文献1には、フォトニック結晶レーザにおいて空孔層における回折効 果を強め高い共振効果を得るために、ファセット選択成長を用いて側面が{10-10}からなる六角柱構造の空孔をIII族窒化物半導体層内に埋め込む方法が提案されている。これにより、フィリングファクタが大きく、また大きな光閉じ込め係数を有するフォトニック結晶を備えたフォトニック結晶レーザ素子を実現することについて記載されている。
【0004】
また、特許文献2には、フォトニック結晶レーザにおいて、ファセットを有する凹部を形成するように結晶成長を行って、空孔の開口部を閉塞し、その後、マストランスポートを利用して空孔をIII族窒化物半導体層内に埋め込む方法が提案されている。これにより、フォトニック結晶層を伝搬する光波に対する結合係数が大きなフォトニック結晶レーザを得ることについて記載されている。
【先行技術文献】
【特許文献】
【0005】
特許第7101370号公報
特開2020-38892号公報
【発明の概要】
【発明が解決しようとする課題】
【0006】
しかしながら、本願の発明者は、ファセット成長により空孔を閉塞した後、マストランスポートによって空孔を埋め込んだ場合に、埋込層内に微細な空隙が残り、結晶転位が発生すること、また、当該結晶転位に起因して活性層に突起等が生じ、素子特性の劣化の原因になるとの知見を得た。
【0007】
本願発明は、かかる知見に基づいてなされたものであり、突起等の異常成長が抑制された高品質の半導体層を有し、良好な素子特性及び優れた素子寿命を備えた、フォトニック結晶を有する面発光半導体レーザ素子及びその製造方法を提供することを目的としている。
【課題を解決するための手段】
【0008】
本発明の1実施態様によるフォトニック結晶を有する面発光半導体レーザ素子の製造方法は、
(a)基板上にホール形成準備層を形成し、
(b)前記ホール形成準備層に、格子点の各々に2次元的に配置されたホールを形成して、ホール形成層を形成し、
(c)第1のファセット成長を行って前記ホールの開口面を閉塞し、
(d)前記第1のファセット成長の成長時間の40%以上の成長時間で第2のファセット成長を行って第1の埋込層を形成し、
(e)前記第1の埋込層を平坦に埋め込む第2の埋込層の成長を行い、前記ホールに対応する空孔を有する空孔層を含むガイド層を形成し、
(f)前記ガイド層上に活性層を含む半導体層の結晶成長を行う、ことを特徴とする。
【0009】
本発明の他の実施態様によるフォトニック結晶を有する面発光半導体レーザ素子は、
窒化物半導体からなる面発光レーザ素子であって、
基板と、
前記基板上に設けられた第1の半導体層と、
前記第1の半導体層上に設けられた活性層と、
前記活性層上に設けられ、前記第1の半導体層とは反対導電型の第2の半導体層と、を備え、
前記第1の半導体層は、前記活性層に平行な面内において2次元的な周期性を有して配された空孔を備えるフォトニック結晶層である空孔層と、埋込層と、を有し、
前記埋込層は、前記空孔を閉塞する第1の埋込層と、前記第1の埋込層を平坦に埋め込む第2の埋込層と、を有し、
前記活性層における転位の割合は、前記空孔の数に対して100ppm以下である。
【図面の簡単な説明】
【0010】
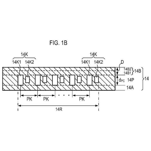
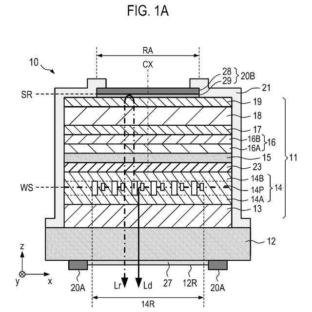
第1の実施形態のPCSEL素子の構造の一例を模式的に示す断面図である。
図1Aに示す空孔層中に配列された空孔を模式的に示す拡大断面図である。
PCSEL素子の上面を模式的に示す平面図である。
n側ガイド層に平行な面における断面を模式的に示す断面図である。
PCSEL素子の下面を模式的に示す平面図である。
第1の実施形態のPCSEL素子の製造方法を示すフローチャートである。
埋込層の形成ステップS0~S3におけるn側ガイド層の断面を模式的に示す断面図である。
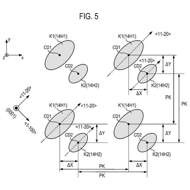
レジストの主開口及び副開口、及び、エッチング後の主ホール及び副ホールを模式的に示す平面図である。
形成された空孔層の中心軸CXに垂直な断面を模式的に示す図である。
形成された空孔層の中心軸CXに垂直な断面を示すSEM像である。
空孔閉塞成長(ステップS1)を行った後の成長層の断面SEM像である。
図8Aに示す領域Wを拡大して示す模式的な部分拡大断面図である。
平坦化埋込成長(ステップS3)を行った後のn側ガイド層の断面SEM像である。
図8Aに示した領域と同一の領域Wを拡大して示す模式的な部分拡大断面図である。
空隙充填成長を行わず、n側ガイド層の一部領域に空孔層を形成し、p-コンタクト層まで結晶成長したエピウエハの表面の蛍光顕微鏡像である。
空隙充填成長を行わず、n側ガイド層の一部領域に空孔層を形成し、活性層まで結晶成長したエピウエハの表面の蛍光顕微鏡像である。
図10Bに示した活性層の表面のAFM像である。
図11Aに示した像の一部領域Eを拡大したAFM像である。
図11Bの線F-Fに沿った表面粗さプロファイルである。
半導体構造層の断面を示し、転位線及び突起を模式的に示す図である。
空孔閉塞成長(ステップS1)及び空隙充填成長(ステップS2)の成長時間に対する転位DLの発生割合RDをプロットしたグラフである。
空隙充填成長(ステップS2)を成長時間TP=7minで行った場合のエピウエハの表面の蛍光顕微鏡像である。
空隙充填成長(ステップS2)を成長時間TP=12minで行った場合のエピウエハの表面の蛍光顕微鏡像である。
空隙充填成長を成長時間TP=12minで行った場合の活性層の表面のAFM像である。
図15Aに示した像の一部領域Gを拡大したAFM像である。
図11Bの線H-Hに沿った表面粗さプロファイルである。
PCSEL素子を連続駆動したときの光出力の維持率を示すグラフである。
転位の発生割合RDに対する素子寿命をプロットした図である。
【発明を実施するための形態】
(【0011】以降は省略されています)
この特許をJ-PlatPat(特許庁公式サイト)で参照する
関連特許
日機装株式会社
加圧装置
3日前
日新イオン機器株式会社
イオン源
3日前
個人
電源ボックス及び電子機器
3日前
株式会社東芝
電子源
3日前
株式会社トクミ
ケーブル
4日前
大電株式会社
電線又はケーブル
10日前
日本特殊陶業株式会社
アンテナ装置
5日前
日本航空電子工業株式会社
コネクタ
3日前
日本特殊陶業株式会社
アンテナ装置
5日前
三菱電機株式会社
半導体装置
3日前
日本特殊陶業株式会社
アンテナ装置
5日前
トヨタ自動車株式会社
蓄電装置構造
4日前
株式会社ダイヘン
電圧調整装置
5日前
株式会社興電舎
励磁突入電流抑制方法
3日前
TDK株式会社
電子部品
5日前
矢崎総業株式会社
コネクタ
4日前
新光電気工業株式会社
半導体装置
3日前
矢崎総業株式会社
コネクタ
4日前
住友電気工業株式会社
半導体装置
4日前
矢崎総業株式会社
接合装置
3日前
矢崎総業株式会社
ヒューズ接続端子
4日前
Astemo株式会社
電子制御装置
3日前
矢崎総業株式会社
電線固定構造
3日前
日本バイリーン株式会社
電気化学素子用セパレータ
4日前
矢崎総業株式会社
コネクタ
3日前
矢崎総業株式会社
端子防水構造
4日前
矢崎総業株式会社
端子防水構造
4日前
ウシオ電機株式会社
半導体レーザ素子
10日前
三菱電機株式会社
半導体装置の製造方法
10日前
矢崎総業株式会社
充電インレット
10日前
矢崎総業株式会社
コネクタ嵌合体
4日前
株式会社半導体エネルギー研究所
二次電池の作製方法
10日前
キヤノン株式会社
発光装置
10日前
キヤノン電子管デバイス株式会社
電子管
4日前
日産自動車株式会社
全固体電池システム
10日前
富士電機株式会社
半導体装置
3日前
続きを見る
他の特許を見る