TOP
|
特許
|
意匠
|
商標
特許ウォッチ
Twitter
他の特許を見る
公開番号
2025177421
公報種別
公開特許公報(A)
公開日
2025-12-05
出願番号
2024084247
出願日
2024-05-23
発明の名称
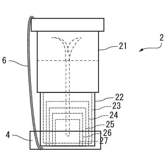
長ネギ栽培装置
出願人
個人
代理人
弁理士法人パテントボックス
主分類
A01G
9/00 20180101AFI20251128BHJP(農業;林業;畜産;狩猟;捕獲;漁業)
要約
【課題】高さが不足することなく、栽培の途中でも高さを増やしやすい、長ネギ栽培装置を提供する。
【解決手段】長ネギの栽培に使用される長ネギ栽培装置1は、多重の筒21~27によって入れ子状に形成されて、長ネギの成長に応じて高さを変えることができるようになっている、多重筒部2と、多重筒部2の最上位の筒21に取り付けられ、周辺の固定物に係止されるための係止部3と、を備えている。このような構成であれば、高さが不足することなく、栽培の途中でも高さを増やしやすい、長ネギ栽培装置1となる。多重筒部2には、最下部の筒27の下方に配置されて排水を受けるようにされた、受皿部4がさらに取り付けられている。
【選択図】図1
特許請求の範囲
【請求項1】
長ネギの栽培に使用される長ネギ栽培装置であって、
多重の筒によって入れ子状に形成されて、長ネギの成長に応じて高さを変えることができるようになっている、多重筒部と、
前記多重筒部に取り付けられ、周辺の固定物に係止されるための係止部と、を備える、長ネギ栽培装置。
続きを表示(約 240 文字)
【請求項2】
前記多重筒部には、最下位の筒の下方に配置されて排水を受けるようにされた、受皿部がさらに取り付けられている、請求項1に記載された、長ネギ栽培装置。
【請求項3】
前記多重筒部の高さを長ネギの成長に応じて規制するようにされた、高さ規制手段をさらに備える、請求項1又は請求項2に記載された、長ネギ栽培装置。
【請求項4】
前記多重筒部の最下位の筒には、底を塞ぐようにフィルタが設置されている、請求項3に記載された、長ネギ栽培装置。
発明の詳細な説明
【技術分野】
【0001】
本発明は、長ネギの栽培に好適な長ネギ栽培装置に関するものである。
続きを表示(約 1,200 文字)
【背景技術】
【0002】
従来から、アパートやマンションのベランダで家庭菜園を行う際には、プラスチック製のプランタが使用されている。プランタは深さが浅いため、果菜類や葉菜類またはハーブ等の栽培に使用されている。
【0003】
しかし、大根・人参等の根菜類を栽培するには、一般的なプランタでは浅すぎて、栽培することができなかった。さらに、長ネギや長芋のように土寄せを行う野菜においても、土寄せを行うことができなかった。
【0004】
そこで、例えば特許文献1の野菜栽培容器は、伸縮自在の蛇腹構造を有し、未使用時または保管時には提灯の如く縮めて薄く畳むことができ、使用時には栽培する野菜の種類に応じて引き伸ばし任意の高さに変えることができるように構成されている。
【先行技術文献】
【特許文献】
【0005】
登録実用新案第3048353号公報
【発明の概要】
【発明が解決しようとする課題】
【0006】
しかしながら、特許文献1の従来側の野菜栽培容器は、蛇腹の伸縮量に応じた高さに変えることができるだけであった。そのため、長ネギを栽培する場合には、高さが不足するうえ、栽培の途中で高さを増やしにくい、という問題があった。
【0007】
そこで、本発明は、高さが不足することなく、栽培の途中でも高さを増やしやすい、長ネギ栽培装置を提供することを目的としている。
【課題を解決するための手段】
【0008】
前記目的を達成するために、本発明の長ネギ栽培装置は、長ネギの栽培に使用される長ネギ栽培装置であって、多重の筒によって入れ子状に形成されて、長ネギの成長に応じて高さを変えることができるようになっている、多重筒部と、前記多重筒部に取り付けられ、周辺の固定物に係止されるための係止部と、を備えている。
【発明の効果】
【0009】
このように、本発明の長ネギ栽培装置は、多重の筒によって入れ子状に形成されて、長ネギの成長に応じて高さを変えることができるようになっている、多重筒部と、この多重筒部に取り付けられ、周辺の固定物に係止されるための係止部と、を備えている。このような構成であれば、長ネギに必要な高さが不足することなく、栽培の途中でも高さを増やしやすい、長ネギ栽培装置となる。
【図面の簡単な説明】
【0010】
実施例の長ネギの栽培装置の斜視図である。
実施例の長ネギの栽培装置の断面図である。
実施例の長ネギの栽培装置の作用図であり、栽培の初期状態である。
実施例の長ネギの栽培装置の作用図であり、栽培の終期状態である。
【発明を実施するための形態】
(【0011】以降は省略されています)
この特許をJ-PlatPat(特許庁公式サイト)で参照する
関連特許
個人
産卵床
10日前
個人
草刈り鋏
1か月前
個人
蠅捕獲器
1か月前
個人
平板植栽
11日前
個人
釣り用錘
28日前
個人
果実袋
10日前
個人
噴霧器ノズル
26日前
個人
蜜蜂保護装置
1か月前
個人
養殖器具
10日前
個人
移動体草刈り機
10日前
個人
種子の製造方法
1か月前
個人
草刈機用回転刃
1か月前
個人
昆虫捕集器
1か月前
個人
水田排水量調整器具
10日前
個人
可動リップ付きルアー
1か月前
株式会社剛樹
釣り竿
24日前
井関農機株式会社
作業車両
2か月前
井関農機株式会社
圃場作業機
3日前
個人
四足動物用装着具
1か月前
井関農機株式会社
圃場作業機
1か月前
個人
ブルーカーボンシステム
1か月前
株式会社ナベル
表示システム
1か月前
個人
餌付き針の餌取り防止具
1か月前
有限会社信英精密
括り罠
18日前
積水樹脂株式会社
シート止め具
10日前
株式会社サワエ
害虫捕獲器
3日前
みのる産業株式会社
除草機
1か月前
松山株式会社
収穫機
1か月前
みのる産業株式会社
除草機
1か月前
井関農機株式会社
苗移植機
18日前
井関農機株式会社
作業車両
1か月前
井関農機株式会社
作業車両
1か月前
株式会社オーツボ
海苔箱船
1か月前
個人
網口高さのベクトル底引き網
10日前
個人
粘着板で挟むネズミ捕り装置
10日前
松山株式会社
収穫機
1か月前
続きを見る
他の特許を見る