TOP
|
特許
|
意匠
|
商標
特許ウォッチ
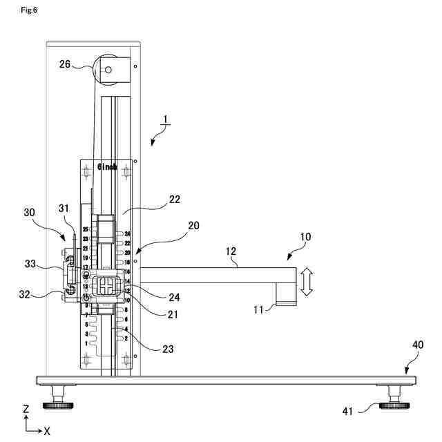
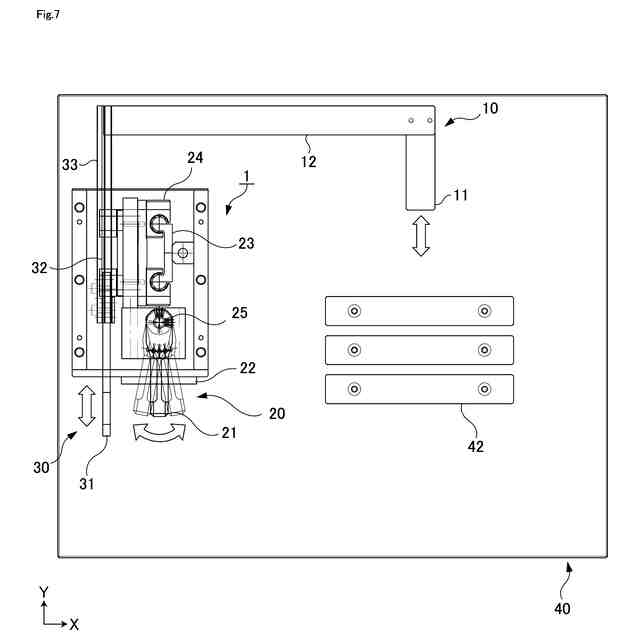
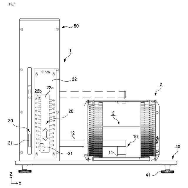
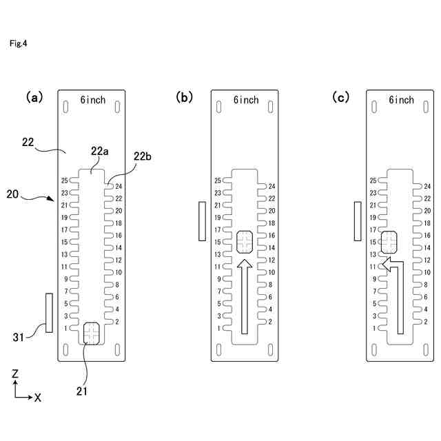
Twitter
他の特許を見る
公開番号
2025177388
公報種別
公開特許公報(A)
公開日
2025-12-05
出願番号
2024084185
出願日
2024-05-23
発明の名称
ウェハの押出し装置
出願人
ナガセテクノエンジニアリング株式会社
代理人
個人
,
個人
主分類
H01L
21/677 20060101AFI20251128BHJP(基本的電気素子)
要約
【課題】ウェハをカセットから横向きのまま安全に取り出しやすくするための押出し装置を提供する。
【解決手段】 複数のウェハ3を上下に隙間を空けて収納可能なカセット2から任意の位置のウェハ3を選択し押し出すための押出し装置1であって、ウェハ3の周縁を押圧するための押し部材10と、手動で押し部材10を上下に昇降させるための昇降機構20と、手動で押し部材10を前後に進退させるための進退機構30を備える。昇降機構20の操作により押し部材10の高さをカセット2から取り出す対象のウェハ3の高さレベルに調整した後に、進退機構30の操作により押し部材10の先端部をウェハ3の周縁に接触させて押圧することで、ウェハ3が押し部材10の押圧方向に向かって進行する。
【選択図】図1
特許請求の範囲
【請求項1】
複数のウェハを上下に隙間を空けて収納可能なカセットから任意の位置の前記ウェハを選択し押し出すための押出し装置であって、
前記ウェハの周縁を押圧するための押し部材と、
手動で前記押し部材を上下に昇降させるための昇降機構と、
手動で前記押し部材を前後に進退させるための進退機構を備え、
前記昇降機構の操作により前記押し部材の高さを前記カセットから取り出す対象の前記ウェハの高さレベルに調整した後に、前記進退機構の操作により前記押し部材の先端部を前記ウェハの周縁に接触させて押圧することで、前記ウェハを前記押し部材の押圧方向に向かって進行させるように構成されている
押出し装置。
続きを表示(約 880 文字)
【請求項2】
前記進退機構は、前記ウェハが前記カセットから落下しない位置で前記押し部材を停止させるように構成されている
請求項1に記載の押出し装置。
【請求項3】
前記進退機構は、前記押し部材を前記ウェハから最大限離れた始点から前記ウェハを最大限進行させた終点まで前後に進退させるものであり、
前記進退機構は、前記押し部材を前記始点に向かって後退させるように付勢する付勢手段を有する
請求項1又は請求項2に記載の押出し装置。
【請求項4】
前記進退機構は、
前記押し部材を前後にスライドさせる前後スライドレールと、
前記押し部材を前記前後スライドレールに沿ってスライドさせる操作を行うための前後レバーを有し、
前記前後レバーを引くと前記押し部材が前記ウェハに向かって前進するように構成されている
請求項1又は請求項2に記載の押出し装置。
【請求項5】
前記昇降機構は、非操作状態において前記押し部材の高さを維持するために、前記押し部材及びこれに連結された部材の重量と釣り合う反力を提供する重量支持手段を有する
請求項1又は請求項2に記載の押出し装置。
【請求項6】
前記昇降機構は、
前記前後スライドレールを上下にスライドさせる上下スライドレールと、
前記前後スライドレールを前記上下スライドレールに沿ってスライドさせる操作を行うための上下レバーを有する
請求項4に記載の押出し装置。
【請求項7】
前記昇降機構は、
前記カセット内の前記ウェハの高さレベルごとに複数の溝が形成されたロック部材と、
前記上下レバーの一部が前記溝に挿入されるように前記上下レバーを回動させる回動部材をさらに有する
請求項6に記載の押出し装置。
【請求項8】
前記ロック部材は、異なる間隔の前記溝を持つ別のロック部材と交換可能である
請求項7に記載の押出し装置。
発明の詳細な説明
【技術分野】
【0001】
本発明は、カセットからウェハを取り出しやすくするために、カセットに収納されている任意のウェハを選択して押し出すための押出し装置に関する。
続きを表示(約 2,400 文字)
【背景技術】
【0002】
半導体装置の製造工程においては、例えばウェハの搬送や、保管、整理、保護などの目的で、ウェハを収納するためのカセットが用いられている。このカセットは、サイズや形状などが規格化されており、一般的にはウェハを1枚ずつ差し込むことのできるスロットが一定の間隔を空けて多段に形成されている。
【0003】
また、例えばウェハを検査する際に、カセットに収納されているウェハを1枚だけ取り出したいという要望がある。例えば特許文献1では、カセットの中からウェハを選択的に取り出すための取出装置が提案されている。この特許文献1には、内部のウェハが縦向き(垂直)となるようにカセットを取出装置上に設置して、この取出装置のフィンガーをカセット内に前進(上昇)させることにより、カセット内のウェハをこのフィンガーによって垂直に持ち上げることが開示されている(図3)。
【先行技術文献】
【特許文献】
【0004】
特開平03-057242号公報
【発明の概要】
【発明が解決しようとする課題】
【0005】
ところで、特許文献1の図3に示された取出装置のように、カセット内のウェハを持ち上げて取り出すこととした場合、その取り出されたウェハをピックやピンセットなどの器具を用いて把持しようとしたときには、ウェハを縦向きの状態から横向きの状態に姿勢変化させる必要がある。このため、カセット内のウェハを垂直に持ち上げる方式の取出装置では、取り出されたウェハをピック等の器具を用いて片手で扱うことが難しいという課題がある。なお、ウェハを横向きにしてカセットから取り出そうとすると、ウェハを押し出したときにウェハがカセットから落下してしまうおそれがある。このため、カセットからのウェハの取り出しは、特許文献1のようにウェハを縦向きにした状態で行うことが一般的であった。
【0006】
そこで、本発明は、ウェハをカセットから横向きのまま安全に取り出しやすくするための装置を提供することを主な課題とする。
【課題を解決するための手段】
【0007】
本発明の発明者は、上記の従来発明の課題を解決する手段について鋭意検討した結果、カセット内のウェハを押すための押し部材を、手動にてカセット内の任意のウェハの高さレベルに調整した後に、再び手動にてその任意のウェハの周縁に接触させることにより、その任意のウェハを横向きのままカセットから一部突出させることができ、その結果その突出した部分をピック等の器具で把持して取り出しやすくなるという知見を得た。そして、本発明者は、上記知見に基づけば従来発明の課題を解決できることに想到し、本発明を完成させた。具体的に説明すると、本発明は以下の構成を有する。
【0008】
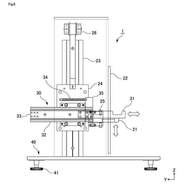
本発明は、押出し装置1に関する。押出し装置1は、複数のウェハ3を上下に隙間を空けて収納可能なカセット2から、任意の位置のウェハ3を選択して押し出すための装置である。押出し装置1は、押し部材10、昇降機構20、及び進退機構30を備える。押し部材10は、ウェハ3の周縁を押圧するための部材である。昇降機構20は、手動で押し部材10を上下に昇降させる。進退機構30は、手動で押し部材10を前後に進退させる。ここで、本発明に係る押出し装置1では、まず、昇降機構20を操作することにより、押し部材10の高さを、カセット2から取り出す対象のウェハ3の高さレベルに調整する。その後、進退機構30を操作することにより、押し部材10の先端部を、ウェハ3の周縁に接触させて押圧することで、このウェハ3を押し部材10の押圧方向に向かって進行させる。このように、押出し装置1は、昇降機構20と進退機構30を備えることで、押し部材10を利用してカセット2の中から任意のウェハ3をカセット2内で進行させることができる。これにより、任意のウェハ3が横向きの状態のまま他のカセット2内のウェハ3に対して部分的に突出することになるため、その突出したウェハ3の一部をピック等の器具を用いて把持しやすくなる。なお、ウェハ3を押しすぎるとカセット2から落下してしまうおそれがあるが、進退機構30は手動により押し部材10の操作が可能であるため、カセット2から落下しない程度にウェハ3の進行距離を調節することが容易である。
【0009】
本発明に係る押出し装置1において、進退機構30は、ウェハ3がカセット2から落下しない位置で押し部材10を停止させるように構成されていることが好ましい。このように、進退機構30による押し部材10の前進距離に構造上の制限を設けることで、押し部材10の操作を誤ってしまったときにカセット2からウェハ3が落下してしまうという事故を未然に防ぐことができる。
【0010】
本発明に係る押出し装置1において、進退機構30は、押し部材10をウェハ3から最大限離れた始点からウェハ3を最大限進行させた終点まで前後に進退させるものである。この場合に、進退機構30は、押し部材10を始点に向かって後退させるように付勢する付勢手段34を有することが好ましい。これにより、進退機構30を操作していない状態において、押し部材10が付勢手段34によって自動的に始点まで戻されることになる。また、押し部材10を始点に向かって付勢することより、押し部材10を始点に向かって後退させる操作と比較して、押し部材10を終点に向かって前進させる操作を行うとき荷重が大きくなる。これにより、押し部材10によってウェハ3をより慎重に押すことができるようになる。
(【0011】以降は省略されています)
この特許をJ-PlatPat(特許庁公式サイト)で参照する
関連特許
APB株式会社
蓄電セル
1か月前
東ソー株式会社
絶縁電線
1か月前
日機装株式会社
加圧装置
5日前
マクセル株式会社
電源装置
1か月前
日新イオン機器株式会社
イオン源
5日前
株式会社東芝
端子台
1か月前
ローム株式会社
半導体装置
1か月前
株式会社ホロン
冷陰極電子源
1か月前
株式会社GSユアサ
蓄電装置
1か月前
株式会社GSユアサ
蓄電装置
20日前
三菱電機株式会社
回路遮断器
28日前
富士電機株式会社
電磁接触器
20日前
株式会社GSユアサ
蓄電装置
1か月前
株式会社GSユアサ
蓄電装置
1か月前
北道電設株式会社
配電具カバー
1か月前
トヨタ自動車株式会社
冷却構造
1か月前
大電株式会社
電線又はケーブル
12日前
日本特殊陶業株式会社
保持装置
1か月前
個人
電源ボックス及び電子機器
5日前
トヨタ自動車株式会社
バッテリ
1か月前
株式会社東芝
電子源
5日前
株式会社トクミ
ケーブル
6日前
ホシデン株式会社
複合コネクタ
14日前
トヨタ自動車株式会社
蓄電装置
12日前
日新イオン機器株式会社
基板処理装置
1か月前
日本特殊陶業株式会社
保持装置
1か月前
トヨタ自動車株式会社
蓄電装置
1か月前
住友電装株式会社
コネクタ
1か月前
ローム株式会社
半導体モジュール
21日前
株式会社トクヤマ
シリコンエッチング液
1か月前
住友電装株式会社
コネクタ
20日前
株式会社デンソー
電子装置
1か月前
株式会社レゾナック
冷却器
28日前
日亜化学工業株式会社
半導体レーザ素子
1か月前
トヨタ自動車株式会社
密閉型電池
1か月前
株式会社トクヤマ
シリコンエッチング液
1か月前
続きを見る
他の特許を見る