TOP
|
特許
|
意匠
|
商標
特許ウォッチ
Twitter
他の特許を見る
10個以上の画像は省略されています。
公開番号
2025177258
公報種別
公開特許公報(A)
公開日
2025-12-05
出願番号
2024083907
出願日
2024-05-23
発明の名称
配管支持台
出願人
株式会社長谷工コーポレーション
代理人
個人
,
個人
主分類
F16L
3/00 20060101AFI20251128BHJP(機械要素または単位;機械または装置の効果的機能を生じ維持するための一般的手段)
要約
【課題】屋上の設置位置の上に敷設する配管の高さ調整にかかる手間を削減できる配管支持台を提供する。
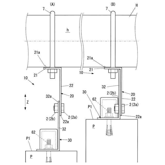
【解決手段】軸部2bを有する締結具2と、軸部を通す軸穴1aを有するずれ防止片1と、上下方向に延在する受側平板部22を有する受材20と、上下方向Zに延在するベース側平板部32を有するベース材30とを備える。締結具は、重ね合わせられた2つの平板部22,32に軸部2bを通して連結する。2つの平板部22,32のうちの一方は連結した複数の位置決め穴5aで形成された連続穴5を有し、他方は軸部を通す通し穴6を有する。連続穴5の最小の幅は、軸部2bの直径よりも大きい。複数の位置決め穴は上下方向に異なる位置に形成され、各位置決め穴は、ずれ防止片1の外周の少なくとも一部が嵌合できるように形成されている。ずれ防止片は、締結具が2つの平板部22,32を連結するときに、軸部2bが軸穴に通った状態で位置決め穴5aに嵌まる。
【選択図】図4
特許請求の範囲
【請求項1】
配管を載せる配管支持台であって、
ベース材と、
前記ベース材に対して上下方向に異なる位置に取り付け可能な受材と、
前記ベース材と前記受材とを貫通する軸部を有し該ベース材と該受材とを連結する締結具と、
前記軸部を通す軸穴を有するずれ防止片と、を備え、
前記ベース材は、前記上下方向に延在するベース側平板部を有し、
前記受材は、前記上下方向に延在する受側平板部を有し、
前記ベース側平板部と前記受側平板部とは、重ね合わせられた状態で前記軸部を通されることによって前記締結具に連結され、
前記ベース側平板部と前記受側平板部のうちの一方は、連結した複数の穴で形成され前記軸部を通す連続穴を有し、
前記ベース側平板部と前記受側平板部のうちの他方は、前記軸部を通す通し穴を有し、
前記連続穴の最小の幅は、前記軸部の直径よりも大きく、
前記複数の穴は、前記上下方向に異なる位置に形成されており、
前記複数の穴のそれぞれは、前記ずれ防止片の外周の少なくとも一部が嵌合できるように形成された位置決め穴であり、
前記ずれ防止片は、前記締結具が前記ベース側平板部と前記受側平板部とを連結するときに、前記軸部が前記軸穴に通った状態で前記位置決め穴に嵌まる、配管支持台。
続きを表示(約 1,300 文字)
【請求項2】
前記連続穴は、前記ベース側平板部と前記受側平板部のうちの前記一方の面内方向に斜めに延び、
前記通し穴は、前記面内方向における横方向に延び、
前記通し穴の幅は、前記軸部が前記横方向に移動可能な大きさである、請求項1に記載の配管支持台。
【請求項3】
前記ベース側平板部と前記受側平板部のうちの前記一方は、前記連続穴を、前記上下方向に間隔を隔てて複数有する、請求項2に記載の配管支持台。
【請求項4】
前記連続穴は、前記配管支持台の側面方向における一方へ向かうほど前記位置決め穴の位置が高くなる第1傾斜部と、前記第1傾斜部より上方又は下方に位置し前記側面方向における他方へ向かうほど前記位置決め穴の位置が高くなる第2傾斜部と、前記第1傾斜部と前記第2傾斜部が連結する屈曲部と、を有し、
前記通し穴は、前記ベース側平板部と前記受側平板部のうちの前記他方の面内方向における横方向に延び、
前記通し穴の幅は、前記軸部が前記横方向に移動可能な大きさである、請求項1に記載の配管支持台。
【請求項5】
前記連続穴は、前記上下方向に異なる位置であって前記配管支持台の側面方向における同じ位置に複数の前記位置決め穴を有し、
前記通し穴は、正面視で正円形である、請求項1に記載の配管支持台。
【請求項6】
前記連続穴は、前記位置決め穴の下方側の内壁面に、該連続穴に通された前記軸部を置くことができる軸置き部を有する、請求項1~4のうちの何れか一項に記載の配管支持台。
【請求項7】
前記軸置き部は、前記位置決め穴の下方側の内壁面によって形成された円筒面、曲面、水平面、又は斜面を有し、
前記軸置き部が前記円筒面を有する場合、該円筒面は、前記軸部の直径よりも大きな直径によって形成され下方へ湾曲する円筒面であり、
前記軸置き部が前記曲面を有する場合、該曲面は、下方へ窪んで前記軸部の外周面の下端部を下から支持可能な曲面又は該軸部の該外周面が嵌まることができる曲面であり、
前記軸置き部が前記水平面を有する場合、該水平面は、前記軸部の半径よりも長く前記ベース側平板部と前記受側平板部のうちの前記一方の面内方向における水平方向に延びる水平面であり、
又は、前記軸置き部が前記斜面を有する場合、該斜面は、平面又は下方へ湾曲する曲面であり、下側に隣接する前記位置決め穴から離れる方向に下方へ傾斜しながら前記軸部の前記半径よりも長く延びる、請求項6に記載の配管支持台。
【請求項8】
前記連続穴は、前記ベース側平板部に設けられ、
前記通し穴は、前記受側平板部の下端部に設けられる、請求項1に記載の配管支持台。
【請求項9】
前記通し穴は、その上側の内壁面に、前記軸部の外周面形状に合った軸型凹部を有する、請求項2または請求項4に記載の配管支持台。
【請求項10】
前記ずれ防止片の厚みは、前記ベース側平板部と前記受側平板部のうちの前記一方の板厚と同じか又は該板厚よりも薄い、請求項1に記載の配管支持台。
(【請求項11】以降は省略されています)
発明の詳細な説明
【技術分野】
【0001】
本発明は、屋上で配管を支持する配管支持台に関する。
続きを表示(約 2,800 文字)
【背景技術】
【0002】
集合住宅等のコンクリート建屋の屋上で行う配管の敷設工事には、コンクリート製の複数の設備基礎の上に、配管を固定する敷設工事がある。屋上に敷設する配管は、給水管、臭突管、連結送水管等といった管径が大きな管である上、1つあたりの配管支持台が担う配管長さが約6mと長いため、屋上に設置される配管支持台は、大きな風荷重に抵抗できなければならない。
従来は、断面がコの字形の鋼製の支持架台を設備基礎の上にアンカーで固定し、配管を、その支持架台に直接Uボルトで固定していた。このような配管支持台は、例えば特許文献1や2に開示されている。
【先行技術文献】
【特許文献】
【0003】
特開2010-065838号公報
特開平10-061831号公報
【発明の概要】
【発明が解決しようとする課題】
【0004】
図1は、屋上の設備基礎Pの上に設置する従来の配管支持台100についての説明図である。図1(A)は、配管Hに勾配がある場合の側面図である。図1(B)は、スペーサー108を支持架台103と設備基礎Pの間に挿入した場合の側面図である。図1(C)は、あと施工アンカー109の側面図である。あと施工アンカー109は、支持架台103の下面をコンクリート製の設備基礎Pに固定する際に使用する。図1(D)は、支持架台103と配管Hの間に、スペーサー108を挿入する場合の側面図である。図1(E)は図1(D)のA-A矢視図である。
またこの図において、Hは配管、100は従来の配管支持台、103は支持架台、107はUボルト、108はスペーサー、109はあと施工アンカー、Pはコンクリート製の設備基礎を表している。
【0005】
配管Hに勾配を設ける場合は、配管Hを支持する高さを設備基礎P毎に変えなければならない。そのためには、まず配管Hを現場で勾配をもたせて仮固定し、設備基礎P毎に、支持架台103に求める高さを測定し、記録し、設備基礎P毎に異なる高さの支持架台103を一つ一つ特注する。そして支持架台103を受け取った後には、再び現場に戻り、仮固定した配管Hを取り外し、受け取った支持架台103を取り付け、再び勾配をこまめに確認しながら配管Hを固定する、という手戻りをしなければならず、二度手間であった。このように、勾配のある配管Hを敷設するときには、配管Hを仮固定する手間、支持架台103として必要となる高さを測定し記録する手間、一つ一つ異なる高さの支持架台103を手配する手間等、多くの手間が必要であった。
またコンクリート製の設備基礎Pには、天端のレベル精度(高さの精度)に施工誤差が生じる。そのため、配管を水平に敷設する際には、配管Hが水平か否かを設備基礎Pごとにこまめに水準器で確認しながら配管Hの高さを調整しなければならず、スペーサー108の種類の選択と取り付けに手間がかかっていた。
【0006】
具体的には、まず現地で各設備基礎Pの高さを計測して必要なスペーサー108の高さを算出し、必要な種類のスペーサー108を用意する。施工誤差が数mmであれば、図1(B)に示すように支持架台103と設備基礎Pの間に挿入するスペーサー108で高さ調整できる。この場合、図1(C)のナット109bを緩め、支持架台103と設備基礎Pの間にスペーサー108を詰めて支持架台103を持ち上げる。
しかし、この方法では、支持架台103の下に入れるスペーサー108の高さが、あと施工アンカー109のネジ部109aの長さに制約される。つまりあと施工アンカー109のナット109bが、ネジ部109aの上端に着くまでの数mmの範囲内でしか、支持架台103を持ち上げることができない。
【0007】
それ以上の高さまで支持架台103を持ち上げたい場合には、図1(D)と図1(E)のように、配管Hと支持架台103の間にスペーサー108を挿入する。このスペーサー108は、配管Hの側面に沿う窪みを有しており、その窪みに配管Hを嵌めて配管Hを安定させるものである。
したがって配管Hを敷設する際には、設備基礎P毎の測定値から、どの種類のスペーサー108がいくつ必要となるかを見極め、発注する手間が必要であった。
【0008】
次いで、用意した各種のスペーサー108を、支持架台103の上や下に挿入して配管Hの高さを調整する。その際、水準器で配管Hのレベル(水平状態)を何度も確認しながら微調整しなければならない。このように、配管Hを水平に敷設する工事も、非常に手間がかかっていた。
したがって配管Hの敷設工事は、水平に敷設する場合でも、勾配を設ける場合も、いずれも非常に手間がかかっていた。そのため配管Hの敷設工事は、労務費が高いことに起因して、施工費用が高かった。
【0009】
本発明は上述した問題点を解決するために創案されたものである。すなわち本発明の目的は、屋上の設置位置の上に敷設する配管の高さ調整にかかる手間を削減できる配管支持台を提供することにある。
【課題を解決するための手段】
【0010】
本発明によれば、配管を載せる配管支持台であって、
ベース材と、
前記ベース材に対して上下方向に異なる位置に取り付け可能な受材と、
前記ベース材と前記受材とを貫通する軸部を有し該ベース材と該受材とを連結する締結具と、
前記軸部を通す軸穴を有するずれ防止片と、を備え、
前記ベース材は、前記上下方向に延在するベース側平板部を有し、
前記受材は、前記上下方向に延在する受側平板部を有し、
前記ベース側平板部と前記受側平板部とは、重ね合わせられた状態で前記軸部を通されることによって前記締結具に連結され、
前記ベース側平板部と前記受側平板部のうちの一方は、連結した複数の穴で形成され前記軸部を通す連続穴を有し、
前記ベース側平板部と前記受側平板部のうちの他方は、前記軸部を通す通し穴を有し、
前記連続穴の最小の幅は、前記軸部の直径よりも大きく、
前記複数の穴は、前記上下方向に異なる位置に形成されており、
前記複数の穴のそれぞれは、前記ずれ防止片の外周の少なくとも一部が嵌合できるように形成された位置決め穴であり、
前記ずれ防止片は、前記締結具が前記ベース側平板部と前記受側平板部とを連結するときに、前記軸部が前記軸穴に通った状態で前記位置決め穴に嵌まる、配管支持台が提供される。
【発明の効果】
(【0011】以降は省略されています)
この特許をJ-PlatPat(特許庁公式サイト)で参照する
関連特許
個人
留め具
1か月前
個人
給排気装置
2か月前
個人
ナット
1か月前
個人
ゲート弁バルブ
19日前
兼工業株式会社
バルブ
1か月前
カヤバ株式会社
緩衝器
2か月前
株式会社ノーリツ
分配弁
2か月前
株式会社三五
ドライブシャフト
1か月前
株式会社奥村組
制振機構
2か月前
株式会社ニフコ
クリップ
2か月前
竹内工業株式会社
ラッチ
4日前
株式会社ニフコ
クリップ
19日前
株式会社奥村組
制振機構
2か月前
株式会社不二工機
電動弁
2か月前
株式会社ノナガセ
免震装置
1か月前
アイホン株式会社
電気機器
2か月前
個人
誘導電流活用式差動制限装置
2か月前
アマテイ株式会社
釘
1か月前
アズビル株式会社
連結装置
今日
アズビル株式会社
連結装置
今日
Astemo株式会社
緩衝器
1か月前
カヤバ株式会社
シリンダ装置
5日前
株式会社山谷設備
被覆除去具
11日前
Astemo株式会社
電磁弁
2か月前
カシオ計算機株式会社
支持台
2か月前
金子産業株式会社
筐体
20日前
カヤバ株式会社
シリンダ装置
1か月前
個人
無段変速可能なフリーホイール
2か月前
アズビル株式会社
ケージ調整弁
今日
株式会社小糸製作所
スクリュー
5日前
Astemo株式会社
緩衝装置
2か月前
株式会社フジキン
バルブ
1か月前
株式会社パイオラックス
保持具
1か月前
株式会社パイオラックス
保持具
1か月前
株式会社パイオラックス
保持具
1か月前
株式会社パイオラックス
留め具
4日前
続きを見る
他の特許を見る