TOP
|
特許
|
意匠
|
商標
特許ウォッチ
Twitter
他の特許を見る
公開番号
2025176926
公報種別
公開特許公報(A)
公開日
2025-12-05
出願番号
2024083340
出願日
2024-05-22
発明の名称
高速炉の流量測定装置
出願人
三菱FBRシステムズ株式会社
代理人
弁理士法人創光国際特許事務所
主分類
G21C
17/032 20060101AFI20251128BHJP(核物理;核工学)
要約
【課題】冷却材の流量を精度良く計測する。
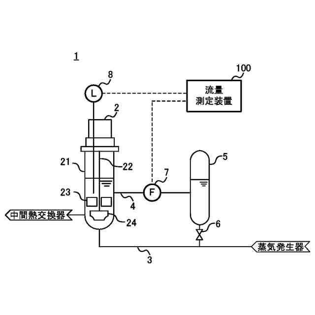
【解決手段】高速炉の流量測定装置100は、高速炉に設けられている冷却材としての液体金属ナトリウムを循環させる二次系ポンプ2と、二次系ポンプ2に冷却材を供給する主配管3とを接続する、二次系ポンプ2に設けられている軸受23よりも上部に流入した冷却材を主配管3に還流させる還流用配管4における冷却材の流量を測定する流量測定部131と、二次系ポンプ2の内部における冷却材の液面の液位を測定することにより、時刻と液位との関係を示す液位データを生成する液位測定部132と、液位データを不完全微分した後の微分データに基づいて還流用配管4における冷却材の流量の変化量を算出する変化量算出部133と、測定された冷却材の流量と、算出された冷却材の流量の変化量とに基づいて、主配管3における冷却材の流量を算出する主配管流量算出部134とを有する。
【選択図】図2
特許請求の範囲
【請求項1】
高速炉に設けられている冷却材としての液体金属ナトリウムを循環させるポンプと、前記ポンプに前記冷却材を供給する主配管とを接続する、前記ポンプに設けられている軸受よりも上部に流入した前記冷却材を前記主配管に還流させる還流用配管における前記冷却材の流量を測定する流量測定部と、
前記ポンプの内部における前記冷却材の液面の液位を測定することにより、時刻と前記液位との関係を示す液位データを生成する液位測定部と、
前記液位測定部が生成した前記液位データを不完全微分した後の微分データに基づいて前記還流用配管における前記冷却材の流量の変化量を算出する変化量算出部と、
前記流量測定部が測定した前記冷却材の流量と、前記変化量算出部が算出した前記冷却材の流量の変化量とに基づいて、前記主配管における前記冷却材の流量を算出する主配管流量算出部と、
を有する高速炉の流量測定装置。
続きを表示(約 530 文字)
【請求項2】
前記変化量算出部は、前記微分データが示す液位の変化率と、前記ポンプのケーシングの断面積とを乗算することにより、前記冷却材の流量の変化量を算出し、
前記主配管流量算出部は、前記冷却材の流量から、前記変化量算出部が算出した前記冷却材の流量の変化量を減算し、減算した結果に対して予め定められた係数を乗ずることにより、前記主配管における前記冷却材の流量を算出する、
請求項1に記載の高速炉の流量測定装置。
【請求項3】
前記変化量算出部は、前記液位データに基づいて液位の変動の周波数を予め算出しておき、算出した周波数を含めて高い側の周波数の液位の変動を平滑化するように前記液位データの不完全微分を行う、
請求項1に記載の高速炉の流量測定装置。
【請求項4】
前記主配管流量算出部は、前記高速炉の定格出力運転時におけるポンプの回転数が定格回転数を達成したときの前記主配管における前記冷却材の流量である定格出力運転時流量を、前記流量の測定範囲における100%の流量とし、前記定格出力運転時流量に対する、算出した前記冷却材の流量の割合を算出する、
請求項1に記載の高速炉の流量測定装置。
発明の詳細な説明
【技術分野】
【0001】
本発明は、高速炉の流量測定装置に関する。
続きを表示(約 1,500 文字)
【背景技術】
【0002】
冷却材として液体金属ナトリウムを用いる高速炉において、冷却材を循環させるポンプに接続される主配管の流量を測定することが行われている。例えば、特許文献1には、ポンプと主系統とを接続した、ポンプから冷却材を主系統に還流させる還流用配管に設けた流量計が計測した冷却材の流量に基づいて、主系統の流量を算出することが開示されている。
【先行技術文献】
【特許文献】
【0003】
特開2013-210261号公報
【発明の概要】
【発明が解決しようとする課題】
【0004】
主配管の流量が一定である場合、ポンプ内部の冷却材の液位も一定であるが、主配管の流量が変化する場合には、ポンプ内部の冷却材の液位も変化する。ポンプ内部の冷却材の液位が変化すると、還流用配管に流入する冷却材の流量も変化し、還流用配管における冷却材の流量に基づいて算出した主配管の流量が実際の主配管における冷却材の流量に対して乖離するという問題が生じる。
【0005】
そこで、本発明はこれらの点に鑑みてなされたものであり、冷却材の流量を精度良く計測することを目的とする。
【課題を解決するための手段】
【0006】
本発明の第1の態様に係る高速炉の流量測定装置は、高速炉に設けられている冷却材としての液体金属ナトリウムを循環させるポンプと、前記ポンプに前記冷却材を供給する主配管とを接続する、前記ポンプに設けられている軸受よりも上部に流入した前記冷却材を前記主配管に還流させる還流用配管における前記冷却材の流量を測定する流量測定部と、前記ポンプの内部における前記冷却材の液面の液位を測定することにより、時刻と前記液位との関係を示す液位データを生成する液位測定部と、前記液位測定部が生成した前記液位データを不完全微分した後の微分データに基づいて前記還流用配管における前記冷却材の流量の変化量を算出する変化量算出部と、前記流量測定部が測定した前記冷却材の流量と、前記変化量算出部が算出した前記冷却材の流量の変化量とに基づいて、前記主配管における前記冷却材の流量を算出する主配管流量算出部と、を有する。
【0007】
前記変化量算出部は、前記微分データが示す液位の変化率と、前記ポンプのケーシングの断面積とを乗算することにより、前記冷却材の流量の変化量を算出し、前記主配管流量算出部は、前記冷却材の流量から、前記変化量算出部が算出した前記冷却材の流量の変化量を減算し、減算した結果に対して予め定められた係数を乗ずることにより、前記主配管における前記冷却材の流量を算出してもよい。
【0008】
前記変化量算出部は、前記液位データに基づいて液位の変動の周波数を予め算出しておき、算出した周波数を含めて高い側の周波数の液位の変動を平滑化するように前記液位データの不完全微分を行ってもよい。
【0009】
前記主配管流量算出部は、前記高速炉の定格出力運転時におけるポンプの回転数が定格回転数を達成したときの前記主配管における前記冷却材の流量である定格出力運転時流量を、前記流量の測定範囲における100%の流量とし、前記定格出力運転時流量に対する、算出した前記冷却材の流量の割合を算出してもよい。
【発明の効果】
【0010】
本発明によれば、冷却材の流量を精度良く計測することができるという効果を有する。
【図面の簡単な説明】
(【0011】以降は省略されています)
この特許をJ-PlatPat(特許庁公式サイト)で参照する
関連特許
個人
常温核融合装置
7か月前
個人
常温核融合装置
7か月前
個人
常温核融合装置
7か月前
個人
常温核融合装置
22日前
個人
原子力プラント
1か月前
個人
超音波振動子の利用
1か月前
個人
トリチウムの除去装置
8か月前
個人
廃炉方法及び固化材
2か月前
個人
元素変換用固体核融合工程
6か月前
個人
安山岩を利用した放射線消去装置
5か月前
個人
安山岩を利用した放射線消去装置
6か月前
パテントフレア株式会社
核融合反応促進法
7か月前
合同会社日本レプトン
電子発生部材
28日前
個人
はんれい岩を利用した放射線消去装置
5か月前
パテントフレア株式会社
核融合反応促進法
7か月前
個人
金属製軽水炉使用済核燃料増殖原子炉
8か月前
個人
装置、加速器、減速器、核変換システム
7か月前
中国電力株式会社
燃料集合体移動装置
20日前
合同会社日本レプトン
電子発生ペースト
2か月前
株式会社エー・アンド・デイ
X線検査装置
7か月前
株式会社エー・アンド・デイ
X線検査装置
7か月前
個人
ホウ素を用いるミューオン触媒核融合システム
8か月前
PDRファーマ株式会社
遮蔽容器
7か月前
栗田工業株式会社
放射性廃液の処理方法
2か月前
個人
核変換システム、加工装置、除去装置、切除装置
7か月前
合同会社日本レプトン
電子発生部材の製造方法
28日前
個人
過剰熱発生方法
9か月前
住友重機械工業株式会社
搬送システム
5か月前
個人
加速器屋が考えたTEMモード同軸共鳴器型核融合炉
1か月前
国立大学法人大阪大学
原子力発電装置
6か月前
浜松ホトニクス株式会社
電子線照射装置
7か月前
三菱重工業株式会社
原子炉
28日前
合同会社日本レプトン
電子発生器具及びその製造方法
2か月前
合同会社日本レプトン
電子発生素材及び電子発生部材
28日前
合同会社日本レプトン
電子発生器具及びその製造方法
2か月前
三菱重工業株式会社
原子炉
6日前
続きを見る
他の特許を見る