TOP
|
特許
|
意匠
|
商標
特許ウォッチ
Twitter
他の特許を見る
10個以上の画像は省略されています。
公開番号
2025176898
公報種別
公開特許公報(A)
公開日
2025-12-05
出願番号
2024083279
出願日
2024-05-22
発明の名称
発光装置及び発光装置の製造方法
出願人
スタンレー電気株式会社
代理人
弁理士法人レクスト国際特許事務所
主分類
H10H
20/851 20250101AFI20251128BHJP()
要約
【課題】発光素子の気密封止が解かれてしまうことを抑制可能な発光装置及びその製造方法を提供する。
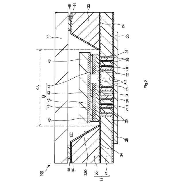
【解決手段】シリコン基板である第1の基板21及び第1の基板の上面に接合され露出する開口を有するシリコン基板である第2の基板22を含み、第1の基板の上面の1の領域以外の領域である他の領域に形成された第1の絶縁膜24は熱酸化膜でありかつ1の領域に形成された第2の絶縁膜25は熱酸化膜以外の絶縁膜であり、第1の上面電極31と、1の領域の第2の貫通孔群上に形成された第2の上面電極32と、1の領域上に第1の上面電極及び第2の上面電極に跨がるように設けられた発光素子13と、第1の基板の下面において第1の貫通孔群上に形成された第1の下面電極28と、第1の基板の下面において第2の貫通孔群上に形成された第2の下面電極29と、第2の基板の上面に接合されかつ開口を含む空間を封止する透光性の透光部材15と、を有する。
【選択図】図2
特許請求の範囲
【請求項1】
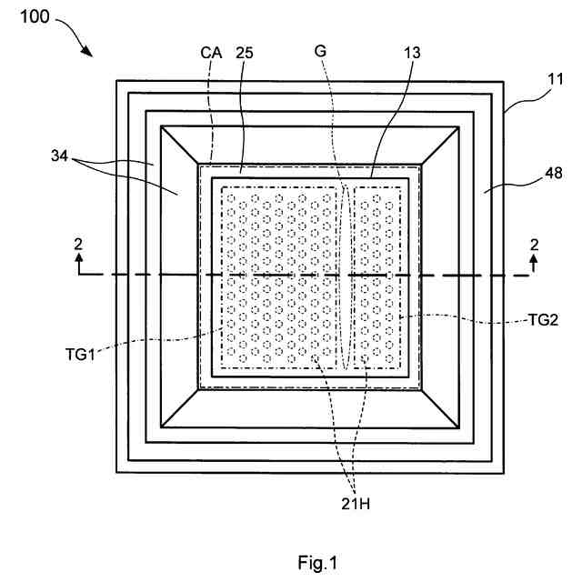
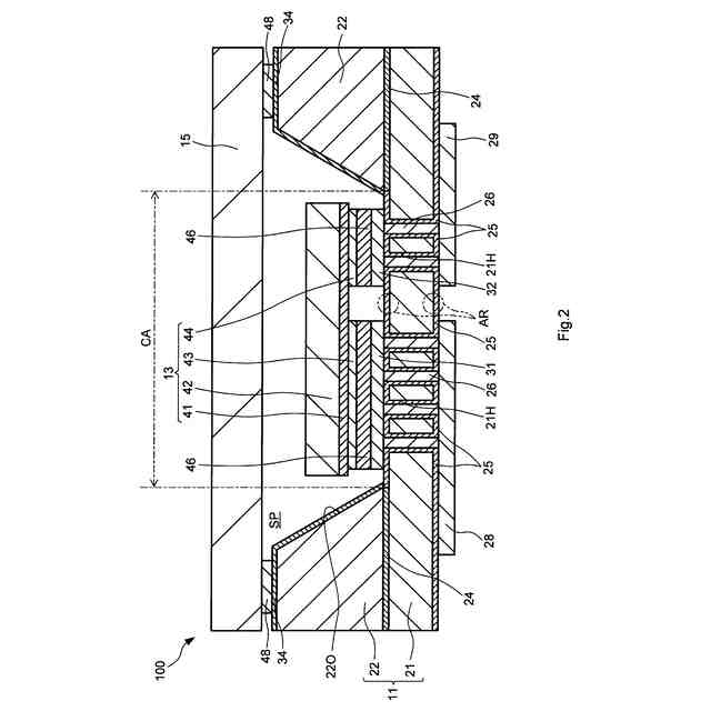
上面及び下面に形成された絶縁膜を含むシリコン基板である第1の基板及び前記第1の基板の上面に接合され前記第1の基板の上面の1の領域を露出する開口を有するシリコン基板である第2の基板を含み、前記第1の基板の上面の前記1の領域以外の領域である他の領域に形成された第1の絶縁膜は熱酸化膜でありかつ前記1の領域に形成された第2の絶縁膜は前記熱酸化膜以外の絶縁膜であり、かつ前記第1の基板が前記1の領域内の第1の部分領域から前記第1の基板の下面にまで貫通する1または複数の貫通孔を含む第1の貫通孔群及び前記1の領域内の第2の部分領域から前記第1の基板の下面にまで貫通する1または複数の貫通孔を含む第2の貫通孔群を有する基板構造体と、
前記1の領域の前記第1の貫通孔群上に形成された第1の上面電極と、
前記1の領域の前記第2の貫通孔群上に形成された第2の上面電極と、
前記1の領域上に前記第1の上面電極及び前記第2の上面電極に跨がるように設けられた発光素子と、
前記第1の基板の下面において前記第1の貫通孔群上に形成された第1の下面電極と、
前記第1の基板の下面において前記第2の貫通孔群上に形成された第2の下面電極と、
前記第2の基板の上面に接合されかつ前記開口を含む空間を封止する透光性の透光部材と、
を有することを特徴とする発光装置。
続きを表示(約 1,300 文字)
【請求項2】
前記第2の絶縁膜は、破壊靭性値が前記第1の絶縁膜よりも大きいことを特徴とする請求項1に記載の発光装置。
【請求項3】
前記第2の絶縁膜は、窒化ケイ素、酸化ジルコニウム、酸化アルミニウム又は炭化ケイ素のいずれか1つからなることを特徴とする請求項2に記載の発光装置。
【請求項4】
前記第1の貫通孔群及び前記第2の貫通孔群における1または複数の貫通孔の各々の内側面には前記第2の絶縁膜が形成され、当該第2の絶縁膜が形成された1または複数の貫通孔の各々の内部には前記第1の基板を貫通する貫通電極が形成されていることを特徴とする請求項1に記載の発光装置。
【請求項5】
前記第1の基板の下面に形成された絶縁膜は、前記第2の絶縁膜であることを特徴とする請求項2乃至4のいずれか1つに記載の発光装置。
【請求項6】
前記第2の基板は、上面に形成された前記熱酸化膜を有し、
前記透光部材は、前記第2の基板の上面に前記熱酸化膜及び前記熱酸化膜上に配されたガラスフリットからなるガラス接合層を介して接合されていることを特徴とする請求項1又は2に記載の発光装置。
【請求項7】
前記開口を形成する前記第2の基板の内側面は、シリコン結晶の(111)面であることを特徴とする請求項1又は2に記載の発光装置。
【請求項8】
前記第1の貫通孔群及び前記第2の貫通孔群に属する1または複数の貫通孔の各々は、三角格子状に形成されていることを特徴とする請求項1又は2に記載の発光装置。
【請求項9】
上面及び下面に形成された絶縁膜を含むシリコン基板である第1の基板及び前記第1の基板の上面に接合され前記第1の基板の上面の1の領域を露出する開口を有するシリコン基板である第2の基板を含み、前記第1の基板の上面の前記1の領域以外の領域である他の領域に形成された第1の絶縁膜は熱酸化膜でありかつ前記1の領域に形成された第2の絶縁膜は前記熱酸化膜以外の絶縁膜であり、かつ前記第1の基板が前記1の領域内の第1の部分領域から前記第1の基板の下面にまで貫通する1または複数の貫通孔を含む第1の貫通孔群及び前記1の領域内の第2の部分領域から前記第1の基板の下面にまで貫通する1または複数の貫通孔を含む第2の貫通孔群を有する基板構造体と、前記1の領域の前記第1の貫通孔群上に形成された第1の上面電極と、前記1の領域の前記第2の貫通孔群上に形成された第2の上面電極と、前記1の領域上に前記第1の上面電極及び前記第2の上面電極に跨がるように設けられた発光素子と、前記第1の基板の下面において前記第1の貫通孔群上に形成された第1の下面電極と、前記第1の基板の下面において前記第2の貫通孔群上に形成された第2の下面電極と、前記第2の基板の上面に接合されかつ前記開口を含む空間を封止する透光性の透光部材と、を有する発光装置の製造方法であって、
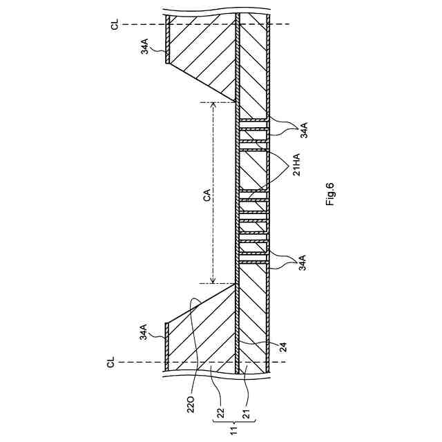
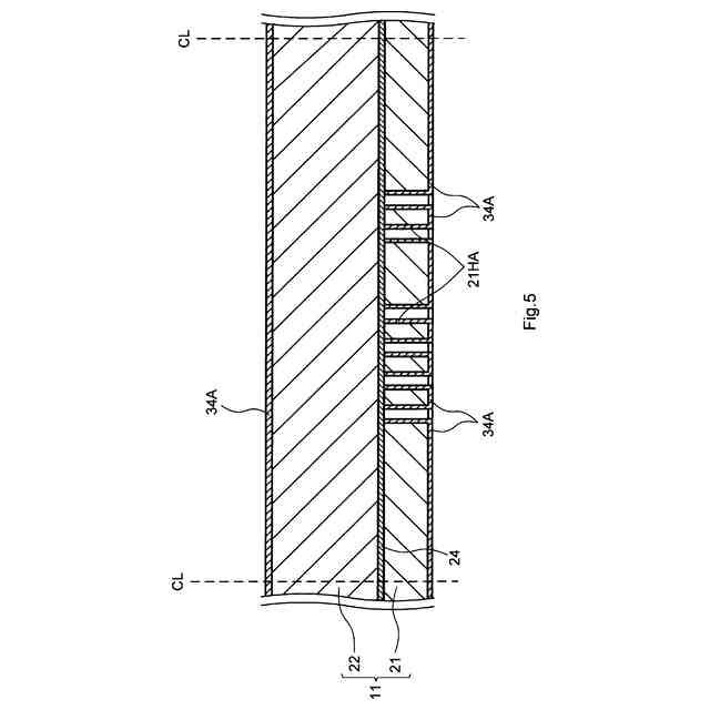
前記第1の基板の上面の前記1の領域に形成された前記熱酸化膜を除去し、当該除去された前記1の領域に前記第2の絶縁膜を形成する第2の絶縁膜形成工程を含むことを特徴とする発光装置の製造方法。
発明の詳細な説明
【技術分野】
【0001】
本発明は、発光装置及び発光装置の製造方法に関する。
続きを表示(約 2,500 文字)
【背景技術】
【0002】
紫外線を照射する発光装置として、発光ダイオード(Light Emitting Diode:LED)等の半導体発光素子を光源として用いた発光装置が開示されている。例えば、特許文献1には、アルミニウム窒化ガリウム(AlGaN)からなる発光素子を実装基板に載置し、実装基板上において当該発光素子を透光部材で気密封止した発光装置が開示されている。
【先行技術文献】
【特許文献】
【0003】
特開2022-040769号公報
【発明の概要】
【発明が解決しようとする課題】
【0004】
特許文献1に開示された発光装置においては、例えば実装基板への発光素子の実装時における昇降温プロセスにより、実装基板と実装基板に設けられた電極との熱膨張係数の差に起因して実装基板にクラックが生じてしまう恐れがある。
【0005】
例えば実装基板にクラックが生じた場合、当該生じたクラックが透光部材で気密封止された空間に露出した表面と外部空間に露出した表面とに亘って進展してしまうことにより、発光素子を気密封止しているガスが漏出し、外部空間の気体、すなわち外気が気密封止された空間に入り込んでしまう恐れがある。これにより、例えば発光素子が湿気を含む外気に触れることで早期に劣化してしまう問題が生じ得る。
【0006】
本発明は、上記の点に鑑みてなされたものであり、発光素子の気密封止が解かれてしまうことを抑制可能な発光装置及びその製造方法を提供することを目的としている。
【課題を解決するための手段】
【0007】
本発明に係る発光装置は、上面及び下面に形成された絶縁膜を含むシリコン基板である第1の基板及び第1の基板の上面に接合され第1の基板の上面の1の領域を露出する開口を有するシリコン基板である第2の基板を含み、第1の基板の上面の1の領域以外の領域である他の領域に形成された第1の絶縁膜は熱酸化膜でありかつ1の領域に形成された第2の絶縁膜は熱酸化膜以外の絶縁膜であり、かつ第1の基板が1の領域内の第1の部分領域から第1の基板の下面にまで貫通する1または複数の貫通孔を含む第1の貫通孔群及び1の領域内の第2の部分領域から第1の基板の下面にまで貫通する1または複数の貫通孔を含む第2の貫通孔群を有する基板構造体と、1の領域の第1の貫通孔群上に形成された第1の上面電極と、1の領域の第2の貫通孔群上に形成された第2の上面電極と、1の領域上に第1の上面電極及び第2の上面電極に跨がるように設けられた発光素子と、第1の基板の下面において第1の貫通孔群上に形成された第1の下面電極と、第1の基板の下面において第2の貫通孔群上に形成された第2の下面電極と、第2の基板の上面に接合されかつ開口を含む空間を封止する透光性の透光部材と、を有することを特徴としている。
【0008】
また、本発明に係る発光装置の製造方法は、上面及び下面に形成された絶縁膜を含むシリコン基板である第1の基板及び第1の基板の上面に接合され第1の基板の上面の1の領域を露出する開口を有するシリコン基板である第2の基板を含み、第1の基板の上面の1の領域以外の領域である他の領域に形成された第1の絶縁膜は熱酸化膜でありかつ1の領域に形成された第2の絶縁膜は熱酸化膜以外の絶縁膜であり、かつ第1の基板が1の領域内の第1の部分領域から第1の基板の下面にまで貫通する1または複数の貫通孔を含む第1の貫通孔群及び1の領域内の第2の部分領域から第1の基板の下面にまで貫通する1または複数の貫通孔を含む第2の貫通孔群を有する基板構造体と、1の領域の第1の貫通孔群上に形成された第1の上面電極と、1の領域の第2の貫通孔群上に形成された第2の上面電極と、1の領域上に第1の上面電極及び第2の上面電極に跨がるように設けられた発光素子と、第1の基板の下面において第1の貫通孔群上に形成された第1の下面電極と、第1の基板の下面において第2の貫通孔群上に形成された第2の下面電極と、第2の基板の上面に接合されかつ開口を含む空間を封止する透光性の透光部材と、を有する発光装置の製造方法であって、第1の基板の上面の1の領域に形成された熱酸化膜を除去し、当該除去された1の領域に第2の絶縁膜を形成する第2の絶縁膜形成工程を含むことを特徴としている。
【図面の簡単な説明】
【0009】
本発明の実施例1に係る発光装置の上面図である。
本発明の実施例1に係る発光装置の断面図である。
本発明の実施例1に係る発光装置の製造時の1ステップにおける断面図である。
本発明の実施例1に係る発光装置の製造時の1ステップにおける断面図である。
本発明の実施例1に係る発光装置の製造時の1ステップにおける断面図である。
本発明の実施例1に係る発光装置の製造時の1ステップにおける断面図である。
本発明の実施例1に係る発光装置の製造時の1ステップにおける断面図である。
本発明の実施例1に係る発光装置の製造時の1ステップにおける断面図である。
本発明の実施例1に係る発光装置の製造時の1ステップにおける断面図である。
本発明の実施例1に係る発光装置の製造時の1ステップにおける断面図である。
本発明の実施例1に係る発光装置の製造時の1ステップにおける断面図である。
本発明の実施例1に係る発光装置の製造時の1ステップにおける断面図である。
本発明の実施例1に係る発光装置の製造時の1ステップにおける断面図である。
【発明を実施するための形態】
【0010】
以下に本発明の実施例について詳細に説明する。なお、以下の説明及び添付図面においては、実質的に同一又は等価な部分には同一の参照符号を付している。
【実施例】
(【0011】以降は省略されています)
この特許をJ-PlatPat(特許庁公式サイト)で参照する
関連特許
個人
半導体装置
2か月前
個人
積和演算用集積回路
1か月前
サンケン電気株式会社
半導体装置
1か月前
エイブリック株式会社
縦型ホール素子
1か月前
旭化成株式会社
発光素子
1か月前
日機装株式会社
半導体発光装置
26日前
エイブリック株式会社
縦型ホール素子
1か月前
ローム株式会社
抵抗チップ
1か月前
ローム株式会社
半導体装置
10日前
富士通株式会社
半導体装置
2か月前
三菱電機株式会社
半導体装置
1か月前
富士電機株式会社
半導体装置
1か月前
株式会社半導体エネルギー研究所
表示装置
1か月前
三菱電機株式会社
半導体装置
5日前
株式会社東芝
半導体装置
18日前
三菱電機株式会社
半導体装置
18日前
株式会社半導体エネルギー研究所
表示装置
10日前
三菱電機株式会社
半導体装置
2か月前
日亜化学工業株式会社
発光装置
1か月前
日亜化学工業株式会社
発光装置
1か月前
TDK株式会社
圧電素子
2か月前
日亜化学工業株式会社
発光素子
2か月前
ローム株式会社
半導体集積回路
1か月前
富士電機株式会社
半導体装置の製造方法
1か月前
ローム株式会社
半導体装置
1か月前
ローム株式会社
半導体装置
1か月前
サンケン電気株式会社
半導体装置
18日前
ローム株式会社
半導体装置
1か月前
ローム株式会社
窒化物半導体装置
1か月前
株式会社半導体エネルギー研究所
発光デバイス
26日前
ローム株式会社
半導体装置
3日前
ローム株式会社
窒化物半導体装置
1か月前
株式会社半導体エネルギー研究所
発光デバイス
1か月前
沖電気工業株式会社
発光装置及び表示装置
2か月前
株式会社カネカ
太陽電池モジュール
1か月前
大日本印刷株式会社
太陽電池
1か月前
続きを見る
他の特許を見る