TOP
|
特許
|
意匠
|
商標
特許ウォッチ
Twitter
他の特許を見る
公開番号
2025176850
公報種別
公開特許公報(A)
公開日
2025-12-05
出願番号
2024083204
出願日
2024-05-22
発明の名称
水素発生システム及び水素発生方法
出願人
メタウォーター株式会社
,
個人
,
日鉄鉱業株式会社
代理人
弁理士法人フィールズ国際特許事務所
主分類
C01B
3/04 20060101AFI20251128BHJP(無機化学)
要約
【課題】廃水処理の過程で生じる硫化水素を分解し、かつ、エネルギー源として利用できる水素を生成する。
【解決手段】少なくとも硫酸イオンと有機物と分離対象物とを含む液体から前記分離対象物を分離する固液分離槽と、固液分離された前記液体に含まれる硫化水素から水素を生成する反応を促進する光触媒を収納する反応槽とを備え、前記固液分離槽は、硫酸塩還元菌を担持する担体を収容し、前記固液分離槽において、前記硫酸塩還元菌により前記硫酸イオンから硫化水素が生成されることを特徴とした水素発生システム。
【選択図】図2
特許請求の範囲
【請求項1】
少なくとも硫酸イオンと有機物と分離対象物とを含む液体から前記分離対象物を分離する固液分離槽と、
固液分離された前記液体に含まれる硫化水素から水素を生成する反応を促進する光触媒を収納する反応槽と、を備え、
前記固液分離槽は、硫酸塩還元菌を担持する担体を収容し、
前記固液分離槽において、前記硫酸塩還元菌により前記硫酸イオンから硫化水素が生成される、ことを特徴とした水素発生システム。
続きを表示(約 300 文字)
【請求項2】
少なくとも硫酸イオンと有機物と分離対象物とを含む液体から担体により分離対象物を分離する固液分離槽において、
前記担体において硫酸塩還元菌を生育し、
前記固液分離槽に上方向流又は下方向流で前記液体を流し、固形物を表層で除去した後、溶解性成分主体の液体に対して、前記硫酸塩還元菌により前記硫酸イオンと前記有機物とから硫化水素を生成し、
固液分離された前記液体に含まれる硫化水素から水素を生成する反応を促進する光触媒に光を照射して前記光触媒を活性化し、
前記活性化した前記光触媒と前記液体に含まれる硫化水素とを接触させて水素を発生させる、水素発生方法。
発明の詳細な説明
【技術分野】
【0001】
本開示は、水素発生システム及び水素発生方法に関する。
続きを表示(約 1,700 文字)
【背景技術】
【0002】
従来から廃水処理を行うシステム(以下、廃水処理システムとも呼ぶ)が様々提案されている。例えば、ろ材を用いた固液分離による有機物回収装置が提案されている(特許文献1参照)。なお、廃水処理システムは、排水処理システムとも呼ばれる。また、廃水の性状によっては硫化水素が発生することが知られている。硫化水素は人体にとって有害であり、コンクリートやダクトを腐食させるため、硫化水素を分解する分解処理槽を備えた廃水処理システムが提案されている(特許文献2参照)。
【0003】
一方、脱炭素社会の実現に向け、炭素に代替される次世代エネルギーとして水素が注目されており、アルカリ水溶液(アミン水溶液)に吸収された硫化水素を分解して水素を回収する方法として、クラウス法に替わって、光触媒を利用する方法が提案されている(特許文献3参照)。
【先行技術文献】
【特許文献】
【0004】
特開2012-239941号公報
特開2011-212622号公報
特開2006-307333号公報
【発明の概要】
【発明が解決しようとする課題】
【0005】
廃水処理の過程で生じる硫化水素を分解し、かつ、エネルギー源として利用できる水素を生成することが望まれている。
【課題を解決するための手段】
【0006】
本開示の一側面は、少なくとも硫酸イオンと有機物と分離対象物とを含む液体から前記分離対象物を分離する固液分離槽と、固液分離された前記液体に含まれる硫化水素から水素を生成する反応を促進する光触媒を収納する反応槽とを備え、前記固液分離槽は、硫酸塩還元菌を担持する担体を収容し、前記固液分離槽において、前記硫酸塩還元菌により前記硫酸イオンから硫化水素が生成されることを特徴とした水素発生システムである。
【発明の効果】
【0007】
本発明によれば、廃水処理の過程で生じる硫化水素を分解し、かつ、エネルギー源として利用できる水素を生成することができる。
【図面の簡単な説明】
【0008】
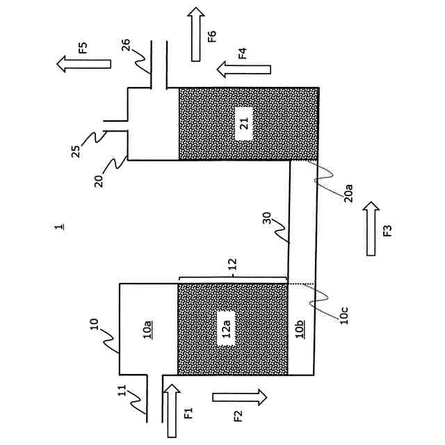
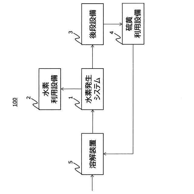
図1は、第1の実施形態における、本開示の水素発生システム1が適用される廃水処理システム100を模式的に説明する図である。
図2は、水素発生システム1を模式的に説明する図である。
図3は、第2の実施形態における、本開示の水素発生システム1が適用される廃水処理システム100を模式的に説明する図である。
【発明を実施するための形態】
【0009】
(第1の実施形態)
図1は、第1の実施形態における、本開示の水素発生システム1が適用される廃水処理システム100を模式的に説明する図である。廃水処理システム100は、水素発生システム1と、水素利用設備2と、後段設備3とを備える。なお、水素利用設備2や後段設備3は、廃水処理システム100外にあってもよい。
【0010】
水素発生システム1は、少なくとも硫酸イオンと有機物と分離対象物とを含む液体(以下、単に液体とも呼ぶ)から固形物である分離対象物(以下、懸濁物とも呼ぶ)を分離する固液分離槽と、固液分離槽から流出する液体(固液分離が行われた後の液体であって溶解性成分主体の液体)に含まれる硫化水素から水素を生成する反応を促進する光触媒を収納する反応槽とを備える。少なくとも硫酸イオンと有機物と分離対象物とを含む液体は、いわゆる廃水であり、例えば、流入下水や産業廃水や鉱業廃水であるがこれらに限られない。なお、以下の説明では、廃水が流入下水である場合について例示するが、廃水は、下水処理設備で生じる汚泥処理の返流水や脱水分離液等であってもよい。水素発生システム1によれば、廃水に含まれる懸濁物を分離(ろ過)する水処理を実行すると共に硫化水素から水素を生成することができる。そのため、廃水処理の過程で生じる硫化水素を分解し、かつ、エネルギー源としての水素を生成できる。
(【0011】以降は省略されています)
この特許をJ-PlatPat(特許庁公式サイト)で参照する
関連特許
個人
一酸化炭素の製造方法
1か月前
株式会社タクマ
固体炭素化設備
1か月前
東洋アルミニウム株式会社
水素発生材料
20日前
東洋アルミニウム株式会社
水素発生材料
20日前
三菱重工業株式会社
加熱装置
1か月前
株式会社トクヤマ
酸性次亜塩素酸水の製造方法
1か月前
株式会社信日康
2次元構造を有する酸化ケイ素
12日前
株式会社フクハラ
高純度窒素ガス生成システム
5日前
日揮触媒化成株式会社
珪酸液およびその製造方法
1か月前
デンカ株式会社
窒化ケイ素粉末
1か月前
デンカ株式会社
窒化ケイ素粉末
1か月前
住友化学株式会社
無機アルミニウム化合物粉末
1か月前
デンカ株式会社
アルミナ粉末、無機粉末および樹脂組成物
28日前
浅田化学工業株式会社
アルミナ水分散液の製造方法
1か月前
デンカ株式会社
アルミナ粉末、無機粉末および樹脂組成物
28日前
デンカ株式会社
アルミナ粉末、無機粉末および樹脂組成物
28日前
DOWAエコシステム株式会社
水酸化亜鉛の製造方法
5日前
JFEエンジニアリング株式会社
ドライアイス製造システム
1か月前
トヨタ自動車株式会社
光触媒を用いた水素ガス製造装置
1か月前
トヨタ自動車株式会社
光触媒を用いた水素ガス製造装置
1か月前
日本電気株式会社
繊維状カーボンナノホーン集合体の接着分離方法
1か月前
マイクロ波化学株式会社
水素の製造方法
26日前
株式会社豊田自動織機
多孔質クラスレートシリコンの製造方法
12日前
デンカ株式会社
窒化ホウ素粉末、及び樹脂成形体
1か月前
エヌ・イーケムキャット株式会社
ゼオライトの製造方法
1か月前
デンカ株式会社
窒化ホウ素粉末、及び樹脂成形体
1か月前
JX金属株式会社
低α線酸化ビスマス
5日前
日揮触媒化成株式会社
多孔質の三次粒子を含む粉体、及びその製造方法
1か月前
デンカ株式会社
無機粉末及びそれを用いた樹脂組成物
1か月前
日本特殊陶業株式会社
アンモニアの合成システム
1か月前
本田技研工業株式会社
金属シリコンの製造方法
21日前
信越化学工業株式会社
第四級アンモニウム修飾シリカ分散液の製造方法
5日前
パナソニックIPマネジメント株式会社
水素生成装置
12日前
清水建設株式会社
二酸化炭素固定化方法
13日前
下関三井化学株式会社
リン化合物溶液の製造方法
5日前
パナソニックIPマネジメント株式会社
水素生成装置
1か月前
続きを見る
他の特許を見る