TOP
|
特許
|
意匠
|
商標
特許ウォッチ
Twitter
他の特許を見る
公開番号
2025176826
公報種別
公開特許公報(A)
公開日
2025-12-05
出願番号
2024083174
出願日
2024-05-22
発明の名称
嵌合蓋付き容器
出願人
明太化成株式会社
代理人
個人
主分類
B65D
77/20 20060101AFI20251128BHJP(運搬;包装;貯蔵;薄板状または線条材料の取扱い)
要約
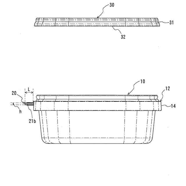
【課題】密封状態にて容器本体の一部で覆われている嵌合蓋の下端縁を露呈させるための剥離片が、従来よりもつまみやすく切り離しが容易となる、嵌合蓋付き容器の提供。
【解決手段】容器本体(10)に嵌合密封する嵌合蓋(30)は、容器本体の周縁フランジに形成された段差溝(12)より上方領域に重なる周縁リム(31)が外周に延設され、周縁リムの下端縁(32)が段差溝(12)に嵌め込まれて外側の溝壁(13)によって覆われるものであり、周縁フランジ(11)に設けられた切り欠き部分(15)には水平方向外方に突出する剥離片(20)が延設されており、剥離片(20)は、二つの円弧状部分(21a,21b)が周方向に連続して形成されたものであり、容器本体側に切欠き部分(15)にわたって嵌合蓋の下端縁(32)が嵌め込まれる溝部(22)を有するものとした。
【選択図】 図1
特許請求の範囲
【請求項1】
略椀型の容器本体と、前記容器本体に嵌合されてその開口を塞いで密封する嵌合蓋とを備え、
前記容器本体は、その開口縁から外側下方へ折り返されたように延設された周縁フランジを備え、前記周縁フランジの略中央高さ位置の周方向に沿って断面凹状の段差溝が形成されているものであり、
前記嵌合蓋は、外周に延設された周縁リムを備え、
前記周縁リムは、前記容器本体に対して予め定められた密封状態にて前記周縁フランジの前記段差溝より上方領域に重ねられる形状を有すると共に、前記その下端縁が前記段差溝に嵌め込まれて該段差溝の外側に立ち上がっている溝壁によって覆われるものであり、
前記周縁フランジは、周方向の少なくとも一か所に前記段差溝から下方領域が切り欠かれた部分を有し、この切り欠き部分に、水平方向外方に突出して前記周縁フランジから切り離されることによって前記嵌合蓋の周縁リブの下端縁を露呈させる剥離片が延設されており、
前記剥離片は、二つの円弧状部分が前記周方向に連続して形成されているものであり、容器本体側に前記切り欠き部分にわたって前記周縁リブの下端縁が嵌め込まれる溝部が更に形成されていることを特徴とする嵌合蓋付き容器。
続きを表示(約 260 文字)
【請求項2】
前記剥離片は、前記二つの円弧状部分の各中心部に貫通孔が形成されていることを特徴とする請求項1に記載の嵌合蓋付き容器。
【請求項3】
前記剥離片は、前記二つの円弧状部分の間で水平方向外方に延びる柱状部が一体的に設けられていることを特徴とする請求項1に記載の嵌合蓋付き容器。
【請求項4】
前記剥離片は、厚みhが1.5mm~3.5mmであり、前記周縁フランジの最外周面より外方への最外部の突出距離Lが2mm~10mmであることを特徴とする請求項1に記載の嵌合蓋付き容器。
発明の詳細な説明
【技術分野】
【0001】
本発明は、食品等を収容した容器本体に嵌合して密封している嵌合蓋の取り外しの際に、嵌合状態で容器本体の一部で覆われた嵌合蓋の下端縁を露呈させるために、容器本体から引き離される剥離片を備えた、嵌合付き容器に関するものである。
続きを表示(約 2,000 文字)
【背景技術】
【0002】
調理済みの惣菜や各種食材等の製品形態としては、内容物がこぼれたり、衛生上外気が入り込むことがないように、プラスチック容器に密封されているものが一般的となっている。このような密封容器としては、例えば、容器の開口縁に樹脂シートをヒートシールしたものが多くみられる。
【0003】
しかしながら、ヒートシールされた蓋を容器から取り外すには、蓋の取っかかり部を指先でつまんで容器から引き剥がすために比較的強い力を必要とするため、高齢者や障害者等のように力の弱い使用者には開封が困難であった。
【0004】
そこで、より簡便に容器を密閉できると共に、強い力を必要とせずに容器を開封できる嵌合蓋付き容器も普及してきている。これは、容器の開口周縁に、断面形状に凹凸を有するフランジを設けた容器本体と、容器本体のフランジに嵌合する周縁リムを設けた嵌合蓋とから構成されるものである(例えば、特許文献1,2を参照。)。
【0005】
この場合、嵌合蓋の周縁リムが容器本体のフランジに嵌合されると、フランジの一部が周縁リムの下端部を全周にわたって覆う状態となり、容器の密封状態が完成する。そして、フランジには、部分的に容器本体から切り離される剥離部が設けられており、この剥離部が切り離されることによって、蓋の外周縁が露出される構成となっている。従って、露出された蓋の外周縁を指先で持ち上げるだけで簡単に蓋を取り外すことができる。
【先行技術文献】
【特許文献】
【0006】
実用新案登録第3108820号公報
実用新案登録第3080877号公報
【発明の概要】
【発明が解決しようとする課題】
【0007】
しかしながら、従来の嵌合蓋付き容器は、剥離部がフランジの一部から構成されており、周辺のフランジ面とほぼ連続した表面を有して一体化したものであるため、目立たず且つ幅の狭いものであることから、高齢者や障害者にとっては剥離部の取っかかりが判りにくかったり、指先でつまみ難くて剥離部の切離し作業が容易ではなかった。
【0008】
本発明の目的は、上記問題点に鑑み、密封状態にて容器本体の一部で覆われている嵌合蓋の下端縁を露呈させるために容器本体から引き離される剥離片が、従来よりもつまみやすく切り離しが容易となる嵌合蓋付き容器を提供することにある。
【課題を解決するための手段】
【0009】
上記目的を達成するため、請求項1に記載の発明に係る嵌合蓋付き容器は、例えば、図1乃至図5に示すように、略椀型の容器本体と、前記容器本体に嵌合されてその開口を塞いで密封する嵌合蓋とを備え、
前記容器本体は、その開口縁から外側下方へ折り返されたように延設された周縁フランジを備え、前記周縁フランジの略中央高さ位置の周方向に沿って断面凹状の段差溝が形成されているものであり、
前記嵌合蓋は、外周に延設された周縁リムを備え、
前記周縁リムは、前記容器本体に対して予め定められた密封状態にて前記周縁フランジの前記段差溝より上方領域に重ねられる形状を有すると共に、前記その下端縁が前記段差溝に嵌め込まれて該段差溝の外側に立ち上がっている溝壁によって覆われるものであり、
前記周縁フランジは、周方向の少なくとも一か所に前記段差溝から下方領域が切り欠かれた部分が設けられており、この切り欠き部分に、水平方向外方に突出して前記周縁フランジから切り離されることによって前記嵌合蓋の周縁リブの下端縁を露呈させる剥離片が延設されており、
前記剥離片は、二つの円弧状部分が前記周方向に連続して形成されているものであり、容器本体側に前記切り欠き部分にわたって前記周縁リブの下端縁が嵌め込まれる溝部が更に形成されていることを特徴とするものである。
【0010】
本発明に係る請求項1に記載の嵌合蓋付き容器によれば、嵌合蓋の容器本体への嵌合状態においては、容器本体の周縁フランジに重ねられている嵌合蓋の周縁リムの下端縁が、段差溝に嵌め込まれてその外側の溝壁に覆われているため、良好な密封状態が得られる。そして容器開封時に嵌合蓋を持ち上げる取っかかりとなる周縁リムの下端縁を露呈させるために周縁フランジから切り離される剥離片が、周縁フランジの周方向に一か所以上設けられた切り欠き部分に、水平方向外方に突出して延設されている。このため、この剥離片は従来の周縁フランジの一部として一体的に設けられたものよりも使用者にとって認識し易く、指先でつまみやすいものである。
(【0011】以降は省略されています)
この特許をJ-PlatPat(特許庁公式サイト)で参照する
関連特許
明太化成株式会社
嵌合蓋付き容器
5日前
個人
収容箱
4か月前
個人
束ね具
29日前
個人
バンド
3か月前
個人
テープ引出機
29日前
個人
棒状体収容容器
1か月前
個人
廃棄物収容容器
4か月前
個人
包装容器
2か月前
株式会社バンダイ
物品
2か月前
株式会社和気
包装用箱
1か月前
個人
積み重ね用補助具
4か月前
三甲株式会社
容器
3か月前
株式会社新弘
容器
4か月前
三甲株式会社
容器
1か月前
個人
介護用コップ
3か月前
株式会社KY7
封止装置
4か月前
株式会社ナベル
検査装置
1か月前
個人
計量キャップ付き容器
20日前
個人
反射板のある袋
4か月前
三甲株式会社
運搬具
1か月前
三甲株式会社
運搬具
21日前
個人
簡単レジ袋オープナー
4か月前
個人
ブリスタ包装体
3か月前
株式会社デュプロ
包装装置
4か月前
個人
容器
3か月前
個人
異常検知式部品供給装置
3か月前
株式会社高木包装
搬送箱
2か月前
株式会社三和
包装用容器
1か月前
日清食品株式会社
ピロー包装機
3か月前
村田機械株式会社
搬送車
26日前
株式会社トーモク
包装箱
2か月前
株式会社カネカ
積層装置
2か月前
三甲株式会社
容器
12日前
船井電機株式会社
緩衝材
5か月前
株式会社トーモク
包装箱
3か月前
三甲株式会社
容器
3か月前
続きを見る
他の特許を見る