TOP
|
特許
|
意匠
|
商標
特許ウォッチ
Twitter
他の特許を見る
10個以上の画像は省略されています。
公開番号
2025176780
公報種別
公開特許公報(A)
公開日
2025-12-05
出願番号
2024083087
出願日
2024-05-22
発明の名称
黒鉛坩堝及び黒鉛坩堝の使用方法
出願人
SECカーボン株式会社
代理人
弁理士法人ユニアス国際特許事務所
主分類
C30B
29/36 20060101AFI20251128BHJP(結晶成長)
要約
【課題】成長結晶の高品質を維持しつつ処理効率を改善した黒鉛坩堝と、当該黒鉛坩堝を使用したSiC単結晶成長方法を提供する。
【解決手段】種結晶基板の主面上に、昇華再結晶法によりSiC単結晶を成長させるための黒鉛坩堝であって、前記黒鉛坩堝は、前記SiC単結晶の原料粉末を収容するための容器と、前記容器の内側面に接する底縁から、前記内側面に沿うように配置される断熱材と、を備え、前記断熱材が配置される高さは、前記黒鉛坩堝の空間の高さより小さい。
【選択図】図1
特許請求の範囲
【請求項1】
種結晶基板の主面上に、昇華再結晶法によりSiC単結晶を成長させるための黒鉛坩堝であって、前記黒鉛坩堝は、
前記SiC単結晶の原料粉末を収容するための容器と、
前記容器の内側面に接する底縁から、前記内側面に沿うように配置される断熱材と、を備え、
前記断熱材が配置される高さは、前記黒鉛坩堝の空間の高さより小さいことを特徴とする、黒鉛坩堝。
続きを表示(約 1,000 文字)
【請求項2】
前記容器の内底面と、収容される前記原料粉末の集合体の底面との間に断熱材がないことを特徴とする、請求項1に記載の黒鉛坩堝。
【請求項3】
前記断熱材が配置される高さがH
1
(mm)で表され、前記原料粉末の集合体の高さがH
2
(mm)で表されるとき、
0.9H
2
< H
1
< 2H
2
・・・(1)
を満たすことを特徴とする、請求項1又は2に記載の黒鉛坩堝。
【請求項4】
H
1
―H
2
≦ 20 ・・・(2)
を満たすことを特徴とする、請求項3に記載の黒鉛坩堝。
【請求項5】
前記断熱材は、主に黒鉛フェルトから構成されていることを特徴とする、請求項1又は2に記載の黒鉛坩堝。
【請求項6】
前記断熱材の厚みは、5mm以下であることを特徴とする、請求項5に記載の黒鉛坩堝。
【請求項7】
前記断熱材は、主に、可撓性黒鉛シート又は炭素繊維強化黒鉛材料から構成されていることを特徴とする、請求項1又は2に記載の黒鉛坩堝。
【請求項8】
前記断熱材の厚みは、3mm以下であることを特徴とする、請求項7に記載の黒鉛坩堝。
【請求項9】
種結晶基板の主面上に、昇華再結晶法によりSiC単結晶を成長させるための黒鉛坩堝を使用する方法であって、
前記SiC単結晶の原料粉末を収容するための容器の内側面に接する底縁から、前記内側面に沿うように断熱材を配置する工程と、
前記断熱材を配置する工程の後に、前記原料粉末を投入する工程と、
前記原料粉末を投入する工程の後に、昇華再結晶法によりSiC単結晶を成長させる工程と、を備え、
前記断熱材が配置される高さは、前記黒鉛坩堝の空間の高さより小さいことを特徴とする、方法。
【請求項10】
前記原料粉末を投入する工程では、前記熱材が配置される高さがH
1
(mm)で表され、前記原料粉末の集合体の高さがH
2
(mm)で表されるとき、
0.9H
2
< H
1
< 2H
2
・・・(1)
を満たす投入量で、前記原料粉末を投入することを特徴とする、請求項9に記載の方法。
発明の詳細な説明
【技術分野】
【0001】
本発明は、黒鉛坩堝及び黒鉛坩堝の使用方法に関する。
続きを表示(約 1,900 文字)
【背景技術】
【0002】
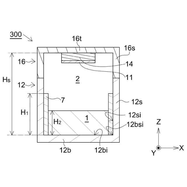
炭素と珪素の原料粉末を黒鉛坩堝内に投入し、黒鉛坩堝を加熱して、昇華再結晶法によりSiC単結晶を製造する方法が知られている。高品質の単結晶を得るには、黒鉛坩堝の構造が重要となる。特許文献1には、黒鉛坩堝の内側面に接触する原料粉末に生じる温度ムラ(径方向の温度ムラ)を軽減するため、内側面と原料粉末の集合体との間に空間を形成することが記載されている。
【先行技術文献】
【特許文献】
【0003】
特開2018-62451号公報
【発明の概要】
【発明が解決しようとする課題】
【0004】
図を参照しながら、内側面と原料粉末の集合体との間に空間を形成した、従来の黒鉛坩堝を詳述する。図8に示される黒鉛坩堝500では、黒鉛坩堝500の容器92の内側面92wと原料91の集合体との間に、空間93(図8において一点鎖線でハッチングされた領域)を形成する。上述したように、空間93は、高品質の単結晶を得ることを目的として、原料91に生じる温度ムラを軽減するために設けられることから、空間93には何も配置されない。それゆえ、原料91を配置可能な容積が減少してしまう。または、原料91が空間93に配置できないことを考慮して、黒鉛坩堝500をより大型のものに変更する必要がある。原料91を配置可能な容積が減少すれば、成長結晶(昇華再結晶法により成長させる結晶)の処理効率が低下する。また、黒鉛坩堝500をより大型のものに変更しても、加熱炉に配置される黒鉛坩堝の数が低下するため、成長結晶の処理効率が低下する。
【0005】
成長結晶の高品質を維持しつつ処理効率を改善した黒鉛坩堝と、当該黒鉛坩堝を使用したSiC単結晶成長方法を提供する。
【課題を解決するための手段】
【0006】
黒鉛坩堝は、種結晶基板の主面上に、昇華再結晶法によりSiC単結晶を成長させるための黒鉛坩堝であって、前記黒鉛坩堝は、
前記SiC単結晶の原料粉末を収容するための容器と、
前記容器の内側面に接する底縁から、前記内側面に沿うように配置される断熱材と、を備え、
前記断熱材が配置される高さは、前記黒鉛坩堝の空間の高さより小さい。
【0007】
詳細は実施形態で説明するが、本発明者らは、鋭意研究の結果、黒鉛坩堝の内側面から原料粉末の集合体の外側面に伝わる熱が、SiC単結晶の品質を低下させることに気付いた。その気付きに基づいて、黒鉛坩堝の内側面から原料粉末の集合体の外側面に熱が伝わらないように、黒鉛坩堝の内側面と、集合体の外側面との間に断熱材を配置した。集合体に対する側方からの加熱を抑えることにより、SiC単結晶における結晶異種多形や結晶欠陥の発生を抑え、単結晶の品質をより高めるか、又は、単結晶の品質を高い状態に維持できる。断熱材を使用せず、黒鉛坩堝の内側面と原料粉末の集合体との間に空間を形成する、図8のような場合であっても、ある程度の断熱作用が得られるが、本発明の黒鉛坩堝のように、断熱材を使用する場合には、内側面と集合体との間に空間を形成する場合に比べてより大きな断熱作用が得られる。加えて、断熱材が配置される容積が小さいため、断熱材を配置することによる原料の減少量が抑えられ、処理効率を高められる。また、前記黒鉛坩堝は前記断熱材が配置される高さが、前記黒鉛坩堝の空間の高さより小さいことは、黒鉛坩堝の内側面には、断熱材で囲われていない部分が存在することを表す。黒鉛坩堝の内側面で集合体に接しない部分については、むしろ側方からの加熱が有効である。当該部分が断熱材で囲われないようにすることで、側方からの加熱を促し、昇華再結晶を促進する。
【0008】
前記黒鉛坩堝は、前記容器の内底面と、収容される前記原料粉末の集合体の底面との間に断熱材がなくても構わない。
【0009】
前記断熱材が配置される高さがH
1
(mm)で表され、前記原料粉末の集合体の高さがH
2
(mm)で表されるとき、
0.9H
2
< H
1
< 2H
2
・・・(1)
を満たしても構わない。
【0010】
H
1
―H
2
≦ 20 ・・・(2)
を満たしても構わない。
(【0011】以降は省略されています)
特許ウォッチbot のツイートを見る
この特許をJ-PlatPat(特許庁公式サイト)で参照する
関連特許
SECカーボン株式会社
坩堝
8か月前
株式会社CUSIC
SiC積層体の製造方法
6か月前
SECカーボン株式会社
結晶成長装置
7か月前
住友金属鉱山株式会社
結晶育成装置
3か月前
アムジエン・インコーポレーテツド
SLC30A8発現を阻害するためのRNAiコンストラクト及びその使用方法
1か月前
学校法人 東洋大学
マルチカラー結晶の結晶成長方法
6か月前
株式会社FLOSFIA
構造体および構造体の製造方法
3か月前
株式会社SUMCO
単結晶の製造方法
5か月前
信越化学工業株式会社
炭化金属被覆材料
5か月前
富士電機株式会社
半導体装置及びその製造方法
20日前
コマディール・エス アー
サファイア棒状体の製造方法
6か月前
セイコーエプソン株式会社
人工水晶製造装置
3か月前
信越半導体株式会社
半導体ウェーハの製造方法
1か月前
株式会社C&A
処理装置および方法
6か月前
株式会社レゾナック
SiCエピタキシャルウェハ
7か月前
日本碍子株式会社
AlN単結晶基板及びデバイス
2か月前
住友金属鉱山株式会社
圧電性酸化物単結晶基板の製造方法
6か月前
住友金属鉱山株式会社
圧電性酸化物単結晶基板の製造方法
5か月前
住友金属鉱山株式会社
酸化物単結晶基板の製造方法
1日前
信越半導体株式会社
3C-SiC膜の結晶性評価方法
8か月前
住友金属鉱山株式会社
単結晶の育成方法及びその装置
2か月前
旭化成株式会社
結晶の製造方法、六方晶系半導体結晶及び素子
7か月前
住友電気工業株式会社
炭化珪素基板の製造方法
4か月前
住友電気工業株式会社
炭化珪素基板の製造方法
4か月前
住友化学株式会社
窒化物積層体の製造方法および窒化物積層体
4か月前
信越半導体株式会社
3C-SiC単結晶基板の評価方法
4か月前
株式会社SUMCO
単結晶シリコンインゴットの製造方法
5か月前
グローバルウェーハズ・ジャパン株式会社
半導体基板の製造方法
6か月前
サイクリスタル ゲーエムベーハー
バルクSiC結晶の製造方法
2か月前
株式会社Kanazawa Diamond
ダイヤモンド
6か月前
三菱マテリアル電子化成株式会社
シリコンインゴット
1か月前
株式会社プロテリアル
炭化珪素単結晶の製造方法
8か月前
住友化学株式会社
窒化物結晶基板の製造方法、および窒化物結晶基板
7か月前
信越半導体株式会社
ヘテロエピタキシャルウェーハの製造方法
5か月前
学校法人 名城大学
結晶成長用基板の作製方法
3か月前
住友化学株式会社
窒化物結晶基板、および窒化物結晶基板の製造方法
5か月前
続きを見る
他の特許を見る