TOP
|
特許
|
意匠
|
商標
特許ウォッチ
Twitter
他の特許を見る
公開番号
2025176203
公報種別
公開特許公報(A)
公開日
2025-12-03
出願番号
2025157545,2023580951
出願日
2025-09-22,2023-08-04
発明の名称
光学系装置
出願人
SCIVAX株式会社
代理人
個人
主分類
G02B
3/00 20060101AFI20251126BHJP(光学)
要約
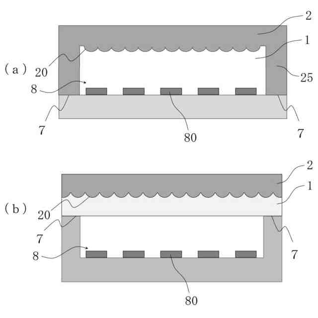
【課題】 光学素子と照射部の垂直方向や水平方向のアライメントがされた光学系装置を提供すること。
【解決手段】 第1の屈折率を有する気体からなる第1媒質層1と第1の屈折率よりも高い第2の屈折率を有する第2樹脂からなる第2媒質層2との境界面に、光学的な機能を発揮する凹凸形状20を有し、凹凸形状20より第1媒質層1側に一定の距離を空けて形成されたアジャスト部7を有する光学素子と、光学素子の第1媒質層1側に配置され、光学素子に光を照射する光源80を有する照射部8と、を具備し、光学素子と照射部8が、アジャスト部を介して一定の距離を空けて積層されている光学系装置。
【選択図】 図12
特許請求の範囲
【請求項1】
第1の屈折率を有する気体からなる第1媒質層と第1の屈折率よりも高い第2の屈折率を有する第2樹脂からなる第2媒質層との境界面に、光学的な機能を発揮する凹凸形状を有し、前記凹凸形状より前記第1媒質層側に一定の距離を空けて形成されたアジャスト部を有する光学素子と、
前記光学素子の前記第1媒質層側に配置され、当該光学素子に光を照射する光源を有する照射部と、を具備し、
前記凹凸形状は、波長λの光を透過するレンズが周期的に配列された形状であり、
前記照射部は、波長λの光を前記レンズの複数に照射する光源を有するものであり、
m、nを1以上の自然数とし、前記レンズの周期方向であるy方向に垂直な断面形状による焦点距離をf
1
、前記レンズの周期方向であると共にy方向とは異なるx方向に垂直な断面形状による焦点距離をf
2
、前記レンズのx方向のピッチの大きさをP
1
、y方向のピッチの大きさをP
2
、前記レンズのy方向に垂直な断面形状による焦点位置にあり前記レンズの光軸と垂直な平面である第1焦点面と前記照射部との光路長をL
1
、前記レンズのx方向に垂直な断面形状による焦点位置にあり前記レンズの光軸と垂直で平面である第2焦点面と前記照射部との光路長をL
2
とすると、前記光学素子と前記照射部は、下記式1および式2
TIFF
2025176203000010.tif
17
88
TIFF
2025176203000011.tif
18
88
を満たすように前記アジャスト部を介して積層されていることを特徴とする光学系装置。
続きを表示(約 1,200 文字)
【請求項2】
第1の屈折率を有する気体からなる第1媒質層と第1の屈折率よりも高い第2の屈折率を有する第2樹脂からなる第2媒質層との境界面に、光学的な機能を発揮する凹凸形状を有し、前記凹凸形状より前記第1媒質層側に一定の距離を空けて形成されたアジャスト部を有する光学素子と、
前記光学素子の前記第1媒質層側に配置され、当該光学素子に光を照射する光源を有する照射部と、を具備し、
前記光学素子は、入射した光を所定の拡散範囲に拡散可能であって、
前記拡散範囲は、所定の平面における単一の閉曲線の内部として規定され、
前記凹凸形状は、周期性を持たない複数の稜部と谷部を有し、
前記光を前記拡散範囲に拡散させる前記凹凸形状の表面の傾きの頻度分布は、傾きの増加と共に単調増加し、
前記凹凸形状は、スネルの法則によって入射光を前記拡散範囲外に出射させるような傾きを有する領域が当該凹凸形状の全領域の5%以下であり、
前記光学素子と前記照射部は、前記凹凸形状の光学的な機能を発揮させ、当該照射部から入射した光を前記拡散範囲に拡散させる一定の距離を空けるために前記アジャスト部を介して積層されていることを特徴とする光学系装置。
【請求項3】
前記光を前記拡散範囲に拡散させる前記凹凸形状の表面の傾き角θの頻度分布がcos
-n
θ(1≦n≦7)に比例することを特徴とする請求項2記載の光学系装置。
【請求項4】
前記凹凸形状は、前記光の波長をλ、前記第1の屈折率をn
1
、前記第2の屈折率をn
2
とすると、幅がλ/(n2-n1)の範囲において前記凹凸形状の傾きが135度以上変化する部分を有さないことを特徴とする請求項2記載の光学系装置。
【請求項5】
前記光学素子は、前記第2媒質層の前記境界面とは反対側の面に反射防止膜を具備することを特徴とする請求項1から4までのいずれかに記載の光学系装置。
【請求項6】
前記第2媒質層の前記境界面とは反対側の面は、モスアイとして機能する微細凹凸構造が形成されていることを特徴とする請求項1から4までのいずれかに記載の光学系装置。
【請求項7】
前記光学素子は、前記第2媒質層の前記境界面とは反対側の面に第3媒質層を具備することを特徴とする請求項1から4までのいずれかに記載の光学系装置。
【請求項8】
前記第3媒質層は、前記第1媒質層と同じ材料からなることを特徴とする請求項7記載の光学系装置。
【請求項9】
前記照射部は、樹脂からなり前記光源を被覆する光源被覆層を具備することを特徴とする請求項1から4までのいずれかに記載の光学系装置。
【請求項10】
前記光学素子と前記照射部を内包するカバー部を具備することを特徴とする請求項1から4までのいずれかに記載の光学系装置。
(【請求項11】以降は省略されています)
発明の詳細な説明
【技術分野】
【0001】
本発明は、光学素子、光学系装置および光学系装置の製造方法に関するものである。
続きを表示(約 1,200 文字)
【背景技術】
【0002】
タイムオブフライト(TOF)法を用いた3次元計測センサが携帯機器、車、ロボット等に採用されようとしている。これは、光源から対象物に照射された光が反射され戻って来るまでの時間から対象物の距離を計測するものである。光源からの光が対象物の所定の領域に均一に照射されていれば、照射されている各点における距離を測定でき対象物の立体構造が検知できることになる。
【0003】
上記センサーシステムは光を照射する照射部と、照射部の光を所定の配光に制御する光学素子と、対象物の各点から反射してきた光を検知するカメラ部と、当該カメラ部が受光した信号から対象物の距離を算出する演算部からなる。照射部やカメラ部、演算部は既存のVCSELやCMOSイメージャ、CPU等を使用できるため、上記システムの独自の部分は光学素子となる。
【0004】
従来の光学素子は、マイクロレンズアレイが周期構造であるために、回折の影響で光強度のむらが生じるという問題があった。そこで、このむらを抑制するために、各レンズをランダムに配置する等の工夫が行われている(例えば、特許文献1)。
【0005】
一方、TOFには、遠距離測定のニーズがあり、照射光のインテンシティには、遠距離測定ができるだけの強さが必要となる。しかし、ランダムに配置したマイクロレンズアレイは照射光の均一性が高い分、インテンシティが低くなるため、遠距離測定には不向きである。
【0006】
そこで、電力を節減し、なおかつ強い光の信号を処理できる方法としてドットパターンを照射する光学素子を用いて、この光のタイムオブフライトから3次元計測を行うことも検討されている(例えば、特許文献2)。
【先行技術文献】
【特許文献】
【0007】
特表2006-500621
国際公開第2023/26987
【発明の開示】
【発明が解決しようとする課題】
【0008】
ここで、従来の光学素子は、光学的な機能を発揮する部分については種々検討されているが、照射部やその他の構成部品と組み合わせた光学系装置を製造する際のパッケージング等については未だ十分に考慮されていない。
【0009】
そこで本発明は、その他の構成部品とパッケージングし易い光学素子や当該光学素子を用いた光学系装置および光学系装置の製造方法に関するものである。
【課題を解決するための手段】
【0010】
上記目的を達成するために、本発明の光学素子は、第1の屈折率を有する第1媒質層と第1の屈折率よりも高い第2の屈折率を有する第2媒質層との境界面に、光学的な機能を発揮する凹凸形状を有する光学素子であって、前記凹凸形状より第1媒質層側に前記凹凸形状と一定の距離を空けるためのアジャスト部が形成されていることを特徴とする。
(【0011】以降は省略されています)
この特許をJ-PlatPat(特許庁公式サイト)で参照する
関連特許
株式会社シグマ
結像光学系
1か月前
アイカ工業株式会社
反射防止フィルム
5日前
豊田合成株式会社
調光装置
18日前
株式会社コシナ
投射ズームレンズ
24日前
日東電工株式会社
導光部材
1か月前
日東電工株式会社
光学積層体
1か月前
日本精機株式会社
ヘッドアップディスプレイ
1か月前
キヤノン株式会社
表示装置
10日前
キヤノン株式会社
表示装置
3日前
古河電気工業株式会社
光ファイバケーブル
3日前
京セラ株式会社
アイソレータ
10日前
古河電気工業株式会社
光ファイバケーブル
3日前
住友化学株式会社
複合偏光板
3日前
日本精機株式会社
ヘッドアップディスプレイ装置
1か月前
マクセル株式会社
映像表示装置
24日前
日本精機株式会社
ヘッドアップディスプレイ装置
1か月前
株式会社リコー
光走査装置及び画像形成装置
1か月前
株式会社タムロン
ズームレンズ及び撮像装置
3日前
住友ベークライト株式会社
光学部品の製造方法
3日前
古河電気工業株式会社
融着機、ピッチ変換部材
3日前
レーザーテック株式会社
光学装置及び調整方法
1か月前
株式会社小糸製作所
画像表示装置
26日前
日東電工株式会社
光学積層体
3日前
日東電工株式会社
光学積層体
3日前
日東電工株式会社
光学積層体
3日前
マクセル株式会社
空中浮遊映像表示装置
18日前
株式会社小糸製作所
画像生成装置
12日前
株式会社小糸製作所
画像生成装置
26日前
マクセル株式会社
空中浮遊映像表示装置
1か月前
株式会社小糸製作所
画像投影装置
18日前
個人
レーザポインタおよびレーザポインタの装着方法
1か月前
キヤノン株式会社
光学系および撮像装置
18日前
吉祥園株式会社
近くの物体を遠くに鏡像させて見る光学器具
4日前
キヤノン株式会社
走査光学装置及び画像形成装置
1か月前
キヤノン株式会社
走査光学装置及び画像形成装置
12日前
個人
双眼ルーペ
5日前
続きを見る
他の特許を見る