TOP
|
特許
|
意匠
|
商標
特許ウォッチ
Twitter
他の特許を見る
10個以上の画像は省略されています。
公開番号
2025176196
公報種別
公開特許公報(A)
公開日
2025-12-03
出願番号
2025155986,2021074460
出願日
2025-09-19,2021-04-26
発明の名称
クッション体
出願人
株式会社エアウィーヴ
代理人
弁理士法人北大阪特許事務所
主分類
A47C
27/12 20060101AFI20251126BHJP(家具;家庭用品または家庭用設備;コーヒーひき;香辛料ひき;真空掃除機一般)
要約
【課題】クッション部材を用いて、良好な使い心地を保ちながらも適度な丸みを帯びた座布団を実現することが可能となるクッション体を提供する。
【解決手段】内部ユニットがカバー部材に包み込まれて形成され、座布団として使用されるクッション体であって、前記内部ユニットは、クッション部材の上下の少なくとも一方に、当該クッション部材よりも反発力の低いパッド部材を配置して形成され、前記パッド部材は、上方視で前記クッション部材の外縁より外側に延在する延在部を有し、前記パッド部材における前記延在部が、前記カバー部材によって上下方向内向きに撓むクッション体とする。
【選択図】図1
特許請求の範囲
【請求項1】
内部ユニットがカバー部材に包み込まれて形成され、座布団として使用されるクッション体であって、
前記内部ユニットは、
クッション部材の上下の少なくとも一方に、当該クッション部材よりも反発力の低いパッド部材を配置して形成され、
前記パッド部材は、上方視で前記クッション部材の外縁より外側に延在する延在部を有し、
前記パッド部材における前記延在部が、前記カバー部材によって上下方向内向きに撓むことを特徴とするクッション体。
続きを表示(約 570 文字)
【請求項2】
前記内部ユニットは、前記クッション部材の上下それぞれに前記パッド部材を配置して形成され、
上下の前記パッド部材それぞれにおける前記延在部が、前記カバー部材によって上下方向内向きに撓むことを特徴とする請求項1に記載のクッション体。
【請求項3】
上下の前記パッド部材それぞれにおける前記延在部は、上方視で前記クッション部材の外縁全周より外側に延在していることを特徴とする請求項2に記載のクッション体。
【請求項4】
前記クッション部材は、熱可塑性樹脂からなるフィラメントを3次元的に融着結合させて得られるフィラメント3次元結合体であることを特徴とする請求項1から請求項3の何れかに記載のクッション体。
【請求項5】
前記内部ユニットは水洗い可能であり、
前記カバー部材は、
当該カバー部材の状態を、前記内部ユニットを出し入れ可能とする開口が形成された開状態と、当該開口が閉じられた閉状態との間で切替自在とする開閉部を備えたことを特徴とする請求項1から請求項4の何れかに記載のクッション体。
【請求項6】
前記開閉部は、前記カバー部材の上方視外縁に沿って延びるように設けたファスナーであることを特徴とする請求項5に記載のクッション体。
発明の詳細な説明
【技術分野】
【0001】
本発明は、クッション部材を用いて形成されるクッション体に関する。
続きを表示(約 1,400 文字)
【背景技術】
【0002】
従来、使用者を弾性的に支持するための様々な用途に、クッション体が広く利用されている。クッション体の全体形状としては、用途等に応じて様々な形状が採用され得るが、床や椅子等に敷いて利用する場合にも便利となる略板状が多く採用される。
【0003】
また、このようなクッションの形成に好適なクッション素材も種々開発されている。例えば特許文献1および2には、熱可塑性樹脂からなるフィラメントを3次元的に融着結合させて得られるフィラメント3次元結合体、およびその製造方法が開示されている。
【先行技術文献】
【特許文献】
【0004】
特許第6527602号公報
特許第4966438号公報
【発明の概要】
【発明が解決しようとする課題】
【0005】
ところで従来、座るときに下に敷いて使用される座布団が広く利用されている。一般的に座布団は、カバーの内側に綿等を詰めて、座布団に特有の丸みを帯びた形状に形成される。しかし、綿等の代わりにフィラメント3次元結合体等のクッション部材を用いる場合は、良好な使い心地を保ちながらも適度な丸みを帯びた座布団を形成することは容易ではない。適度な丸みがないと、座布団として使用する際の違和感が生じる虞がある。
【0006】
本発明は上記課題に鑑み、クッション部材を用いて、良好な使い心地を保ちながらも適度な丸みを帯びた座布団を実現することが可能となるクッション体の提供を目的とする。
【課題を解決するための手段】
【0007】
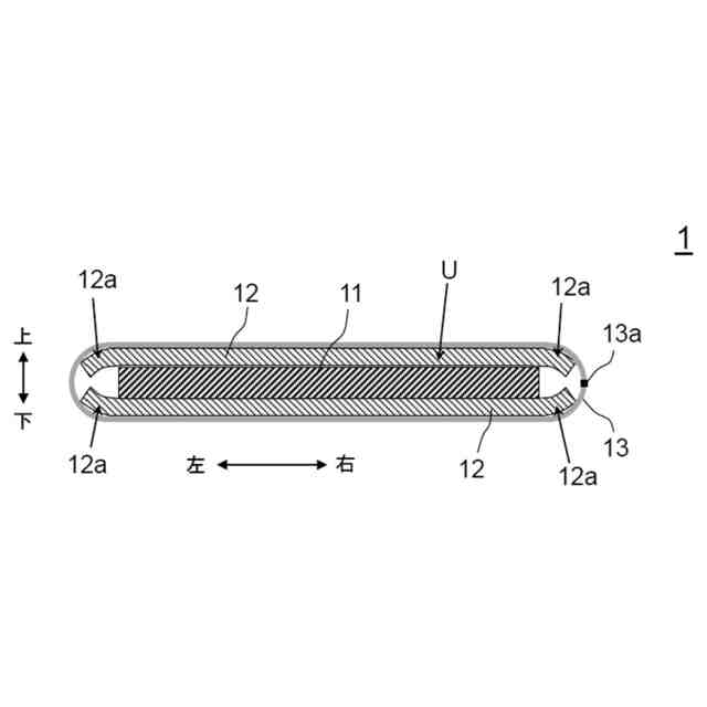
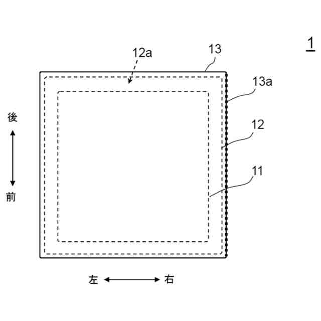
本発明に係るクッション体は、内部ユニットがカバー部材に包み込まれて形成され、座布団として使用されるクッション体であって、前記内部ユニットは、クッション部材の上下の少なくとも一方に、当該クッション部材よりも反発力の低いパッド部材を配置して形成され、前記パッド部材は、上方視で前記クッション部材の外縁より外側に延在する延在部を有し、前記パッド部材における前記延在部が、前記カバー部材によって上下方向内向きに撓む構成とする。本構成によれば、クッション部材を用いて、良好な使い心地を保ちながらも適度な丸みを帯びた座布団を実現することが可能となる。
【0008】
上記構成としてより具体的には、前記内部ユニットは、前記クッション部材の上下それぞれに前記パッド部材を配置して形成され、上下の前記パッド部材それぞれにおける前記延在部が、前記カバー部材によって上下方向内向きに撓む構成としても良い。本構成によれば、座布団に特有の丸み帯びた形状により近づけることが容易となる。
【0009】
上記構成としてより具体的には、上下の前記パッド部材それぞれにおける前記延在部は、上方視で前記クッション部材の外縁全周より外側に延在している構成としても良い。本構成によれば、座布団に特有の丸み帯びた形状に更に近づけることが容易となる。
【0010】
上記構成としてより具体的には、前記クッション部材は、熱可塑性樹脂からなるフィラメントを3次元的に融着結合させて得られるフィラメント3次元結合体である構成としても良い。本構成によれば、フィラメント3次元結合体の利点を活かした座布団を実現することが可能となる。
(【0011】以降は省略されています)
この特許をJ-PlatPat(特許庁公式サイト)で参照する
関連特許
個人
箸
1か月前
個人
家具
4か月前
個人
椅子
3か月前
個人
自助箸
7か月前
個人
掃除機
9か月前
個人
掃除用具
4か月前
個人
屋外用箒
7か月前
個人
体洗い具
11か月前
個人
枕
9か月前
個人
ソファー
2か月前
個人
掃除道具
9か月前
個人
多用途紐
1か月前
個人
枕
5か月前
個人
耳拭き棒
11か月前
個人
ハンガー
7か月前
個人
開閉トング
6か月前
個人
物品
3か月前
個人
片手代替具
11か月前
個人
省煙消臭器
9か月前
個人
掃除シート
10か月前
個人
組立式棚板
7か月前
個人
ゴミ袋保持枠
7か月前
個人
経典表示装置
5か月前
個人
洗面台
11か月前
個人
靴ベラ
2か月前
個人
紙コップ 蓋
2か月前
個人
中身のない枕
8か月前
個人
シャワー装置
6か月前
個人
バターナイフ
1か月前
個人
転倒防止装置
5か月前
個人
受け皿
6か月前
個人
簡易防災トイレ
2か月前
個人
補助寝具
8か月前
個人
ホバー掃除機。
6か月前
個人
展示装置
15日前
個人
コーナーシール
10か月前
続きを見る
他の特許を見る