TOP
|
特許
|
意匠
|
商標
特許ウォッチ
Twitter
他の特許を見る
公開番号
2025176184
公報種別
公開特許公報(A)
公開日
2025-12-03
出願番号
2025155273,2021184685
出願日
2025-09-18,2021-11-12
発明の名称
信号波形設定装置
出願人
NECプラットフォームズ株式会社
代理人
個人
,
個人
,
個人
,
個人
主分類
H04L
25/03 20060101AFI20251126BHJP(電気通信技術)
要約
【課題】時間コストの増加や、ハードウェアのばらつきによる品質向上及びコスト低減を図ることができないこと。
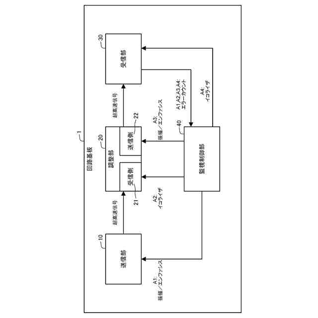
【解決手段】超高速信号を送信する送信部101と、超高速信号を受信する受信部103と、送信部と受信部との間に配置され超高速信号の波形を調整する調整部102と、を備えた回路基板100において信号波形の設定を行う信号波形設定装置110であって、送信部から送信される超高速信号の特性を受信部による受信信号に基づいて設定する第一機能111と、調整部の受信側で受信される超高速信号の特性を受信部による受信信号に基づいて設定する第二機能112と、調整部の送信側から送信される超高速信号の特性を受信部による受信信号に基づいて設定する第三機能113と、受信部で受信される超高速信号の特性を受信部による受信信号に基づいて設定する第四機能114と、を備える。
【選択図】図4
特許請求の範囲
【請求項1】
信号を送信する送信部と、前記信号を受信する受信部と、前記送信部と前記受信部との間に配置され前記信号の波形を調整する調整部と、を備えた回路基板において信号波形の設定を行う信号波形設定装置であって、
前記送信部から送信される前記信号の振幅またはエンファシスを、前記受信部で検出されたエラーカウントに基づいて設定する第一機能と、
前記調整部の受信側で受信される前記信号のイコライザを、前記受信部で検出されたエラーカウントに基づいて設定する第二機能と、
前記調整部の送信側から送信される前記信号の振幅またはエンファシスを、前記受信部で検出されたエラーカウントに基づいて設定する第三機能と、
前記受信部で受信される前記信号のイコライザを、前記受信部で検出されたエラーカウントに基づいて設定する第四機能と、
を備えた信号波形設定装置。
続きを表示(約 1,200 文字)
【請求項2】
信号を送信する送信部と、前記信号を受信する受信部と、前記送信部と前記受信部との間に配置され前記信号の波形を調整する調整部と、を備えた回路基板における信号波形設定方法であって、
前記送信部から送信される前記信号の振幅またはエンファシスを、前記受信部で検出されたエラーカウントに基づいて設定する第一工程と、
前記調整部の受信側で受信される前記信号のイコライザを、前記受信部で検出されたエラーカウントに基づいて設定する第二工程と、
前記調整部の送信側から送信される前記信号の振幅またはエンファシスを、前記受信部で検出されたエラーカウントに基づいて設定する第三工程と、
前記受信部で受信される前記信号のイコライザを、前記受信部で検出されたエラーカウントに基づいて設定する第四工程と、
を任意の順序で含む、
信号波形設定方法。
【請求項3】
信号を送信する送信部と、前記信号を受信する受信部と、前記送信部と前記受信部との間に配置され前記信号の波形を調整する調整部と、信号波形の設定を行う信号波形設定部と、を備えた回路基板であって、
前記信号波形設定部は、
前記送信部から送信される前記信号の振幅またはエンファシスを、前記受信部で検出されたエラーカウントに基づいて設定する第一機能と、
前記調整部の受信側で受信される前記信号のイコライザを、前記受信部で検出されたエラーカウントに基づいて設定する第二機能と、
前記調整部の送信側から送信される前記信号の振幅またはエンファシスを、前記受信部で検出されたエラーカウントに基づいて設定する第三機能と、
前記受信部で受信される前記信号のイコライザを、前記受信部で検出されたエラーカウントに基づいて設定する第四機能と、
を備えた、
回路基板。
【請求項4】
信号を送信する送信部と、前記信号を受信する受信部と、前記送信部と前記受信部との間に配置され前記信号の波形を調整する調整部と、を備えた回路基板において信号波形の設定を行う演算装置に、
前記送信部から送信される前記信号の振幅またはエンファシスを、前記受信部で検出されたエラーカウントに基づいて設定する第一機能と、
前記調整部の受信側で受信される前記信号のイコライザを、前記受信部で検出されたエラーカウントに基づいて設定する第二機能と、
前記調整部の送信側から送信される前記信号の振幅またはエンファシスを、前記受信部で検出されたエラーカウントに基づいて設定する第三機能と、
前記受信部で受信される前記信号のイコライザを、前記受信部で検出されたエラーカウントに基づいて設定する第四機能と、
を実現させるためのプログラム。
発明の詳細な説明
【技術分野】
【0001】
本発明は、信号波形設定方法、信号波形設定装置、プログラムに関する。
続きを表示(約 2,400 文字)
【背景技術】
【0002】
スマートフォン・タブレットといった携帯型情報処理端末の普及や、クラウドサービス・IoT(Internet of Things)技術の発達により、インターネットトラフィックは増加の一途となっている。一方で、各通信キャリアにおいては通信コストの削減が急務となっており、信号収容効率を向上できる信号のさらなる高速化の伝送技術の適用が必要となっている。
【0003】
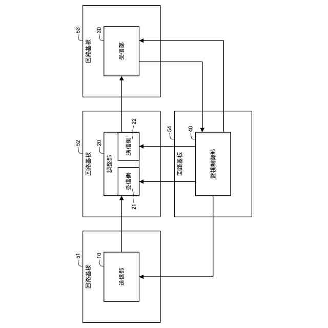
特に、回路基板内で配線される信号のボーレートが10Gbps以上になるような通信装置において、信号配線技術と基材の選定が大きな課題となっている。そのため、送信デバイスと受信デバイスを直接接続するのではなく、そのデバイス間にSignal-Conditionerなどの波形調整機能を有するデバイスを介して送信デバイスと受信デバイスとの間の超高速信号の電気波形の最適化を行う必要がある。そして、電気波形の最適化に行うにあたり、送信デバイスの振幅/エンファシス、Signal-Conditionerなどの波形調整機能を有するデバイスの送信側の振幅/エンファシスと受信側のイコライザ、受信デバイスのイコライザをそれぞれのデバイスにパラメータとして設定する必要がある。
【先行技術文献】
【特許文献】
【0004】
特開2014-137799号公報
【発明の概要】
【発明が解決しようとする課題】
【0005】
上述したような各設定値は、実機の評価結果や波形シミュレーションの結果により検討された最適な設定値を各デバイスに固定値で設定している。そのため、回路基板の再設計やデバイスの変更時には、再度、最適な設定値を検討後に固定値で設定する必要があり、時間コストが増加するという問題が生じる。また、各デバイスの送信・受信特性、PWB(Printed Wiring Board)配線特性、デバイス材質特性の個体差による個別ばらつきはあまり考慮されていないため、かかるばらつきによる品質向上やコスト低減を図ることができない、という問題が生じる。
【0006】
ここで、特許文献1には、電子機器における送受信パラメータを、信号受信状態を監視することで変更することが記載されている。しかしながら、特許文献1では、上述した波形調整機能を有するデバイスの送受信パラメータを変更することまで考慮されていない。このため、依然として、信号波形の調整が必要なデバイスを使用する場合において、デバイスの設定値を調整する時間コストの増加や、ハードウェアのばらつきによる品質向上及びコスト低減を図ることができない、という問題が生じる。
【0007】
このため、本発明の目的は、上述した課題である、時間コストの増加や、ハードウェアのばらつきによる品質向上及びコスト低減を図ることができない、ことを解決することができる信号波形設定方法を提供することにある。
【課題を解決するための手段】
【0008】
本発明の一形態である信号波形設定方法は、
超高速信号を送信する送信部と、超高速信号を受信する受信部と、前記送信部と前記受信部との間に配置され超高速信号の波形を調整する調整部と、を備えた回路基板における信号波形設定方法であって、
前記送信部から送信される超高速信号の特性を、前記受信部による受信信号に基づいて設定する第一工程と、
前記調整部の受信側で受信される超高速信号の特性を、前記受信部による受信信号に基づいて設定する第二工程と、
前記調整部の送信側から送信される超高速信号の特性を、前記受信部による受信信号に基づいて設定する第三工程と、
前記受信部で受信される超高速信号の特性を、前記受信部による受信信号に基づいて設定する第四工程と、
を任意の順序で含む、
という構成をとる。
【0009】
また、本発明の一形態である信号波形設定装置は、
超高速信号を送信する送信部と、超高速信号を受信する受信部と、前記送信部と前記受信部との間に配置され超高速信号の波形を調整する調整部と、を備えた回路基板において信号波形の設定を行う信号波形設定装置であって、
前記送信部から送信される超高速信号の特性を、前記受信部による受信信号に基づいて設定する第一機能と、
前記調整部の受信側で受信される超高速信号の特性を、前記受信部による受信信号に基づいて設定する第二機能と、
前記調整部の送信側から送信される超高速信号の特性を、前記受信部による受信信号に基づいて設定する第三機能と、
前記受信部で受信される超高速信号の特性を、前記受信部による受信信号に基づいて設定する第四機能と、
を備えた、
という構成をとる。
【0010】
また、本発明の一形態である回路基板は、
超高速信号を送信する送信部と、超高速信号を受信する受信部と、前記送信部と前記受信部との間に配置され超高速信号の波形を調整する調整部と、信号波形の設定を行う信号波形設定部と、を備えた回路基板であって、
前記信号波形設定部は、
前記送信部から送信される超高速信号の特性を、前記受信部による受信信号に基づいて設定する第一機能と、
前記調整部の受信側で受信される超高速信号の特性を、前記受信部による受信信号に基づいて設定する第二機能と、
前記調整部の送信側から送信される超高速信号の特性を、前記受信部による受信信号に基づいて設定する第三機能と、
前記受信部で受信される超高速信号の特性を、前記受信部による受信信号に基づいて設定する第四機能と、
を備えた、
という構成をとる。
(【0011】以降は省略されています)
この特許をJ-PlatPat(特許庁公式サイト)で参照する
関連特許
個人
イヤーピース
28日前
個人
イヤーマフ
1か月前
個人
監視カメラシステム
1か月前
個人
スイッチシステム
1か月前
キーコム株式会社
光伝送線路
1か月前
サクサ株式会社
中継装置
1か月前
サクサ株式会社
中継装置
1か月前
個人
スキャン式車載用撮像装置
1か月前
WHISMR合同会社
収音装置
2か月前
キヤノン株式会社
撮像装置
今日
キヤノン株式会社
撮像装置
7日前
キヤノン株式会社
撮像装置
今日
キヤノン株式会社
撮像装置
3か月前
アイホン株式会社
電気機器
2か月前
キヤノン株式会社
撮像装置
今日
キヤノン電子株式会社
画像読取装置
1か月前
株式会社リコー
画像形成装置
1か月前
株式会社リコー
画像形成装置
3か月前
個人
ワイヤレスイヤホン対応耳掛け
2か月前
個人
映像表示装置、及びARグラス
1か月前
キヤノン電子株式会社
画像読取装置
1か月前
ヤマハ株式会社
放音制御装置
1か月前
キヤノン電子株式会社
画像読取装置
2か月前
株式会社リコー
画像形成装置
3か月前
サクサ株式会社
無線システム
1か月前
キヤノン電子株式会社
画像読取装置
28日前
サクサ株式会社
無線通信装置
1か月前
サクサ株式会社
無線通信装置
1か月前
キヤノン株式会社
画像処理装置
1か月前
キヤノン電子株式会社
シート搬送装置
28日前
キヤノン株式会社
情報処理装置
15日前
個人
発信機及び発信方法
1か月前
日本電気株式会社
海底分岐装置
1か月前
キヤノン株式会社
撮像システム
2か月前
パテントフレア株式会社
超高速電波通信
3か月前
株式会社NTTドコモ
端末
1か月前
続きを見る
他の特許を見る