TOP
|
特許
|
意匠
|
商標
特許ウォッチ
Twitter
他の特許を見る
10個以上の画像は省略されています。
公開番号
2025176183
公報種別
公開特許公報(A)
公開日
2025-12-03
出願番号
2025155229,2024174361
出願日
2025-09-18,2021-06-09
発明の名称
ロードセル
出願人
ミネベアミツミ株式会社
代理人
弁理士法人ITOH
主分類
G01G
3/14 20060101AFI20251126BHJP(測定;試験)
要約
【課題】はかり用途に使用可能な、ひずみゲージを備えたロードセルを提供する。
【解決手段】本ロードセルは、ロバーバル型の起歪体と、前記起歪体に搭載されるひずみゲージと、を備え、前記ひずみゲージは、可撓性を有する基材と、前記基材上に、クロムとニッケルの少なくとも一方を含む材料から形成された抵抗体と、を有し、前記抵抗体の膜厚は、6nm以上100nm以下であり、以てクリープ量及びクリープリカバリー量が±0.0735%以下となる。
【選択図】図2
特許請求の範囲
【請求項1】
ロバーバル型の起歪体と、
前記起歪体に搭載されるひずみゲージと、を備え、
前記ひずみゲージは、可撓性を有する基材と、前記基材上に、クロムとニッケルの少なくとも一方を含む材料から形成された抵抗体と、を有し、
前記抵抗体の膜厚は、6nm以上100nm以下であり、以てクリープ量及びクリープリカバリー量が±0.0735%以下となる、ロードセル。
続きを表示(約 410 文字)
【請求項2】
前記ひずみゲージは、前記抵抗体と電極とを電気的に接続する配線、を含み、
前記配線上に、前記抵抗体よりも低抵抗の材料から形成された導電層が積層される、請求項1に記載のロードセル。
【請求項3】
前記抵抗体は、Cr、CrN、及びCr
2
Nを含む膜から形成される、請求項2に記載のロードセル。
【請求項4】
ひずみ限界が10000με以上となるように、前記抵抗体の膜厚を、6nm以上50nm以下とした、請求項1乃至3のいずれか一項に記載のロードセル。
【請求項5】
前記抵抗体の膜厚は、11nm以上50nm以下であり、以てクリープ量及びクリープリカバリー量が±0.0368%以下となる、請求項4に記載のロードセル。
【請求項6】
前記ひずみゲージが複数の前記抵抗体を有する、請求項1乃至5のいずれか一項に記載のロードセル。
発明の詳細な説明
【技術分野】
【0001】
本発明は、ロードセルに関する。
続きを表示(約 1,300 文字)
【背景技術】
【0002】
基材上に抵抗体を備え、測定対象物に貼り付けて、測定対象物の特性を検出するひずみゲージが知られている。ひずみゲージは、例えば、材料のひずみを検出するセンサや、周囲温度を検出するセンサ等のセンサ用途として使用されている(例えば、特許文献1参照)。
【先行技術文献】
【特許文献】
【0003】
特開2001-221696号公報
【発明の概要】
【発明が解決しようとする課題】
【0004】
しかしながら、ひずみゲージはセンサ用途に用いる以外に、はかり用途に用いる場合もあり、その場合には、センサ用途よりも厳しいクリープに関する規格を満足する必要がある。そのため、センサ用途に使用できるひずみゲージであっても、はかり用途には使用できない場合があった。
【0005】
本発明は、上記の点に鑑みてなされたもので、はかり用途に使用可能な、ひずみゲージを備えたロードセルを提供することを目的とする。
【課題を解決するための手段】
【0006】
本ロードセルは、ロバーバル型の起歪体と、前記起歪体に搭載されるひずみゲージと、を備え、前記ひずみゲージは、可撓性を有する基材と、前記基材上に、クロムとニッケルの少なくとも一方を含む材料から形成された抵抗体と、を有し、前記抵抗体の膜厚は、6nm以上100nm以下であり、以てクリープ量及びクリープリカバリー量が±0.0735%以下となる。
【発明の効果】
【0007】
開示の技術によれば、はかり用途に使用可能な、ひずみゲージを備えたロードセルを提供できる。
【図面の簡単な説明】
【0008】
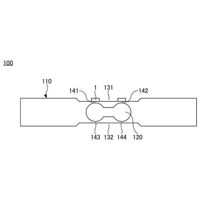
第1実施形態に係るロードセルを例示する平面図である。
第1実施形態に係るロードセルを例示する側面図である。
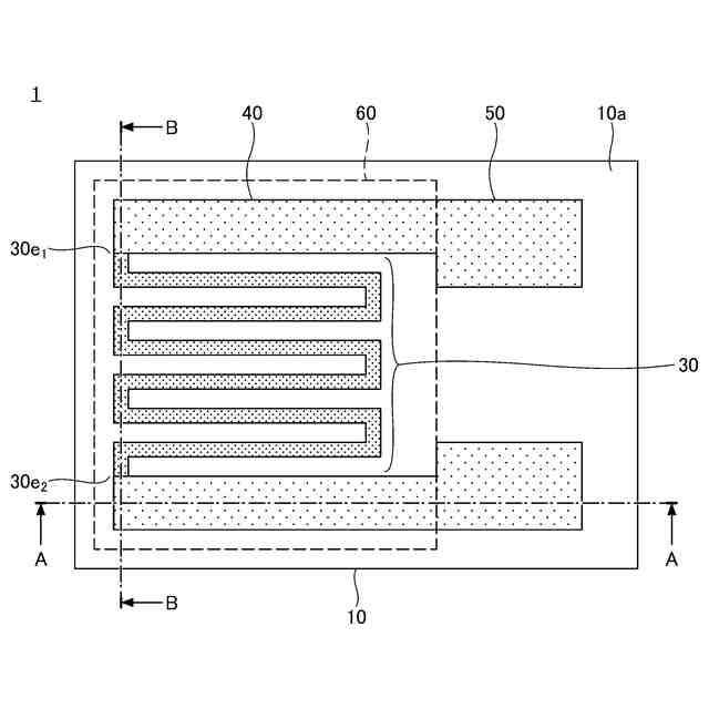
第1実施形態に係るひずみゲージを例示する平面図である。
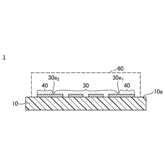
第1実施形態に係るひずみゲージを例示する断面図(その1)である。
第1実施形態に係るひずみゲージを例示する断面図(その2)である。
クリープ量及びクリープリカバリー量の測定方法について説明する図である。
抵抗体の膜厚とクリープ量及びクリープリカバリー量の検討結果を示す図である。
ひずみ限界の実験結果を示す図である。
第1実施形態に係るひずみゲージを例示する断面図(その3)である。
【発明を実施するための形態】
【0009】
以下、図面を参照して発明を実施するための形態について説明する。各図面において、同一構成部分には同一符号を付し、重複した説明を省略する場合がある。
【0010】
〈第1実施形態〉
[ロードセル]
図1は、第1実施形態に係るロードセルを例示する平面図である。図2は、第1実施形態に係るロードセルを例示する側面図である。図1及び図2を参照すると、ロードセル100は、起歪体110と、ひずみゲージ1とを有している。
(【0011】以降は省略されています)
この特許をJ-PlatPat(特許庁公式サイト)で参照する
関連特許
個人
視触覚センサ
今日
日本精機株式会社
検出装置
1か月前
個人
採尿及び採便具
1か月前
個人
アクセサリー型テスター
1か月前
個人
計量機能付き容器
25日前
個人
高精度同時多点測定装置
1か月前
株式会社ミツトヨ
測定器
1か月前
甲神電機株式会社
電流検出装置
1か月前
日本精機株式会社
発光表示装置
8日前
株式会社カクマル
境界杭
15日前
株式会社トプコン
測量装置
7日前
ユニパルス株式会社
トルク変換器
今日
ユニパルス株式会社
トルク変換器
今日
ユニパルス株式会社
トルク変換器
今日
アズビル株式会社
電磁流量計
1か月前
大成建設株式会社
風洞実験装置
25日前
大和製衡株式会社
組合せ計量装置
1か月前
大和製衡株式会社
組合せ計量装置
1か月前
愛知電機株式会社
軸部材の外観検査装置
1か月前
日本特殊陶業株式会社
ガスセンサ
今日
日本信号株式会社
距離画像センサ
28日前
日本特殊陶業株式会社
ガスセンサ
1日前
双庸電子株式会社
誤配線検査装置
1か月前
愛知時計電機株式会社
ガスメータ
1か月前
日本特殊陶業株式会社
ガスセンサ
23日前
個人
計量具及び計量機能付き容器
25日前
個人
非接触による電磁パルスの測定方法
28日前
個人
システム、装置及び実験方法
1か月前
ローム株式会社
半導体装置
1か月前
ローム株式会社
半導体装置
1か月前
日本特殊陶業株式会社
ガスセンサ
7日前
トヨタ自動車株式会社
測定システム
1か月前
日本特殊陶業株式会社
センサ
1か月前
日本特殊陶業株式会社
センサ
9日前
株式会社タイガーカワシマ
揚穀装置
7日前
本陣水越株式会社
車載式計測標的物
2日前
続きを見る
他の特許を見る