TOP
|
特許
|
意匠
|
商標
特許ウォッチ
Twitter
他の特許を見る
公開番号
2025176178
公報種別
公開特許公報(A)
公開日
2025-12-03
出願番号
2025154944,2021168874
出願日
2025-09-18,2021-10-14
発明の名称
マッサージ機
出願人
株式会社フジ医療器
代理人
弁理士法人 佐野特許事務所
主分類
A61H
7/00 20060101AFI20251126BHJP(医学または獣医学;衛生学)
要約
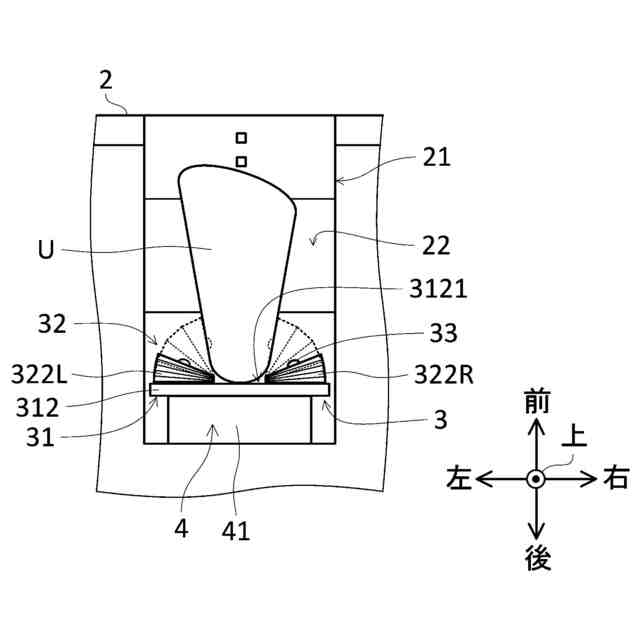
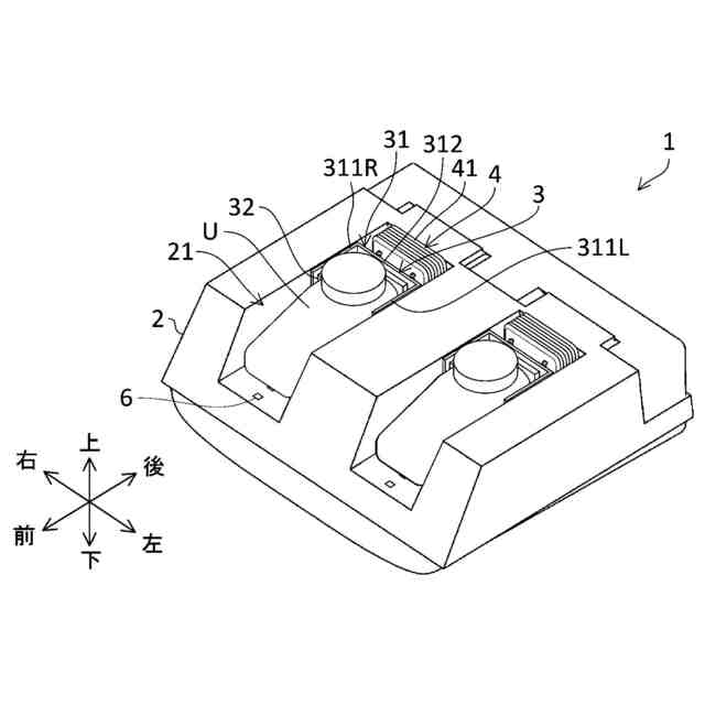
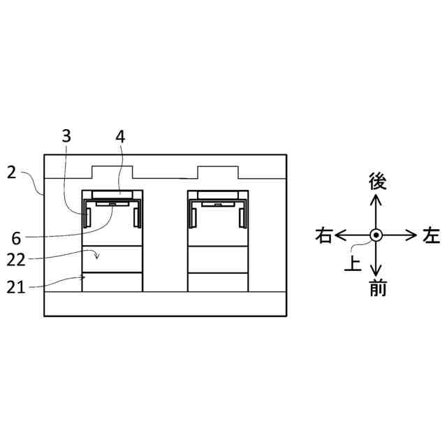
【課題】被施療者の踵部を適切な位置で施療する。
【解決手段】マッサージ機100は、足部マッサージユニット1を備える。足部マッサージユニット1は、エアバッグ32と、ローラ52,54と、を有する。エアバッグ32は、外側エアバッグを有する。該外側エアバッグは、被施療者Uの踵部の少なくとも左右方向における外側面を施療する。ローラ52,54は、回転軸51,53を有する。回転軸51,53は、エアバッグ32の近傍に配置される。
【選択図】図4
特許請求の範囲
【請求項1】
足部マッサージユニットを備え、
前記足部マッサージユニットは、
被施療者の踵部の少なくとも左右方向における外側面を施療する外側エアバッグを有するエアバッグと、
前記エアバッグの近傍に配置される回転軸を有するローラと、
を有する、マッサージ機。
続きを表示(約 1,000 文字)
【請求項2】
前記エアバッグは、前記被施療者の踵部の少なくとも左右方向における内側面を施療する内側エアバッグをさらに有する、請求項1に記載のマッサージ機。
【請求項3】
前記足部マッサージユニットを制御する制御部をさらに備え、
前記足部マッサージユニットは、
前記被施療者の足部の前後方向における位置を検出するセンサと、
前記エアバッグを前後方向に移動可能な可動部と、
をさらに有し、
前記制御部は、前記センサの検出結果に応じて前記可動部により前記被施療者の足部を前後方向に移動させて、前記被施療者の足部の前記足部マッサージユニットに対する前後方向のずれを調整する、請求項1又は請求項2に記載のマッサージ機。
【請求項4】
前記被施療者の臀部を支持する座部と、
前記座部の前端部に回動可能に支持され、前記被施療者の下腿部を収容するオットマンと、
をさらに備え、
前記足部マッサージユニットは、前記オットマンに配置され、
前記制御部は、前記オットマンが回動する際、前記センサの検出結果に応じて前記被施療者の足を前後方向に移動させて、前記被施療者の足部の前記足部マッサージユニットに対する前後方向のずれを調整する、請求項3に記載のマッサージ機。
【請求項5】
前記被施療者の臀部を支持する座部と、
前記座部の後端部に回動可能に支持され、前記被施療者の胴部を支持する背凭れ部と、
をさらに備え、
前記制御部は、前記背凭れ部が回動する際、前記センサの検出結果に応じて前記被施療者の足を前後方向に移動させて、前記被施療者の足部の前記足部マッサージユニットに対する前後方向のずれを調整する、請求項3に記載のマッサージ機。
【請求項6】
前記制御部は、
前記被施療者の足部を検出した前記センサの配置位置と前記被施療者の足部を検出しない前記センサの配置位置とに基づいて、前記被施療者の足部の前後方向における位置を検知し、
前記エアバッグを前後方向に移動させることによって、前記エアバッグの前後方向における位置を、前記被施療者の踵部を施療可能な位置に調節する、請求項3から請求項5のいずれか1項に記載のマッサージ機。
【請求項7】
前記足部マッサージユニットは、前記エアバッグの前記被施療者の踵部と対抗する面に配置される凸部をさらに備える、請求項1から請求項6のいずれか1項に記載のマッサージ機。
発明の詳細な説明
【技術分野】
【0001】
本発明は、マッサージ機に関する。
続きを表示(約 1,200 文字)
【背景技術】
【0002】
従来、被施療者の踵部を施療できるマッサージ機が知られている。たとえば、特許文献1の椅子型マッサージ機は、踵施療部として、被施療者の踵部を左右両側から挟んで押圧するための踵施療エアセルを有する。
【0003】
また、本発明に関連する従来技術の他の一例として、特許文献2の椅子式マッサージ機では、被施療者の脚部を支持するオットマンは、揺動機構と、移動機構と、を有する。揺動機構は、座部に対してオットマンを左右方向に揺動する。移動機構は、オットマンの下腿支持手段に対して被施療者の足先が収容されるフット本体を相対移動させる。揺動機構の駆動によって被施療者の脚部に揺動施療が施される。この際、被施療者の下腿部が下腿支持手段と接触させないようにするため、椅子式マッサージ機は、たとえば移動機構が有するエアバッグの膨張によって被施療者の足部を前側に押し出す。これにより、下腿部が、下腿支持手段の外に移動する。
【先行技術文献】
【特許文献】
【0004】
特開2006-346273号公報
特開2013-468号公報
【発明の概要】
【発明が解決しようとする課題】
【0005】
被施療者の踵部は、踵施療部からずれた位置に配置される場合がある。たとえば、被施療者の足部のサイズが小さい場合、被施療者の踵部は、踵施療部から離れた位置に配置され易い。また、マッサージ機において被施療者の足部以外の部位を支持する部位(たとえばオットマン、背凭れ部など)の回動により、踵部が踵施療部から離れることもある。このような場合、被施療者の踵部を適切に施療することは難しい。
【0006】
また、踵部が踵施療部から離れた位置にある場合、特許文献2のように被施療者の足部を前側に押し出しても、踵部を踵施療部に近付けることはできない。
【0007】
上記の状況を鑑みて、本発明は、被施療者の踵部を適切な位置で施療することを目的とする。
【課題を解決するための手段】
【0008】
上記目的を達成するために本発明の一の態様によるマッサージ機は、足部マッサージユニットを備える。前記足部マッサージユニットは、エアバッグと、ローラと、を有する。前記エアバッグは、外側エアバッグを有する。前記外側エアバッグは、被施療者の踵部の少なくとも左右方向における外側面を施療する。前記ローラは、前記エアバッグの近傍に配置される回転軸を有する。
【0009】
本発明の更なる特徴や利点は、以下に示す実施形態によって一層明らかにされる。
【発明の効果】
【0010】
本発明のマッサージ機によれば、被施療者の踵部を適切な位置で施療することができる。
【図面の簡単な説明】
(【0011】以降は省略されています)
特許ウォッチbot のツイートを見る
この特許をJ-PlatPat(特許庁公式サイト)で参照する
関連特許
株式会社フジ医療器
マッサージ機
5日前
株式会社フジ医療器
マッサージ機
1か月前
株式会社フジ医療器
椅子式マッサージ機
24日前
個人
貼付剤
1か月前
個人
簡易担架
24日前
個人
足踏み器具
1か月前
個人
短下肢装具
4か月前
個人
腋臭防止剤
24日前
個人
嚥下鍛錬装置
5か月前
個人
白内障治療法
8か月前
個人
前腕誘導装置
4か月前
個人
排尿補助器具
1か月前
個人
洗井間専家。
8か月前
個人
テスト肺
5日前
個人
ウォート指圧法
1か月前
個人
アイマスク装置
3か月前
個人
バッグ式オムツ
5か月前
個人
矯正椅子
6か月前
個人
汚れ防止シート
2か月前
個人
腰ベルト
1か月前
個人
歯の修復用材料
5か月前
個人
ホバーアイロン
8か月前
個人
水分吸収性物品
3日前
個人
胸骨圧迫補助具
3か月前
個人
車椅子持ち上げ器
8か月前
個人
シャンプー
7か月前
個人
湿布連続貼り機。
3か月前
個人
哺乳瓶冷まし容器
4か月前
個人
陣痛緩和具
5か月前
個人
排尿排便補助器具
26日前
個人
介護移乗アシスト
3日前
個人
歯の保護用シール
6か月前
個人
美容セット
1か月前
三生医薬株式会社
錠剤
8か月前
株式会社コーセー
化粧料
1か月前
株式会社大野
骨壷
5か月前
続きを見る
他の特許を見る