TOP
|
特許
|
意匠
|
商標
特許ウォッチ
Twitter
他の特許を見る
公開番号
2025176175
公報種別
公開特許公報(A)
公開日
2025-12-03
出願番号
2025154838,2021128509
出願日
2025-09-18,2021-08-04
発明の名称
空調ユニット
出願人
高砂熱学工業株式会社
代理人
弁理士法人ITOH
主分類
F24F
11/74 20180101AFI20251126BHJP(加熱;レンジ;換気)
要約
【課題】駅の地下ホームの混雑状況等に応じた好適な給気を駅の地下ホームへ送出することができるようにすること。
【解決手段】空調ユニットは、駅の地下ホームに設置される床置き型の空調ユニットであって、吸気口および送出口を有する筐体と、吸気口から筐体の内部に取り込まれた給気を、送出口から地下ホームに送出する送風機と、地下ホームの画像を撮像する撮像装置と、撮像装置によって撮像された地下ホームの画像に基づいて、地下ホームに存在する人物を検出する人物検出部と、人物検出部による人物の検出結果に基づいて、送風機による給気の送出量を制御する送出量制御部とを備える。
【選択図】図2
特許請求の範囲
【請求項1】
駅の地下ホームに設置される床置き型の空調ユニットであって、
吸気口および送出口を有する筐体と、
前記吸気口から前記筐体の内部に取り込まれた給気を、前記送出口から前記地下ホームに送出する送風機と、
前記地下ホームの画像を撮像する撮像装置と、
前記撮像装置によって撮像された前記地下ホームの画像に基づいて、前記地下ホームに存在する人物を検出する人物検出部と、
前記人物検出部による前記人物の検出結果に基づいて、前記送風機による前記給気の送出量を制御する送出量制御部と
を備えることを特徴とする空調ユニット。
続きを表示(約 920 文字)
【請求項2】
前記送出量制御部は、
前記地下ホームに存在する前記人物の人数が多いほど、前記送風機による前記給気の送出量を多くする
ことを特徴とする請求項1に記載の空調ユニット。
【請求項3】
前記地下ホームの気温を取得する気温取得部と、
前記気温取得部によって検出された前記地下ホームの気温に基づいて、前記吸気口からの前記給気の吸入量を制御する吸入量制御部と
をさらに備えることを特徴とする請求項1または2に記載の空調ユニット。
【請求項4】
前記吸入量制御部は、
前記地下ホームの気温が高いほど、前記吸気口からの前記給気の吸入量を多くする
ことを特徴とする請求項3に記載の空調ユニット。
【請求項5】
前記撮像装置は、
前記地下ホームに存在する前記人物の頭部よりも高い位置に設けられている
ことを特徴とする請求項1から4のいずれか一項に記載の空調ユニット。
【請求項6】
前記地下ホームの空調の状態に関する情報を前記地下ホームに存在する前記人物に呈示するディスプレイと、
前記ディスプレイの表示内容を制御する表示制御部と
をさらに備えることを特徴とする請求項1から5のいずれか一項に記載の空調ユニット。
【請求項7】
前記表示制御部は、
前記地下ホームにおける温度分布を前記ディスプレイに表示させる
ことを特徴とする請求項6に記載の空調ユニット。
【請求項8】
前記送出口は、
前記地下ホームに存在する前記人物の頭部よりも高い位置に設けられている
ことを特徴とする請求項1から7のいずれか一項に記載の空調ユニット。
【請求項9】
前記筐体は、
前記筐体の前方に向けて前記給気を送出する前記送出口と、
前記筐体の右斜め前方に向けて前記給気を送出する前記送出口と、
前記筐体の左斜め前方に向けて前記給気を送出する前記送出口と
を有することを特徴とする請求項8に記載の空調ユニット。
発明の詳細な説明
【技術分野】
【0001】
本発明は、空調ユニットに関する。
続きを表示(約 1,100 文字)
【背景技術】
【0002】
従来、駅の地下ホームの空調システムにおいては、ホームの天井面に空調機を設ける構成が用いられている(例えば、下記特許文献1参照)。
【先行技術文献】
【特許文献】
【0003】
特開2015-218972号公報
【発明の概要】
【発明が解決しようとする課題】
【0004】
しかしながら、従来技術は、駅の地下ホームの混雑状況等に応じた好適な給気を駅の地下ホームへ送出することができない。
【課題を解決するための手段】
【0005】
一実施形態に係る空調ユニットは、駅の地下ホームに設置される床置き型の空調ユニットであって、吸気口および送出口を有する筐体と、吸気口から筐体の内部に取り込まれた給気を、送出口から地下ホームに送出する送風機と、地下ホームの画像を撮像する撮像装置と、撮像装置によって撮像された地下ホームの画像に基づいて、地下ホームに存在する人物を検出する人物検出部と、人物検出部による人物の検出結果に基づいて、送風機による給気の送出量を制御する送出量制御部とを備える。
【発明の効果】
【0006】
一実施形態に係る空調ユニットによれば、駅の地下ホームの混雑状況等に応じた好適な給気を駅の地下ホームへ送出することができる。
【図面の簡単な説明】
【0007】
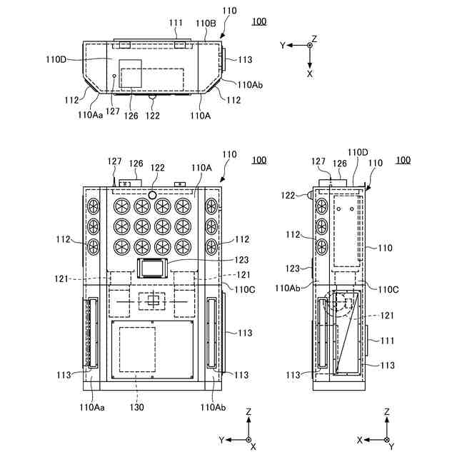
一実施形態に係る空調ユニットの三面図
一実施形態に係る空調ユニットが備える制御装置の機能構成を示すブロック図
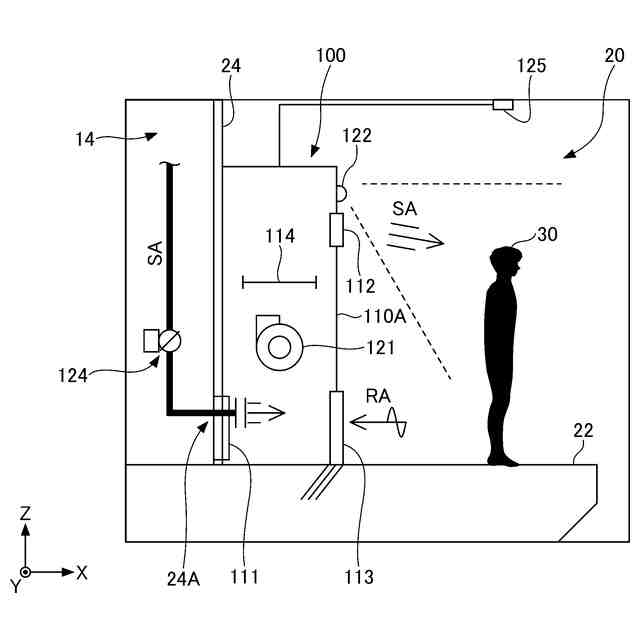
一実施形態に係る空調ユニットによる送風動作の概要を示す図
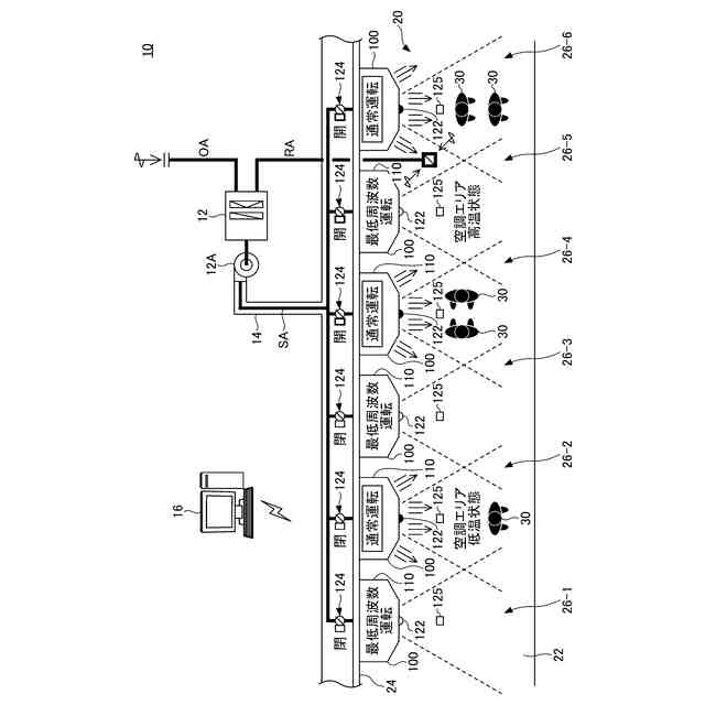
一実施形態に係る空調システムのシステム構成の一例を示す図
一実施形態に係る空調ユニットによる給気の送出量の制御の一例を示すグラフ
一実施形態に係る空調ユニットによる給気の吸入量の制御の一例を示すグラフ
一実施形態に係る空調ユニットが備えるディスプレイによる表示例を示す図
【発明を実施するための形態】
【0008】
以下、図面を参照して、一実施形態を説明する。
【0009】
(空調ユニット100の構成)
図1は、一実施形態に係る空調ユニット100の三面図である。図1に示すように、空調ユニット100は、筐体110、送風機121、撮像装置122、ディスプレイ123、および制御装置130を備える。
【0010】
<筐体110>
筐体110は、空調ユニット100の外形状をなす金属製且つ箱状の部材である。筐体110は、概ね上下方向(Z軸方向)を長手方向とする直方体形状を有する。
(【0011】以降は省略されています)
この特許をJ-PlatPat(特許庁公式サイト)で参照する
関連特許
高砂熱学工業株式会社
空調ユニット
2日前
高砂熱学工業株式会社
エネルギーマネジメントシステム、エネルギーマネジメント方法及びプログラム
1か月前
高砂熱学工業株式会社
空調システムの制御装置、制御方法、制御プログラム及び空調システム
今日
個人
集熱器具
28日前
株式会社トヨトミ
五徳
1か月前
株式会社コロナ
空調装置
3か月前
個人
UFO型空気清浄機
16日前
株式会社コロナ
空調装置
1か月前
株式会社コロナ
給湯装置
4か月前
株式会社コロナ
空調装置
2か月前
株式会社コロナ
加湿装置
2か月前
個人
油ハネ防止カーテン
1か月前
株式会社コロナ
空調装置
1か月前
株式会社コロナ
空調装置
1か月前
株式会社コロナ
空調装置
2か月前
株式会社コロナ
空気調和機
4か月前
個人
太陽光パネル傾斜装置
1か月前
株式会社コロナ
空気調和機
3か月前
個人
住宅換気空調システム
3か月前
株式会社コロナ
風呂給湯機
2か月前
株式会社コロナ
直圧式給湯機
3か月前
株式会社コロナ
温水暖房装置
1か月前
ホーコス株式会社
排気フード
4か月前
株式会社コロナ
貯湯式給湯機
2か月前
個人
シンプルクーラー
1か月前
株式会社パロマ
給湯器
4か月前
株式会社コロナ
貯湯式給湯機
2か月前
株式会社コロナ
暖房システム
2か月前
三菱電機株式会社
換気扇
8日前
三菱電機株式会社
換気扇
1か月前
三菱電機株式会社
換気扇
1か月前
三菱電機株式会社
換気扇
1か月前
ホーコス株式会社
換気扇取付枠
2か月前
株式会社コロナ
輻射式冷房装置
3か月前
個人
籾殻(そば殻)燃焼ストーブ
3か月前
株式会社ノーリツ
給湯装置
1か月前
続きを見る
他の特許を見る