TOP
|
特許
|
意匠
|
商標
特許ウォッチ
Twitter
他の特許を見る
10個以上の画像は省略されています。
公開番号
2025176169
公報種別
公開特許公報(A)
公開日
2025-12-03
出願番号
2025154278,2025034814
出願日
2025-09-17,2025-03-05
発明の名称
プログラム、情報処理方法及び情報処理装置
出願人
BEXソリューションズ株式会社
代理人
個人
,
個人
主分類
G06F
8/70 20180101AFI20251126BHJP(計算;計数)
要約
【課題】システム開発を好適に支援することができるプログラム等を提供する。
【解決手段】プログラムは、システム開発の第1工程における第1成果物と、前記第1工程とは異なる第2工程における第2成果物とを取得し、前記第1成果物と、該第1成果物から前記第2成果物の代替物の生成を指示するプロンプトとを言語モデルに入力することで、前記代替物を生成し、前記第2成果物及び代替物の差異が所定範囲内であるか否かを判定し、差異が所定範囲内でないと判定した場合、前記言語モデルを用いて前記第2成果物又は代替物を修正し、前記第2成果物及び代替物の差異が所定範囲内となるか、又は規定回数に達するまで前記第2成果物又は代替物の修正を繰り返し実行する処理をコンピュータに実行させる。
【選択図】図1
特許請求の範囲
【請求項1】
システム開発の第1工程における第1成果物と、前記第1工程とは異なる第2工程における第2成果物とを取得し、
前記第1成果物と、該第1成果物から前記第2成果物の代替物の生成を指示するプロンプトとを言語モデルに入力することで、前記代替物を生成し、
前記第2成果物及び代替物の差異が所定範囲内であるか否かを判定し、
差異が所定範囲内でないと判定した場合、前記言語モデルを用いて前記第2成果物又は代替物を修正し、
前記第2成果物及び代替物の差異が所定範囲内となるか、又は規定回数に達するまで前記第2成果物又は代替物の修正を繰り返し実行する
処理をコンピュータに実行させるプログラム。
続きを表示(約 1,200 文字)
【請求項2】
前記第2成果物及び代替物に対して、同一のテストデータを用いて動作テストを実行し、
前記第2成果物及び代替物それぞれのテスト結果が一致するか否かを判定することで、前記第2成果物及び代替物の差異が所定範囲内であるか否かを判定する
請求項1に記載のプログラム。
【請求項3】
前記第2成果物及び代替物と、該第2成果物及び代替物それぞれの評価を指示するプロンプトとを前記言語モデルに入力することで、前記第2成果物及び代替物をそれぞれ評価し、
前記第2成果物及び代替物それぞれの評価結果を比較することで、前記第2成果物及び代替物の差異が所定範囲内であるか否かを判定する
請求項1に記載のプログラム。
【請求項4】
前記第1成果物と、前記第2成果物又は代替物と、該第2成果物又は代替物が前記第1成果物と整合しているか否かの評価を指示するプロンプトとを前記言語モデルに入力することで、前記第1成果物と前記第2成果物又は代替物との整合性を評価し、
整合性を有する旨の評価結果を得るまで、前記言語モデルを用いて前記第2成果物又は代替物の修正を繰り返し実行する
請求項1に記載のプログラム。
【請求項5】
システム開発の第1工程における第1成果物と、前記第1工程とは異なる第2工程における第2成果物とを取得し、
前記第1成果物と、該第1成果物から前記第2成果物の代替物の生成を指示するプロンプトとを言語モデルに入力することで、前記代替物を生成し、
前記第2成果物及び代替物の差異が所定範囲内であるか否かを判定し、
差異が所定範囲内でないと判定した場合、前記言語モデルを用いて前記第2成果物又は代替物を修正し、
前記第2成果物及び代替物の差異が所定範囲内となるか、又は規定回数に達するまで前記第2成果物又は代替物の修正を繰り返し実行する
処理をコンピュータが実行する情報処理方法。
【請求項6】
制御部を備える情報処理装置であって、
前記制御部が、
システム開発の第1工程における第1成果物と、前記第1工程とは異なる第2工程における第2成果物とを取得し、
前記第1成果物と、該第1成果物から前記第2成果物の代替物の生成を指示するプロンプトとを言語モデルに入力することで、前記代替物を生成し、
前記第2成果物及び代替物の差異が所定範囲内であるか否かを判定し、
差異が所定範囲内でないと判定した場合、前記言語モデルを用いて前記第2成果物又は代替物を修正し、
前記第2成果物及び代替物の差異が所定範囲内となるか、又は規定回数に達するまで前記第2成果物又は代替物の修正を繰り返し実行する
情報処理装置。
発明の詳細な説明
【技術分野】
【0001】
本発明は、プログラム、情報処理方法及び情報処理装置に関する。
続きを表示(約 1,800 文字)
【背景技術】
【0002】
システム開発を支援する技術がある。例えば特許文献1では、システム開発の各工程で作成された成果物のうち、いずれかの成果物が変更されたことを成果物の属性情報から検知するシステム開発支援装置が開示されている。
【先行技術文献】
【特許文献】
【0003】
特許第6482998号公報
【発明の概要】
【発明が解決しようとする課題】
【0004】
一つの側面では、システム開発を好適に支援することができるプログラム等を提供することを目的とする。
【課題を解決するための手段】
【0005】
一つの側面では、プログラムは、システム開発の第1工程における第1成果物と、前記第1工程とは異なる第2工程における第2成果物とを取得し、前記第1成果物と、該第1成果物から前記第2成果物の代替物の生成を指示するプロンプトとを言語モデルに入力することで、前記代替物を生成し、前記第2成果物及び代替物の差異が所定範囲内であるか否かを判定し、差異が所定範囲内でないと判定した場合、前記言語モデルを用いて前記第2成果物又は代替物を修正し、前記第2成果物及び代替物の差異が所定範囲内となるか、又は規定回数に達するまで前記第2成果物又は代替物の修正を繰り返し実行する処理をコンピュータに実行させる。
【発明の効果】
【0006】
一つの側面では、システム開発を好適に支援することができる。
【図面の簡単な説明】
【0007】
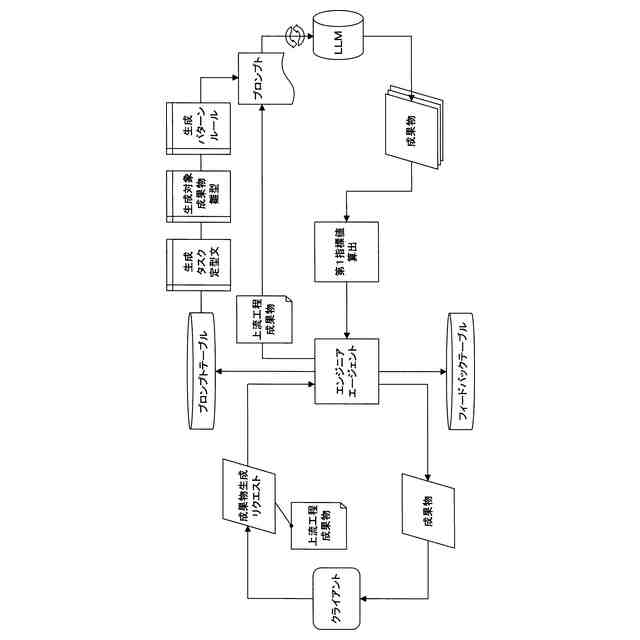
成果物生成評価システムの構成例を示す説明図である。
サーバの構成例を示すブロック図である。
実施の形態1の概要を示す図である。
エンジニアエージェントが実行する成果物の生成タスクを示す図である。
レビュアエージェントが実行する成果物の評価タスクを示す図である。
サーバが実行する処理手順の一例を示すフローチャートである。
成果物生成のサブルーチンの手順を示すフローチャートである。
成果物評価のサブルーチンの手順を示すフローチャートである。
成果物修正のサブルーチンの手順を示すフローチャートである。
変形例の概要を示す図である。
リバースエンジニアエージェントが実行する成果物の解析タスクを示す図である。
変形例2の概要を示す図である。
実施の形態2の概要を示す図である。
実施の形態2の概要を示す図である。
実施の形態2に係るサーバが実行する処理手順の一例を示すフローチャートである。
実施の形態3の概要を示す図である。
実施の形態3の概要を示す図である。
実施の形態3に係るサーバが実行する処理手順の一例を示すフローチャートである。
【発明を実施するための形態】
【0008】
以下、本発明をその実施の形態を示す図面に基づいて詳述する。
(実施の形態1)
図1は、成果物生成評価システムの構成例を示す説明図である。本実施の形態では、LLM(Large Language Model;大規模言語モデル)50を用いて、システム開発の各工程における成果物の生成及び評価を行う成果物生成評価システムについて説明する。成果物生成評価システムは、情報処理装置1、端末2、生成サーバ3を含む。各装置は、インターネット等のネットワークNを介して通信接続されている。
【0009】
情報処理装置1は、種々の情報処理、情報の送受信が可能な情報処理装置であり、例えばサーバコンピュータ、パーソナルコンピュータ等である。本実施の形態では情報処理装置1がサーバコンピュータであるものとし、以下では簡潔のためサーバ1と読み替える。サーバ1は、LLM50を用いて、システム開発の上流工程(第1工程)における成果物(第1成果物)から下流工程(第2工程)における成果物(第2成果物)を生成すると共に、生成された成果物を評価する処理を行う。
【0010】
端末2は、システム開発者が使用する情報処理端末であり、例えばパーソナルコンピュータである。サーバ1は、端末2(クライアント)からのリクエストを受けて成果物の生成及び評価を行う。
(【0011】以降は省略されています)
この特許をJ-PlatPat(特許庁公式サイト)で参照する
関連特許
個人
詐欺保険
1か月前
個人
縁伊達ポイン
1か月前
個人
職業自動販売機
21日前
個人
RFタグシート
1か月前
個人
5掛けポイント
28日前
個人
地球保全システム
2か月前
個人
ペルソナ認証方式
1か月前
個人
QRコードの彩色
1か月前
個人
自動調理装置
1か月前
個人
情報処理装置
1か月前
個人
立体グラフの利用方法
今日
個人
農作物用途分配システム
1か月前
個人
残土処理システム
1か月前
個人
知的財産出願支援システム
1か月前
NISSHA株式会社
入力装置
1日前
個人
サービス情報提供システム
23日前
個人
タッチパネル操作指代替具
1か月前
個人
インターネットの利用構造
1か月前
個人
スケジュール調整プログラム
1か月前
個人
携帯端末障害問合せシステム
1か月前
個人
学習用データ生成装置
2日前
株式会社キーエンス
受発注システム
2か月前
個人
食品レシピ生成システム
2か月前
個人
海外支援型農作物活用システム
2か月前
個人
エリアガイドナビAIシステム
1か月前
株式会社キーエンス
受発注システム
2か月前
株式会社キーエンス
受発注システム
2か月前
キヤノン株式会社
表示システム
2か月前
個人
帳票自動生成型SaaSシステム
1か月前
個人
音声・通知・再配達UX制御構造
1か月前
大同特殊鋼株式会社
疵判定方法
2か月前
トヨタ自動車株式会社
通知装置
1か月前
キヤノン株式会社
情報処理装置
29日前
株式会社ケアコム
項目選択装置
1か月前
株式会社ワコム
電子ペン
1か月前
株式会社ワコム
電子ペン
1か月前
続きを見る
他の特許を見る