TOP
|
特許
|
意匠
|
商標
特許ウォッチ
Twitter
他の特許を見る
公開番号
2025175691
公報種別
公開特許公報(A)
公開日
2025-12-03
出願番号
2024081909
出願日
2024-05-20
発明の名称
脱硫器
出願人
パナソニックIPマネジメント株式会社
代理人
弁理士法人青藍国際特許事務所
主分類
B01D
53/14 20060101AFI20251126BHJP(物理的または化学的方法または装置一般)
要約
【課題】脱硫器の運搬に伴う脱硫器の脱硫性能の低下を抑制することに適した技術を提供する。
【解決手段】脱硫器100は、容器105と、第1脱硫剤161と、第2脱硫剤162と、を含む。容器105は、筒150、第1仕切り171及び第1位置決め構造210を含む。筒150の内部領域150hにおいて、筒150が延びる方向180に沿って、第2脱硫剤162、第1仕切り171及び第1脱硫剤161がこの順に並べられている。第1位置決め構造210は、筒150に対する第1仕切り171の方向180の位置ずれを妨げるように、筒150に対して第1仕切り171を位置決めする。
【選択図】図1
特許請求の範囲
【請求項1】
容器と、
第1脱硫剤と、
第2脱硫剤と、を備え、
前記容器は、筒、第1仕切り及び第1位置決め構造を含み、
前記筒の内部領域において、前記筒が延びる方向に沿って、前記第2脱硫剤、前記第1仕切り及び前記第1脱硫剤がこの順に並べられ、
前記第1位置決め構造は、前記筒に対する前記第1仕切りの前記方向の位置ずれを妨げるように、前記筒に対して前記第1仕切りを位置決めする、
脱硫器。
続きを表示(約 1,000 文字)
【請求項2】
前記第1位置決め構造は、前記筒に対する前記第1仕切りの前記方向の平行移動を妨げるように、前記筒に対して前記第1仕切りを位置決めする、
請求項1に記載の脱硫器。
【請求項3】
特定姿勢において、
前記第1脱硫剤からの第1押圧力と前記第2脱硫剤からの第2押圧力とからなる群より選択される少なくとも1つの押圧力が前記第1仕切りに印加され、
前記第1位置決め構造は、前記少なくとも1つの押圧力に起因する前記位置ずれを妨げる、
請求項1に記載の脱硫器。
【請求項4】
前記第1位置決め構造において、前記第1仕切りは前記筒に嵌合する、
請求項1に記載の脱硫器。
【請求項5】
前記筒は、螺旋状嵌合部を含み、
前記第1仕切りは、第1嵌合部を含み、
前記第1位置決め構造において、前記第1嵌合部は前記螺旋状嵌合部に嵌合する、
請求項4に記載の脱硫器。
【請求項6】
前記容器は、第2仕切り及び第2位置決め構造を含み、
前記内部領域において、前記方向に沿って、前記第2仕切り、前記第2脱硫剤、前記第1仕切り及び前記第1脱硫剤がこの順に並べられ、
前記方向に関し、前記第2位置決め構造は、前記筒に対して前記第2仕切りを第2位置に位置決め可能であり、
前記内部領域は、前記方向に関する前記第2位置と前記方向に関する第1位置との間に、前記第2脱硫剤の体積と等しい容積を有し、
前記螺旋状嵌合部は、前記方向に関して前記第1位置を跨ぐように延びている、
請求項5に記載の脱硫器。
【請求項7】
前記容器は、第2仕切り及び突起を含み、
前記内部領域において、前記方向に沿って、前記第2仕切り、前記第2脱硫剤、前記第1仕切り及び前記第1脱硫剤がこの順に並べられ、
前記突起は、前記筒の側壁から前記内部領域に向かって突出し、前記第2仕切りを支持する、
請求項1に記載の脱硫器。
【請求項8】
前記筒は、螺旋状嵌合部を含み、
前記第1仕切りは、第1嵌合部を含み、
前記第1位置決め構造において、前記第1嵌合部は前記螺旋状嵌合部に嵌合し、
前記第1仕切りは、前記第1脱硫剤及び前記第2脱硫剤に接し、
前記突起は、前記内部領域における中空空間に露出している、
請求項7に記載の脱硫器。
発明の詳細な説明
【技術分野】
【0001】
本開示は、脱硫器に関する。
続きを表示(約 1,100 文字)
【背景技術】
【0002】
特許文献1の脱硫器では、複数の吸着部が直列に連結されている。特許文献2の脱硫器では、ばねにより支持部材が脱硫剤に向けて付勢される。
【先行技術文献】
【特許文献】
【0003】
特開2000-119667号公報
特開2009-023869号公報
【発明の概要】
【発明が解決しようとする課題】
【0004】
本開示は、脱硫器の運搬に伴う脱硫器の脱硫性能の低下を抑制することに適した技術を提供する。
【課題を解決するための手段】
【0005】
本開示は、
容器と、
第1脱硫剤と、
第2脱硫剤と、を備え、
前記容器は、筒、第1仕切り及び第1位置決め構造を含み、
前記筒の内部領域において、前記筒が延びる方向に沿って、前記第2脱硫剤、前記第1仕切り及び前記第1脱硫剤がこの順に並べられ、
前記第1位置決め構造は、前記筒に対する前記第1仕切りの前記方向の位置ずれを妨げるように、前記筒に対して前記第1仕切りを位置決めする、
脱硫器を提供する。
【発明の効果】
【0006】
本開示に係る技術は、脱硫器の運搬に伴う脱硫器の脱硫性能の低下を抑制することに適している。
【図面の簡単な説明】
【0007】
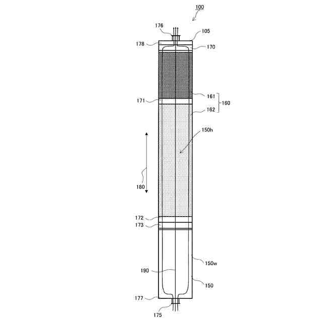
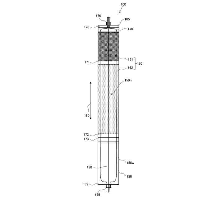
図1は、実施形態に係る脱硫器の構成図である。
図2は、実施形態に係る脱硫器の拡大図である。
図3は、脱硫器の組み立ての説明図である。
図4は、参考形態に係る脱硫器の説明図である。
【発明を実施するための形態】
【0008】
(本開示の基礎となった知見等)
図4は、本発明者らが検討した参考形態に係る脱硫器700の説明図である。
【0009】
図4の(a)は、脱硫器700が縦置きされた様子を示す。図4の(a)に示すように、脱硫器700は、脱硫剤761、脱硫剤762、筒750、仕切り770、仕切り771及び仕切り772を含む。筒750は、側壁750w及び内部領域750hを含む。側壁750wは、内部領域750hを区画している。
【0010】
筒750は、方向780に延びている。内部領域750hでは、方向780のガスの流れ790が形成される。内部領域750hでは、方向780に沿って、仕切り772、脱硫剤762、仕切り771、脱硫剤761及び仕切り770がこの順に並べられている。
(【0011】以降は省略されています)
この特許をJ-PlatPat(特許庁公式サイト)で参照する
関連特許
他の特許を見る