TOP
|
特許
|
意匠
|
商標
特許ウォッチ
Twitter
他の特許を見る
公開番号
2025175583
公報種別
公開特許公報(A)
公開日
2025-12-03
出願番号
2024081759
出願日
2024-05-20
発明の名称
キャップ
出願人
キッコーマン株式会社
,
日本クロージャー株式会社
代理人
弁理士法人愛宕綜合特許事務所
主分類
B65D
47/40 20060101AFI20251126BHJP(運搬;包装;貯蔵;薄板状または線条材料の取扱い)
要約
【課題】注出用ノズル内の残液を効率よく容器内に回収可能であると共に、注出時の脈動の発生が有効に防止されたキャップを提供する。
【解決手段】頂板部と、該頂板部の周縁から垂下する側壁とから成り、前記頂板部には、注出用ノズルが形成されており、該注出用ノズルで区画されるパネル部には、開口又は弱化部により区画された開口予定部が形成されているキャップ本体と、天面と該天面の周縁から垂下するスカート部とから成り、前記キャップ本体の頂板部を覆う上蓋と、から成るキャップにおいて、前記パネル部が、キャップの軸方向下方に行くに従ってパネル部の内径が減少する傾斜面を形成し、該傾斜面には、複数の谷部が形成されており、前記頂板部下面には、前記開口又は開口予定部の輪郭に沿って、前記谷部を小間隔でまたぐ一対の下方に突出する小突起が形成されていることを特徴とするキャップ。
【選択図】図2
特許請求の範囲
【請求項1】
頂板部と、該頂板部の周縁から垂下する側壁とから成り、前記頂板部には、注出用ノズルが形成されており、該注出用ノズルで区画されるパネル部には、開口又は弱化部により区画された開口予定部が形成されているキャップ本体と、天面と該天面の周縁から垂下するスカート部とから成り、前記キャップ本体の頂板部を覆う上蓋と、から成るキャップにおいて、
前記パネル部が、キャップの軸方向下方に行くに従ってパネル部の内径が減少する傾斜面を形成し、該傾斜面には、複数の谷部が形成されており、
前記頂板部下面には、前記開口又は開口予定部の輪郭に沿って、前記谷部を小間隔でまたぐ一対の下方に突出する小突起が形成されていることを特徴とするキャップ。
続きを表示(約 510 文字)
【請求項2】
前記開口又は開口予定部が、前記谷部の位置に、径方向に突出する部分を有し、該突出部分の先端部が前記注出用ノズルに近接する請求項1記載のキャップ。
【請求項3】
前記一対の小突起が、すべての谷部の位置に形成されている請求項1又は2記載のキャップ。
【請求項4】
隣接する複数の谷部の間に、キャップ径方向の内方に向かって凸の山部が形成されている請求項1又は2記載のキャップ。
【請求項5】
前記注出用ノズルは注出誘導部を有しており、該注出誘導部側の隣接する複数の谷部の間に、キャップ径方向の内方に向かって凸の山部が形成されている請求項1又は2記載のキャップ。
【請求項6】
前記小突起が、谷部以外の箇所に形成されていない請求項1又は2記載のキャップ。
【請求項7】
前記上蓋がヒンジによりキャップ本体に連結されている請求項1又は2記載のキャップ。
【請求項8】
前記開口予定部が、前記ヒンジ及びヒンジと反対側の位置、並びにパネル部中心に対してヒンジ位置から90度の位置に、前記突出部分を有する請求項7記載のキャップ。
発明の詳細な説明
【技術分野】
【0001】
本発明は、キャップ本体頂板部に注出用開口及び該注出用開口を取り囲む注出用ノズルを有するキャップに関し、より詳細には、内容液の注出時の脈動を抑制可能であると共に、注出用ノズル内の内容液の残留が有効に防止されたキャップに関する。
続きを表示(約 2,200 文字)
【背景技術】
【0002】
調味料等の液体を収納する容器に装着されて広く利用されているキャップは、一般にキャップ本体に上蓋がヒンジ連結されており、内容物の使用開始の際に、まず上蓋をキャップ本体から外し、次いでキャップ本体に形成されたプルリングを持ち上げ、開口予定部を区画する弱化部を破断してこれを取り除くことにより注出用開口を形成する。
注出用開口は注出用ノズル内のパネル部の一部に形成されていることから、内容液の注出後には注出用ノズル内に内容液が残留するおそれがある。
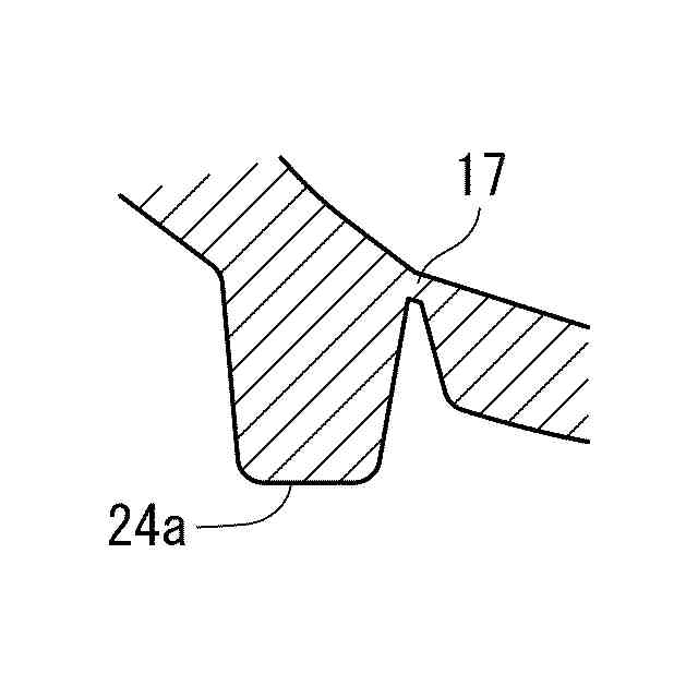
そのため、注出用ノズル内のパネル部について、キャップの軸方向下方に行くに従ってパネル部の内径が減少する傾斜面を形成し、該傾斜面には、複数の谷部を形成することにより、注出用ノズル内に残留した内容液を注出用開口に導き、容器内に戻りやすくすることが行われている(特許文献1)。
【0003】
しかしながら、特許文献1に記載のキャップでは、パネル部に付着した液を全て注出用開口に導き、容器内に回収するには一定の時間を要している。そのため、液の回収速度を向上させることが望まれている。
【0004】
液の回収速度を向上させるため、頂板部の下面に、開口或いは開口予定部の外側に沿って、下方に延びている柱状小突起の複数個が、小間隔で配列されているキャップが提案されている(特許文献2)。
【0005】
しかしながら、特許文献2に記載のキャップでは、開口予定部の面積が小さく、大量に注ぎ出した際に特許文献1に記載のキャップと同様に内容液が脈動を生じながら注出されやすくなり、内容液の飛び散りや或いは注出量の調整が困難であるという問題が生じていた。さらに、パネル部に付着した液を全て容器内に回収する時間も未だ長く、さらに液の回収速度を向上させる必要があった。
【先行技術文献】
【特許文献】
【0006】
特開2023-158513号公報
特許5232569号
【発明の概要】
【発明が解決しようとする課題】
【0007】
従って本発明の目的は、注出用ノズル内の残液を効率よく容器内に回収可能であると共に、注出時の脈動の発生が有効に防止されたキャップを提供することである。
【課題を解決するための手段】
【0008】
本発明によれば、頂板部と、該頂板部の周縁から垂下する側壁とから成り、前記頂板部には、注出用ノズルが形成されており、該注出用ノズルで区画されるパネル部には、開口又は弱化部により区画された開口予定部が形成されているキャップ本体と、天面と該天面の周縁から垂下するスカート部とから成り、前記キャップ本体の頂板部を覆う上蓋と、から成るキャップにおいて、前記パネル部が、キャップの軸方向下方に行くに従ってパネル部の内径が減少する傾斜面を形成し、該傾斜面には、複数の谷部が形成されており、前記頂板部下面には、前記開口又は開口予定部の輪郭に沿って、前記谷部を小間隔でまたぐ一対の下方に突出する小突起が形成されていることを特徴とするキャップが提供される。
【0009】
本発明のキャップにおいては、
(1)前記一対の小突起が、すべての谷部の位置に形成されていること、
(2)隣接する複数の谷部の間に、キャップ径方向の内方に向かって凸の山部が形成されていること、
(3)前記注出用ノズルは注出誘導部を有しており、該注出誘導部側の隣接する複数の谷部の間に、キャップ径方向の内方に向かって凸の山部が形成されていること、
(4)前記小突起が、谷部以外の箇所に形成されていないこと、
(5)前記上蓋がヒンジによりキャップ本体に連結されていること、
(6)前記開口予定部が、前記ヒンジ及びヒンジと反対側の位置、並びにパネル部中心に対してヒンジ位置から90度の位置に、前記突出部分を有すること、
が好適である。
【発明の効果】
【0010】
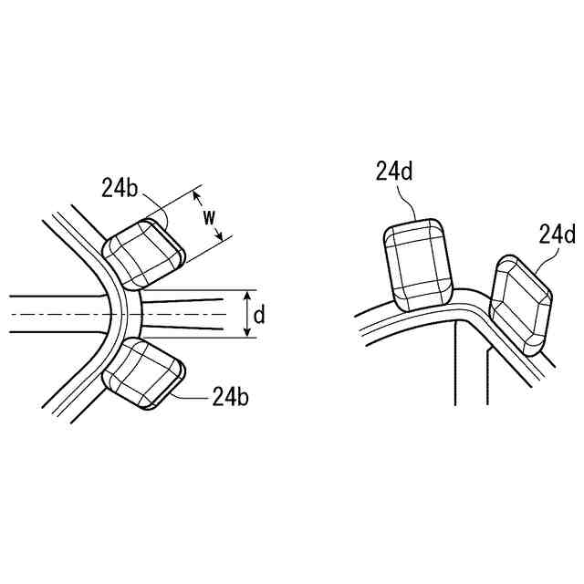
本発明のキャップにおいては、注出用ノズル内のパネル部がキャップの軸方向下方に行くに従ってその内径が減少する傾斜面を形成し、この傾斜面に複数の谷部が形成されていることにより、注出用ノズル内の傾斜面に存在する注出後の残液は谷部に集められ、注出用開口への流れが促進されるとともに、頂板部下面には、開口又は開口予定部の輪郭に沿って、谷部を小間隔でまたぐ一対の下方に突出する小突起が形成されていることにより、谷部に集められた残液を速やかに容器内部に回収することが可能となる。
また谷部と谷部の間のパネル部にキャップ径内方に凸の山部が形成されていることにより、残液を効率よく谷部に集めて容器内に戻すことが可能となる。
さらにパネル部がその内径を減少させる傾斜面として形成されていることにより、注出する際にキャップが注出方向に傾けられた場合に、注出方向と反対側の位置において、液面とパネル部の間の距離を長くすることができ、効率よく容器内に空気を導入することが可能となり、内容物を脈動を生じることなく注出することができる。
【図面の簡単な説明】
(【0011】以降は省略されています)
この特許をJ-PlatPat(特許庁公式サイト)で参照する
関連特許
キッコーマン株式会社
キャップ
7日前
キッコーマン株式会社
アルカリホスファターゼ組成物
20日前
個人
束ね具
29日前
個人
収容箱
4か月前
個人
コンベア
6か月前
個人
段ボール箱
8か月前
個人
段ボール箱
8か月前
個人
ゴミ収集器
8か月前
個人
容器
10か月前
個人
土嚢運搬器具
10か月前
個人
テープ引出機
29日前
個人
宅配システム
8か月前
個人
バンド
3か月前
個人
楽ちんハンド
6か月前
個人
角筒状構造体
7か月前
個人
閉塞装置
11か月前
個人
包装容器
2か月前
個人
廃棄物収容容器
4か月前
個人
お薬の締結装置
7か月前
個人
コード類収納具
9か月前
個人
棒状体収容容器
1か月前
株式会社バンダイ
物品
2か月前
個人
ゴミ処理機
10か月前
株式会社コロナ
梱包材
7か月前
個人
把手付米袋
6か月前
個人
貯蔵サイロ
8か月前
個人
積み重ね用補助具
4か月前
株式会社和気
包装用箱
1か月前
個人
蓋閉止構造
5か月前
株式会社和気
包装用箱
10か月前
個人
蓋閉止構造
5か月前
個人
包装箱
11か月前
三甲株式会社
容器
3か月前
個人
輸送積荷用動吸振器
7か月前
三甲株式会社
容器
7か月前
個人
介護用コップ
3か月前
続きを見る
他の特許を見る