TOP
|
特許
|
意匠
|
商標
特許ウォッチ
Twitter
他の特許を見る
公開番号
2025175295
公報種別
公開特許公報(A)
公開日
2025-12-02
出願番号
2024081364
出願日
2024-05-19
発明の名称
シックナー用の検査装置及びシックナー
出願人
株式会社笹山工業所
代理人
個人
主分類
G01F
23/296 20220101AFI20251125BHJP(測定;試験)
要約
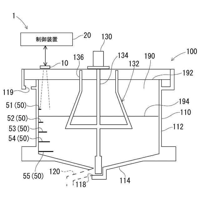
【課題】シックナー内において界面の位置をより簡易な構成で検出しやすい技術を提供する。
【解決手段】シックナー100は、固形分と液体とを含む混合液を収容する収容空間を囲む周壁部と前記周壁部の下側に設けられる底壁部とを有する収容部と、前記収容部において沈降した固体を含む固液混合体を排出する排出口と、を含む。シックナー用の検査装置1は、シックナー100において界面の位置を検査する検査装置である。検査装置1は、所定の位置から前記収容部内の下方に向けて超音波を発する超音波発生部と、前記超音波発生部で発せられた超音波の反射波を検出する検出部と、を備える。
【選択図】図1
特許請求の範囲
【請求項1】
固形分と液体とを含む混合液を収容する収容空間を囲む周壁部と前記周壁部の下側に設けられる底壁部とを有する収容部と、前記収容部において沈降した固体を含む固液混合体を排出する排出口と、
を含むシックナーにおいて界面の位置を検査する検査装置であって、
所定の位置から前記収容部内の下方に向けて超音波を発する超音波発生部と、
前記超音波発生部で発せられた超音波の反射波を検出する検出部と、
を備えるシックナー用の検査装置。
続きを表示(約 390 文字)
【請求項2】
前記混合液内において前記底壁部の上方に配置される被検出体を備え、
前記超音波発生部は前記被検出体に向けて前記超音波を放出する
請求項1に記載のシックナー用の検査装置。
【請求項3】
複数の前記被検出体が異なる深さに配置されている
請求項2に記載のシックナー用の検査装置。
【請求項4】
前記検出部による検出結果に基づいて前記界面の深さ又は深さ範囲を特定する特定部を備える
請求項1又は請求項2に記載のシックナー用の検査装置。
【請求項5】
前記界面の位置が所定高さよりも高くなった場合に報知を行う報知部を備える
請求項1又は請求項2に記載のシックナー用の検査装置。
【請求項6】
請求項1又は請求項2に記載のシックナー用の検査装置を備えたシックナー。
発明の詳細な説明
【技術分野】
【0001】
本発明は、シックナー用の検査装置及びシックナー
続きを表示(約 1,100 文字)
【背景技術】
【0002】
特許文献1に開示される技術は、シックナー内で沈降濃縮されたスラリーの上澄み層と濃密層との界面を測定するためのシックナー濃縮スラリー界面の測定方法である。この技術では、超音波濃度計6をスラリーの液面3から所定の深さまで略垂直方向に降下・上昇させながら連続的に固形分濃度を測定し、スラリーの深さ方向における固形分濃度の濃度分布から沈降濃縮されたスラリーの界面の位置4を特定する。
【先行技術文献】
【特許文献】
【0003】
特開2000-055714号公報
【発明の概要】
【発明が解決しようとする課題】
【0004】
しかし、特許文献1の技術は、超音波濃度計6をスラリーの液面3から所定の深さまで略垂直方向に降下・上昇させながら連続的に固形分濃度を測定する必要があり、測定が複雑化しやすい。
【0005】
本開示は、上述した課題の少なくとも一つを解決するために、シックナー内において界面の位置をより簡易な構成で検出しやすい技術を提供する。
【課題を解決するための手段】
【0006】
本開示の一つであるシックナー用の検査装置は、
固形分と液体とを含む混合液を収容する収容空間を囲む周壁部と前記周壁部の下側に設けられる底壁部とを有する収容部と、前記収容部において沈降した固体を含む固液混合体を排出する排出口と、
を含むシックナーにおいて界面の位置を検査する検査装置であって、
所定の位置から前記収容部内の下方に向けて超音波を発する超音波発生部と、
前記超音波発生部で発せられた超音波の反射波を検出する検出部と、
を備える。
【0007】
本開示の一つであるシックナーは、上記のシックナー用の検査装置を含む。
【発明の効果】
【0008】
本開示に係る技術は、シックナー内において界面の位置をより簡易な構成で検出しやすい。
【図面の簡単な説明】
【0009】
図1は、第1実施形態に係るシックナー用の検査装置を備えたシックナーを概略的に例示する概略図である。
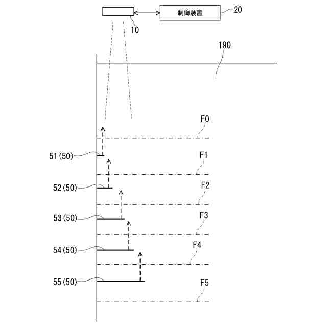
図2は、第1実施形態に係るシックナー用の検査装置の電気的構成等を説明する説明図である。
図3は、図1の一部を拡大して説明する説明図である。
【発明を実施するための形態】
【0010】
以下では、本開示の実施形態が列記されて例示される。
(【0011】以降は省略されています)
特許ウォッチbot のツイートを見る
この特許をJ-PlatPat(特許庁公式サイト)で参照する
関連特許
株式会社笹山工業所
沈砂ピット及び濁水処理システム
2か月前
株式会社笹山工業所
シックナー用の検査装置及びシックナー
6日前
個人
視触覚センサ
3日前
日本精機株式会社
検出装置
1か月前
個人
採尿及び採便具
1か月前
個人
計量機能付き容器
28日前
個人
高精度同時多点測定装置
1か月前
甲神電機株式会社
電流検出装置
1か月前
日本精機株式会社
発光表示装置
11日前
株式会社カクマル
境界杭
18日前
株式会社ミツトヨ
測定器
1か月前
株式会社トプコン
測量装置
10日前
ユニパルス株式会社
トルク変換器
3日前
ユニパルス株式会社
トルク変換器
3日前
ユニパルス株式会社
トルク変換器
3日前
アズビル株式会社
電磁流量計
1か月前
大成建設株式会社
風洞実験装置
28日前
日本特殊陶業株式会社
ガスセンサ
26日前
ローム株式会社
半導体装置
1か月前
日本特殊陶業株式会社
ガスセンサ
10日前
日本特殊陶業株式会社
ガスセンサ
3日前
ローム株式会社
半導体装置
1か月前
大和製衡株式会社
組合せ計量装置
1か月前
個人
非接触による電磁パルスの測定方法
1か月前
個人
計量具及び計量機能付き容器
28日前
愛知時計電機株式会社
ガスメータ
1か月前
個人
システム、装置及び実験方法
1か月前
日本特殊陶業株式会社
ガスセンサ
4日前
日本信号株式会社
距離画像センサ
1か月前
大和製衡株式会社
組合せ計量装置
1か月前
双庸電子株式会社
誤配線検査装置
1か月前
愛知電機株式会社
軸部材の外観検査装置
1か月前
株式会社不二越
X線測定装置
1か月前
トヨタ自動車株式会社
測定システム
1か月前
キーコム株式会社
画像作成システム
18日前
個人
液位検視及び品質監視システム
26日前
続きを見る
他の特許を見る