TOP
|
特許
|
意匠
|
商標
特許ウォッチ
Twitter
他の特許を見る
10個以上の画像は省略されています。
公開番号
2025175236
公報種別
公開特許公報(A)
公開日
2025-12-01
出願番号
2024080532
出願日
2024-05-16
発明の名称
遊技機
出願人
株式会社大一商会
代理人
主分類
A63F
7/02 20060101AFI20251120BHJP(スポーツ;ゲーム;娯楽)
要約
【課題】ステージ部材と遊技領域の入賞口等との位置関係を安定させて遊技興趣の低下を抑制することができる遊技機を提供する。
【解決手段】遊技球が流下可能な遊技領域の一部を区画する遊技パネルと、遊技領域を流下する遊技球を受けて横方向に転動させると共にその遊技球を遊技パネルの前面側に落下させるステージ部材と、ステージ部材の上方に区画された演出専用領域と、遊技パネルの前面より前方に突出して演出専用領域を囲う囲い部と、遊技パネルの前方に遊技球が流下可能な間隔を開けて設けられた透明板と、を備えた遊技機であって、ステージ部材は、囲い部の一部を構成するとともに、遊技領域と演出専用領域との間で遊技球の移動を阻止する板状の上壁部を有するものであり、ステージ部材は、上壁部の後端を支持するように形成された後壁部を更に有している、ことを特徴とする。
【選択図】図130
特許請求の範囲
【請求項1】
遊技球が流下可能な遊技領域の一部を区画する遊技パネルと、
前記遊技領域を流下する遊技球を受けて横方向に転動させると共にその遊技球を前記遊技パネルの前面側に落下させるステージ部材と、
前記ステージ部材の上方に区画された演出専用領域と、
前記遊技パネルの前面より前方に突出して前記演出専用領域を囲う囲い部と、
前記遊技パネルの前方に遊技球が流下可能な間隔を開けて設けられた透明板と、を備えた遊技機であって、
前記ステージ部材は、前記囲い部の一部を構成するとともに、前記遊技領域と前記演出専用領域との間で遊技球の移動を阻止する板状の上壁部を有するものであり、
前記ステージ部材は、前記上壁部の後端を支持するように形成された後壁部を更に有しており、
前記ステージ部材よりも下方に、遊技球を受け入れ可能な入賞口とアウト口が位置し、
前記アウト口は、前記入賞口よりも下方に位置し、
前記入賞口は、遊技球の受け入れを契機に、遊技状態を遊技者にとって有利な有利状態にし得る特定入賞口であり、
前記特定入賞口は、前記ステージ部材から落下する遊技球を受け入れ可能である
ことを特徴とする遊技機。
発明の詳細な説明
【技術分野】
【0001】
本発明は、遊技機に関するものである。
続きを表示(約 7,900 文字)
【背景技術】
【0002】
パチンコ機のような遊技機は、遊技球が流下可能な遊技領域の一部を区画する遊技パネルと、該遊技パネルの前面に取付けられる枠状のセンター役物と、を備えており、センター役物の下部には、遊技球を左右に転動させた後に該遊技球を遊技パネル前面の遊技領域に放出するステージ部材が設けられ、ステージ部材の上部には、遊技球の進入が規制された演出専用領域が区画されている(例えば、特許文献1)。この種の遊技機では、ステージ部材の転動面を転動する遊技球が、該転動面における特定の部位から放出された場合に高い確率で始動口のような入賞口に入球するようになっており、それ以外の部位から放出された遊技球との入賞確率に差を設けるようにしている。
【先行技術文献】
【特許文献】
【0003】
特開2013-46876号公報
【発明の概要】
【発明が解決しようとする課題】
【0004】
しかしながら、ステージ部材と入賞口との位置関係に狂いが生じた場合には、転動面の特定の部位から放出される遊技球の入賞確率にも狂いが生じ、意図した遊技の興趣が得られないおそれがある。
【0005】
本発明は、このような事情に鑑みてなされたものであり、その目的とするところは、遊技興趣の低下を抑制することができる遊技機を提供することにある。
【課題を解決するための手段】
【0006】
上述の目的を達成するための有効な解決手段を以下に示す。なお、必要に応じてその作用等の説明を行う。また、理解の容易のため、発明の実施の形態において対応する構成等についても適宜示すが、何ら限定されるものではない。
【0007】
上記の目的を達成するため本発明は、
遊技球が流下可能な遊技領域の一部を区画する遊技パネルと、
前記遊技領域を流下する遊技球を受けて横方向に転動させると共にその遊技球を前記遊技パネルの前面側に落下させるステージ部材と、
前記ステージ部材の上方に区画された演出専用領域と、
前記遊技パネルの前面より前方に突出して前記演出専用領域を囲う囲い部と、
前記遊技パネルの前方に遊技球が流下可能な間隔を開けて設けられた透明板と、を備えた遊技機であって、
前記ステージ部材は、前記囲い部の一部を構成するとともに、前記遊技領域と前記演出専用領域との間で遊技球の移動を阻止する板状の上壁部を有するものであり、
前記ステージ部材は、前記上壁部の後端を支持するように形成された後壁部を更に有しており、
前記ステージ部材よりも下方に、遊技球を受け入れ可能な入賞口とアウト口が位置し、
前記アウト口は、前記入賞口よりも下方に位置し、
前記入賞口は、遊技球の受け入れを契機に、遊技状態を遊技者にとって有利な有利状態にし得る特定入賞口であり、
前記特定入賞口は、前記ステージ部材から落下する遊技球を受け入れ可能である
ことを特徴とする。
ここで、演出専用領域とは、遊技球が流下されることなく、専ら、画像や機械式の可動ユニット等による演出を行う領域のことである。
【0008】
近年の遊技機において、ガラスユニットを閉めた際の衝撃で透明板が瞬間的に遊技パネル側に振れたり、或は苛立った遊技者によって透明板が押し込まれたりすることがあるが、このような外力が透明板を介して上壁部に作用した場合であっても、上壁部の後端が後壁部で支持される構成のステージ部であるため、上壁部が撓むことによって上壁部に作用する外力を分散させることができる。この結果、外力によるステージ部材の破損のリスクを軽減できるとともにステージ部材と遊技領域の入賞口等との位置関係も安定させることができ、遊技興趣の低下を抑制することができる([発明を実施するための形態]では[8-8c-5.ステージユニットの第四実施形態]及び[8-8c-5i.小括]の章、[図面]では図120乃至図132等の記載を参照)。
【発明の効果】
【0009】
このように本発明によれば、遊技興趣の低下を抑制することができる遊技機を提供することができる。
【図面の簡単な説明】
【0010】
本発明の一実施形態であるパチンコ機の正面図である。
上側を前方へ傾けた状態で示すパチンコ機の正面図斜視図である。
パチンコ機を前から見た斜視図である。
パチンコ機の背面図である。
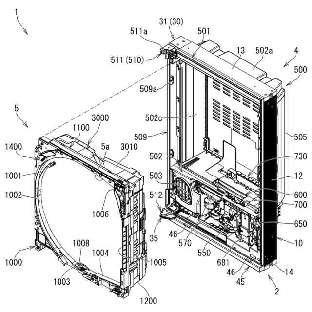
パチンコ機を構成している扉枠、本体枠、及び外枠を夫々ヒンジ回転させて開いた状態で示す斜視図である。
パチンコ機を主な構成毎に分解して前から見た分解斜視図である。
パチンコ機を主な構成毎に分解して後ろから見た分解斜視図である。
扉枠を取外した状態で示すパチンコ機の正面図である。
図8において本体枠から遊技盤を分離させた状態で示す分解斜視図である。
扉枠及び遊技盤を取外した状態で示すパチンコ機の正面図である。
図10のパチンコ機の背面図である。
図10のパチンコ機を斜め前から見た斜視図である。
外枠と本体枠とを分解した状態で前から見た分解斜視図である。
外枠と本体枠とを分解した状態で後ろから見た分解斜視図である。
外枠を上下方向中央で切断した平面断面図である。
外枠の下部を示す斜視図である。
本体枠を主な構成毎に分解して前から見た分解斜視図である。
本体枠を主な構成毎に分解して後ろから見た分解斜視図である。
図10のパチンコ機を上下中央で切断した平面図である。
図19においてア-ア線で切断した断面図である。
図8の正面図において発射ユニット及びファールユニット等を断面にして示す要部正面図である。
本体枠における本体枠ベースユニットを主な構成毎に分解して前から見た分解斜視図である。
本体枠における本体枠ベースユニットを主な構成毎に分解して後ろから見た分解斜視図である。
(a)は本体枠ベースユニットにおける本体枠ベースの正面図であり、(b)は複数の本体枠ベースを重ねている状態を斜視図で示す説明図である。
(a)は本体枠における球発射ユニットを前から見た斜視図であり、(b)は本体枠における球発射ユニットを後ろから見た斜視図である。
(a)は球発射ユニットを分解して前から見た分解斜視図であり、(b)は球発射ユニットを分解して後ろから見た分解斜視図である。
(a)は球発射ユニットの発射ユニットカバーを左後ろから見た斜視図であり、(b)は正面視において発射ユニットカバーのみを断面で示す球発射ユニットの説明図である。
発射減算センサと発射槌とを破線で示す球発射ユニットの正面図である。
(a)は本体枠におけるファールユニットを前から見た斜視図であり、(b)は本体枠におけるファールユニットを後ろから見た斜視図である。
(a)はファールユニットを分解して前から見た分解斜視図であり、(b)はファールユニットを分解して後ろから見た分解斜視図である。
(a)はファールユニットの側面断面においてファールシャッターを閉じた状態で示す説明図であり、(b)はファールユニットの側面断面においてファールシャッターを開いた状態で示す説明図である。
(a)は第二実施形態のファールユニットを前から見た斜視図であり、(b)は第二実施形態のファールユニットを後ろから見た斜視図である。
(a)は第二実施形態のファールユニットを分解して前から見た分解斜視図であり、(b)は第二実施形態のファールユニットを分解して後ろから見た分解斜視図である。
(a)は第二実施形態のファールユニットの側面断面においてファールシャッターを閉じた状態で示す説明図であり、(b)は第二実施形態のファールユニットの側面断面においてファールシャッターを開いた状態で示す説明図である。
(a)は本体枠における循環球経路ユニットを前から見た斜視図であり、(b)は本体枠における循環球経路ユニットを後ろから見た斜視図である。
循環球経路ユニットを分解して前から見た分解斜視図である。
循環球経路ユニットを分解して後ろから見た分解斜視図である。
(a)は循環球経路ユニットにおける球蛇行部材及び球抜シャッターのみを示す平面図であり、(b)は循環球経路ユニットにおける球蛇行部材及び球抜シャッターのみを示す前から見た斜視図である。
(a1)は閉位置の球抜シャッター及び球蛇行部材を球受トレーと共に側面断面で示す説明図であり、(a2)は(a1)における球抜シャッターの部位のみを底面から示す説明図であり、(b1)は開位置の球抜シャッター及び球蛇行部材を球受トレーと共に側面断面で示す説明図であり、(b2)は(b1)における球抜シャッターの部位のみを底面から示す説明図である。
(a)は循環球経路ユニットをアウト球センサの部位で切断して正面断面で示す説明図であり、(b)は循環球経路ユニットをセーフ球センサの部位で切断して正面断面で示す説明図である。
(a)は循環球経路ユニットの蛇行カバーを外した状態で外枠と共に本体枠の下部を拡大して示す前から見た斜視図であり、(b)は循環球経路ユニットの蛇行カバーを外した状態で外枠と共に本体枠の下部を拡大して示す後ろから見た斜視図である。
循環球経路ユニットにおける球蛇行部材、蛇行カバー、球抜シャッター、及びゲージ部を示す平面図である。
(a)は本体枠に取付けられている循環球経路ユニットにおいて球解消機構の蓋部材を閉じた状態でアウト球センサの部位で切断した背面断面の要部を拡大して示す説明図であり、(b)は(a)において蓋部材を開いた状態で示す説明図である。
(a)は閉位置の球抜シャッターに鉄球が磁着している状態で球蛇行部材及び球抜トレーと共に側面断面で示す説明図であり、(b)は開位置の球抜シャッターに鉄球が磁着している状態で球蛇行部材及び球抜トレーと共に側面断面で示す説明図であり、(c)は(b)の状態から球抜シャッターを閉位置へスライドさせて下面に鉄球が磁着している状態で球蛇行部材及び球抜トレーと共に側面断面で示す説明図である。
(a)は本体枠における球揚上ユニットを左前から見た斜視図であり、(b)は本体枠における球揚上ユニットを右前から見た斜視図であり、(c)は本体枠における球揚上ユニットを後ろから見た斜視図である。
球磨モータベース及びカセット押圧片を開いて球磨カセットを取外した状態を示す球揚上ユニットの分解斜視図である。
(a)は球磨カセットを装着していない状態で示す球揚上ユニットの平面図であり、(b)は球磨モータベース及びカセット押圧片を開いた状態で球磨カセットと共に示す球揚上ユニットの平面図であり、(c)は球磨カセットが装着されている状態で示す球揚上ユニットの平面図である。
(a)は球磨カセットのロックが不完全な状態で扉枠が閉められる様子を示す説明図であり、(b)は(a)の状態から扉枠が閉まる方向へ移動して扉枠の突起部が球磨モータベースの先端に当接している状態を示す説明図であり、(c)は(b)の状態から扉枠が閉まって球磨カットがロックされている状態を示す説明図である。
本体枠に取付けられている球揚上ユニットから球磨カセットを取外した状態で要部を拡大して示す正面図である。
(a)は球揚上ユニットにおいて球磨機構及び球揚上機構の要部を示す右側面図であり、(b)は球揚上機構の要部を示す背面図であり、(c)は球揚上機構の要部を(b)の矢視Aから見た平面図である。
球揚上ユニットにおいて揚上スパイラルシャフトと磨布との関係を示す説明図である。
(a)は揚上入口センサと揚上出口センサの部位を拡大して示すと共に球揚上ユニットを左後ろから見た斜視図であり、(b)は球揚上ユニットを揚上入口センサの部位で切断した平面断面図である。
球通路におけるフォトセンサからなる球センサの前後の部位を模式的に示す説明図である。
(a)は球揚上ユニットの球磨カセットを左前から見た斜視図であり、(b)は球磨カセットを右後ろから見た斜視図であり、(c)は球磨カセットを左右方向中央で切断した右側面断面図である。
(a)は本体枠における球送ユニットを前から見た斜視図であり、(b)は本体枠における球送ユニットを後ろから見た斜視図である。
(a)は球送ユニットを分解して前から見た分解斜視図であり、(b)は球送ユニットを分解して後ろが見た分解斜視図である。
発射手前センサの部位で切断した球送ユニットの正面断面図である。
外枠に対して本体枠を開くと共に裏カバー及び枠基板ユニットを開いた状態で示す斜視図である。
外枠及び本体枠における枠基板ユニットの部位を拡大して示す説明図である。
枠基板ユニットを開いた状態で本体枠の後側を示す参考写真である。
本体枠の後面側における遊技球の各種通路を背面から示す説明図である。
本体枠における遊技球の流れを模式的に示す説明図である。
パチンコ機の制御構成を概略で示すブロック図である。
発射許可処理を示すフローチャートである。
持ち球減算処理を示すフローチャートである。
ファール球による持ち球加算処理を示すフローチャートである。
発射制御処理を示すフローチャートである。
発射シーケンスにおける発射ソレノイドと球送ソレノイドとの動作を示すタイムチャートである。
(a)は図67とは異なる発射制御処理を示すフローチャートであり、(b)は(a)の発射制御処理の場合の持ち球減算処理を示すフローチャートである。
賞球処理を示すフローチャートである。
揚上モータ動作処理を示すフローチャートである。
揚上入口センサ及び揚上出口センサと揚上モータの動作との関係を示す表である。
遊技球の発射動作と球揚上ユニットの動作との関係を示すグラフである。
球揚上ユニットにおける球揚上機構の動作を示すグラフである。
(a)はセキュリティ処理を示すフローチャートであり、(b)は(a)とは異なる実施形態のセキュリティ処理を示すフローチャートである。
循環球過少センサ及び循環球過多センサとエラー報知との関係を示す表である。
(a)は磁石からの磁力線を検知可能な磁気センサの向きを示す説明図であり、(b)は磁石からの磁力線を検知不能な磁気センサの向きを示す説明図であり、(c)は遊技盤における磁気センサによる検知範囲を斜視図により模式的に示す説明図であり、(d)は磁石からの磁力線が検知不能となる磁気センサと磁性体との位置関係を示す説明図であり、(e)は磁石からの磁力線が検知可能となる磁気センサと磁性体との位置関係を示す説明図であり、(f)は磁気センサと保持部とを分離して示す説明図である。
扉枠に対して着脱可能な枠飾り部材を示す説明図である。
透明なセンター役物等を不透明にして示す遊技盤の正面図である。
図79の遊技盤を右前から見た斜視図である。
図79の遊技盤を左前から見た斜視図である。
図79の遊技盤を後ろから見た斜視図である。
図79の遊技盤を主な部材毎に分解して前から見た分解斜視図である。
図79の遊技盤を主な部材毎に分解して後ろから見た分解斜視図である。
遊技パネルの面と平行に表ユニットを切断して遊技球が流通する遊技領域内を示す遊技盤の正面図である。
(a)は図79の遊技盤において前構成部材、遊技パネル及び表ユニットを有する組立体を前から見た斜視図であり、(b)は図79の遊技盤において前構成部材、遊技パネル及び表ユニットを有する組立体を後ろから見た斜視図である。
図86に示す組立体を主な構成毎に分解して前から見た分解斜視図である。
図86に示す組立体を主な構成毎に分解して後ろから見た分解斜視図である。
(a)は前構成部材における遊技盤第一情報表示部の部位を拡大して斜視図で示す説明図であり、(b)は遊技盤第一情報表示部の部位を断面で示す説明図であり、(c)は遊技盤第一情報表示部と第一情報シール台座とを分解して斜視図で示す説明図であり、(d)は第一情報シールが貼り付けられている第一情報シール台座を前から見た斜視図である。
(a)は前構成部材における遊技盤第二情報表示部の部位を拡大して斜視図で示す説明図であり、(b)は遊技盤第二情報表示部の部位を断面で示す説明図であり、(c)は遊技盤第二情報表示部と第二情報シール台座とを分解して斜視図で示す説明図であり、(d)は第二情報シールが貼り付けられている第二情報シール台座を前から見た斜視図である。
(a)は前構成部材における遊技盤第三情報表示部の部位を拡大して斜視図で示す説明図であり、(b)は遊技盤第三情報表示部の部位を断面で示す説明図であり、(c)は遊技盤第三情報表示部と第三情報シール台座とを分解して斜視図で示す説明図であり、(d)は第三情報シールが貼り付けられている第三情報シール台座を前から見た斜視図である。
遊技盤のセンター役物を前から見た斜視図である。
遊技盤のセンター役物を後ろから見た斜視図である。
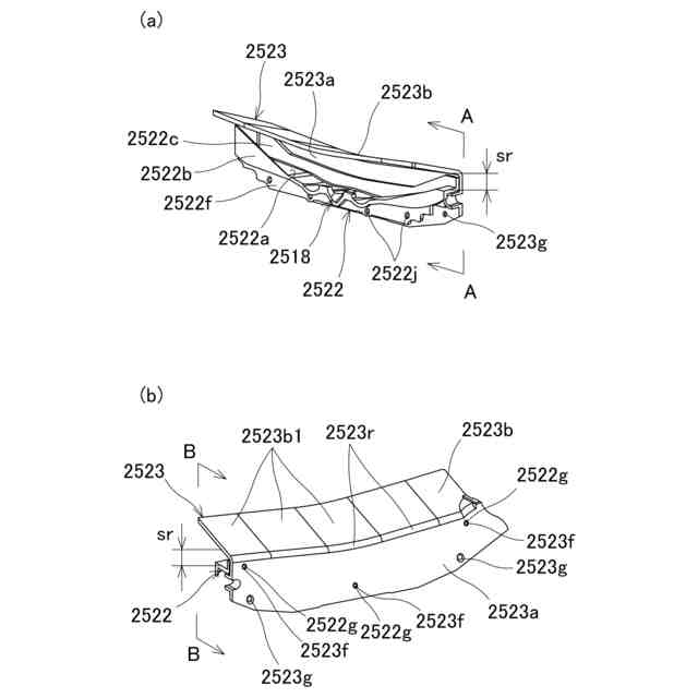
(a)はセンター役物におけるステージユニットの正面図であり、(b)はセンター役物におけるステージユニットの背面図である。
ステージユニットを分解して前から見た分解斜視図である。
ステージユニットを分解して後ろから見た分解斜視図である。
ステージユニットの要部を拡大して示す正面図である。
(a)は図97におけるタ-タ線で切断した断面図であり、(b)は図97におけるチ-チ線で切断した断面図であり、(c)は図97におけるツ-ツ線で切断した断面図であり、(d)は図97におけるテ-テ線で切断した断面図である。
(a)~(e)は、脱型痕跡部の様々な態様を示す説明図である。
(a)はセンター役物のステージユニットにおける前後両側に脱型痕跡部が設けられている第一部材の正面図であり、ステージユニットにおける前後両側に脱型痕跡部が設けられている第一部材の背面図である。
【発明を実施するための形態】
(【0011】以降は省略されています)
この特許をJ-PlatPat(特許庁公式サイト)で参照する
関連特許
株式会社大一商会
遊技機
1日前
株式会社大一商会
遊技機
27日前
株式会社大一商会
遊技機
27日前
株式会社大一商会
遊技機
27日前
株式会社大一商会
遊技機
27日前
株式会社大一商会
遊技機
27日前
株式会社大一商会
遊技機
27日前
株式会社大一商会
遊技機
27日前
株式会社大一商会
遊技機
27日前
株式会社大一商会
遊技機
27日前
株式会社大一商会
遊技機
27日前
株式会社大一商会
遊技機
27日前
株式会社大一商会
遊技機
27日前
株式会社大一商会
遊技機
27日前
株式会社大一商会
遊技機
27日前
株式会社大一商会
遊技機
27日前
株式会社大一商会
遊技機
27日前
株式会社大一商会
遊技機
27日前
株式会社大一商会
遊技機
27日前
株式会社大一商会
遊技機
27日前
株式会社大一商会
遊技機
27日前
株式会社大一商会
遊技機
27日前
株式会社大一商会
遊技機
27日前
株式会社大一商会
遊技機
27日前
株式会社大一商会
遊技機
27日前
株式会社大一商会
遊技機
27日前
株式会社大一商会
遊技機
27日前
株式会社大一商会
遊技機
27日前
株式会社大一商会
遊技機
27日前
株式会社大一商会
遊技機
27日前
株式会社大一商会
遊技機
27日前
株式会社大一商会
遊技機
27日前
株式会社大一商会
遊技機
27日前
株式会社大一商会
遊技機
27日前
株式会社大一商会
遊技機
27日前
株式会社大一商会
遊技機
27日前
続きを見る
他の特許を見る