TOP
|
特許
|
意匠
|
商標
特許ウォッチ
Twitter
他の特許を見る
10個以上の画像は省略されています。
公開番号
2025175200
公報種別
公開特許公報(A)
公開日
2025-11-28
出願番号
2025160366,2023091779
出願日
2025-09-26,2023-06-02
発明の名称
撮像装置およびその制御方法
出願人
キヤノン株式会社
代理人
個人
,
個人
,
個人
主分類
G02B
7/34 20210101AFI20251120BHJP(光学)
要約
【課題】撮像素子からの信号を用いて取得する焦点等の情報の精度の低下を抑制する。
【解決手段】撮像装置120は、光学系の互いに異なる瞳領域を通過した光束のそれぞれを光電変換する複数の画素を有し、第1の方向の画素からの信号読出しが第2の方向に順次行われる撮像素子122を有する。検出手段125,129は、複数の画素のうち少なくとも一部から読み出された信号により生成された対の検出信号の位相差を検出して焦点または距離に関する情報を取得し、第1の方向で位相差を検出する第1の検出と、第2の方向で位相差を検出する第2の検出とを行う。シャッタースピードが所定時間より長い場合は、第1および第2の検出のいずれかにより上記情報を取得する第1の処理を行い、シャッタースピードが所定時間より短い場合は、第2の検出によらず第1の検出により上記情報を取得する第2の処理を行う。所定時間をF値が大きいほど長く設定する。
【選択図】図1
特許請求の範囲
【請求項1】
光学系の互いに異なる瞳領域を通過した光束をそれぞれ光電変換する複数の光電変換部を有する画素が、行方向である第1の方向と列方向である第2の方向に複数配列される撮像素子と、
前記撮像素子において、前記画素からの信号を前記第2の方向に行ごとに順次読み出す読み出し手段と、
前記読み出された信号に基づいて、前記第1の方向における焦点検出信号の位相差である第1位相差と、前記第2の方向における焦点検出信号の位相差である第2位相差と、を検出する焦点検出手段と、
前記第1位相差または前記第2位相差に基づいて、フォーカス制御を行う焦点調節手段と、を有し、
前記焦点調節手段は、
シャッタースピードが所定時間より短い場合には、前記第1位相差に基づく第1フォーカス制御を行う第1の処理を行い、
シャッタースピードが前記所定時間より長い場合には、前記第1フォーカス制御と前記第2位相差に基づく第2フォーカス制御のうちいずれかを選択してフォーカス制御をする第2の処理を行い、
前記光学系のF値が、第1のF値に設定された場合よりも、前記第1のF値よりも大きい第2のF値に設定された場合の方が、前記所定時間が長いことを特徴とする撮像装置。
続きを表示(約 1,000 文字)
【請求項2】
前記画素には、前記第1の方向に2分割された光電変換部を有する画素と、前記第2の方向に2分割された光電変換部を有する画素が含まれることを特徴とする請求項1に記載の撮像装置。
【請求項3】
前記第1の処理では、前記第1位相差のみを選択可能としてフォーカス制御をすることを特徴とする請求項1に記載の撮像装置。
【請求項4】
前記第1の処理では、前記第2位相差に寄らずに前記第1位相差に基づく第1フォーカス制御が行われることを特徴とする請求項1に記載の撮像装置。
【請求項5】
前記撮像素子のうち、前記焦点検出信号を生成する検出領域において、前記撮像素子がローリングシャッター方式で信号を読み出す構成であって、前記第2の方向の前記焦点検出信号を生成するための時間が、前記第1の方向の前記焦点検出信号を生成すための時間よりも長いことを特徴とする請求項1に記載の撮像装置。
【請求項6】
前記焦点検出手段による焦点検出を繰り返し行う場合、前記第1の処理と前記第2の処理のうち、開始時に設定された処理を継続して行うことを特徴とする請求項1に記載の撮像装置。
【請求項7】
前記焦点検出手段は、前記位相差に変換係数を乗じることでデフォーカス量を取得し、
前記変換係数が、第1の値に設定された場合よりも、前記第1の値よりも大きい第2の値に設定された場合の方が、前記所定時間が長いことを特徴とする請求項1に記載の撮像装置。
【請求項8】
前記焦点検出信号を生成する検出領域の像高が、第1の像高に設定された場合よりも、前記第1の像高よりも高い第2の像高に設定された場合の方が、前記所定時間が長いことを特徴とする請求項1に記載の撮像装置。
【請求項9】
前記撮像素子上での被写体像の移動速度が、第1の速度に設定された場合よりも、前記第1の速度よりも速い第2の速度に設定された場合の方が、前記所定時間が長いことを特徴とする請求項1に記載の撮像装置。
【請求項10】
前記光学系の焦点距離が、第1の焦点距離に設定された場合よりも、前記第1の焦点距離よりも長い第2の焦点距離に設定された場合の方が、前記所定時間が長いことを特徴とする請求項1に記載の撮像装置。
(【請求項11】以降は省略されています)
発明の詳細な説明
【技術分野】
【0001】
本発明は、撮像面位相差検出方式の焦点検出を行う撮像装置に関する。
続きを表示(約 2,700 文字)
【背景技術】
【0002】
撮像面位相差検出方式では、被写体を撮像するための撮像素子を瞳分割を行う焦点検出センサとして用いて位相差検出方式の焦点検出を行う。特許文献1、2には、互いに異なる第1および第2の瞳分割方向のそれぞれで焦点検出を行う撮像装置が開示されている。
【0003】
特許文献2には、焦点検出性能とライブビュー表示時間の確保のため、撮像素子からの高速読出しを行う際に連写速度が速い、F値が明るい又は被写体輝度が明るい等の条件下では第2の瞳分割方向による焦点検出信号を間引く又は生成しないことが開示されている。
【先行技術文献】
【特許文献】
【0004】
特開2010―263568号公報
特許第7027133号公報
【発明の概要】
【発明が解決しようとする課題】
【0005】
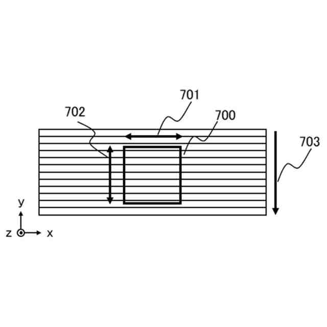
第2の瞳分割方向は撮像素子からの信号読出し方向に対応する第1の瞳分割方向と異なるため、位相差を検出する相関方向での読出し時間差が大きくなる。相関方向での読出し時間差が大きくなると、焦点検出信号に対して時間差による誤差が重畳するため、焦点検出精度が低下する。焦点検出精度の低下度合いが大きくなる条件としては、撮像素子上での被写体像の移動速度が速いとき、読出し速度がシャッタースピードに対して遅いとき、F値が暗いとき等が挙げられる。特許文献2の撮像装置では、相関方向の読出し時間差に起因する焦点検出精度低下を撮像条件に応じて抑制することは困難である。
【0006】
本発明は、撮像素子からの信号を用いて取得する焦点等に関する情報の精度の低下を抑制できるようにした撮像装置を提供する。
【課題を解決するための手段】
【0007】
本発明の一側面としての撮像装置は、光学系の互いに異なる瞳領域を通過した光束をそれぞれ光電変換する複数の光電変換部を有する画素が、行方向である第1の方向と列方向である第2の方向に複数配列される撮像素子と、撮像素子において、画素からの信号を第2の方向に行ごとに順次読み出す読み出し手段と、読み出された信号に基づいて、第1の方向における焦点検出信号の位相差である第1位相差と、第2の方向における焦点検出信号の位相差である第2位相差と、を検出する焦点検出手段と、第1位相差または第2位相差に基づいて、フォーカス制御を行う焦点調節手段と、を有し、焦点調節手段は、シャッタースピードが所定時間より短い場合には、前記第1位相差に基づく第1フォーカス制御を行う第1の処理を行い、シャッタースピードが所定時間より長い場合には、第1フォーカス制御と第2位相差に基づく第2フォーカス制御のうちいずれかを選択してフォーカス制御をする第2の処理を行い、光学系のF値が、第1のF値に設定された場合よりも、第1のF値よりも大きい第2のF値に設定された場合の方が、所定時間が長いことを特徴とする。 また本発明の他の一側面として撮像装置は、光学系の互いに異なる瞳領域を通過した光束のそれぞれを光電変換する複数の画素を有する撮像素子と、複数の画素のうち少なくとも一部から読み出された信号により生成された対の検出信号の位相差を検出することで焦点または距離に関する情報を取得する検出手段とを有する。検出手段は、第1の方向で位相差を検出する第1の検出と、第1の方向とは異なる第2の方向で位相差を検出する第2の検出とを行うことが可能である。撮像素子のうち対の検出信号を生成する検出領域において、第1の方向での読出し時間が第2の方向での読出し時間より短い場合は、第1の検出により上記情報を取得し、第2の方向での読出し時間が第1の方向での読出し時間より短い場合は、第2の検出により上記情報を取得することを特徴とする。
【0008】
また本発明の他の一側面としての制御方法は、光学系の互いに異なる瞳領域を通過した光束をそれぞれ光電変換する複数の光電変換部を有する画素が、行方向である第1の方向と列方向である第2の方向に複数配列される撮像素子を有する撮像装置の制御方法であって、撮像素子において、画素からの信号を第2の方向に行ごとに順次読み出す読み出し工程と、読み出された信号に基づいて、第1の方向における焦点検出信号の位相差である第1位相差と、第2の方向における焦点検出信号の位相差である第2位相差と、を検出する焦点検出工程と、第1位相差または第2位相差に基づいて、フォーカス制御を行う焦点調節工程と、を有し、焦点調節工程ではシャッタースピードが所定時間より短い場合には、第1位相差に基づく第1フォーカス制御を行う第1の処理を行い、シャッタースピードが所定時間より長い場合には、第1フォーカス制御と第2位相差に基づく第2フォーカス制御のうちいずれかを選択してフォーカス制御をする第2の処理を行い、光学系のF値が、第1のF値に設定された場合よりも、第1のF値よりも大きい第2のF値に設定された場合の方が、所定時間が長いことを特徴とする。
【0009】
また本発明の他の一側面としての制御方法は、光学系の互いに異なる瞳領域を通過した光束をそれぞれ光電変換する複数の光電変換部を有する画素が、行方向である第1の方向と列方向である第2の方向に複数配列される撮像素子を有する撮像装置の制御方法であって、撮像素子において、画素からの信号を第2の方向に行ごとに順次読み出す読み出し工程と、読み出された信号に基づいて、第1の方向における焦点検出信号の位相差である第1位相差と、第2の方向における焦点検出信号の位相差である第2位相差と、を検出する焦点検出工程と、焦点検出工程による検出結果に基づいて、フォーカス制御を行う焦点調節工程と、を有し、焦点調節工程では、シャッタースピードが所定時間より短い場合には、第1位相差に基づいてフォーカス制御を行い、シャッタースピードが所定時間より長い場合には、第1位相差および第2位相差に基づいてフォーカス制御を行い、光学系のF値が、第1のF値に設定された場合よりも、第1のF値よりも大きい第2のF値に設定された場合の方が、所定時間が長いことを特徴とする。
なお、上記各制御方法に従う処理を撮像装置のコンピュータに実行させるプログラムも、本発明の他の一側面を構成する。
【発明の効果】
【0010】
本発明によれば、撮像素子からの信号を用いて取得する焦点または距離に関する情報の精度の低下を抑制することができる。
【図面の簡単な説明】
(【0011】以降は省略されています)
この特許をJ-PlatPat(特許庁公式サイト)で参照する
関連特許
キヤノン株式会社
容器
1か月前
キヤノン株式会社
容器
1か月前
キヤノン株式会社
トナー
23日前
キヤノン株式会社
トナー
1か月前
キヤノン株式会社
表示装置
2日前
キヤノン株式会社
撮像装置
1か月前
キヤノン株式会社
撮像装置
1か月前
キヤノン株式会社
撮像装置
1か月前
キヤノン株式会社
撮像装置
1か月前
キヤノン株式会社
撮像装置
10日前
キヤノン株式会社
電子機器
18日前
キヤノン株式会社
撮像装置
2日前
キヤノン株式会社
表示装置
2日前
キヤノン株式会社
撮影装置
1か月前
キヤノン株式会社
電子機器
23日前
キヤノン株式会社
定着装置
10日前
キヤノン株式会社
表示装置
1か月前
キヤノン株式会社
雲台装置
23日前
キヤノン株式会社
現像装置
1か月前
キヤノン株式会社
表示装置
2日前
キヤノン株式会社
撮像装置
2日前
キヤノン株式会社
現像容器
1か月前
キヤノン株式会社
記録装置
1か月前
キヤノン株式会社
撮像装置
23日前
キヤノン株式会社
定着装置
16日前
キヤノン株式会社
測距装置
25日前
キヤノン株式会社
定着装置
10日前
キヤノン株式会社
定着装置
16日前
キヤノン株式会社
現像装置
1か月前
キヤノン株式会社
測距装置
1か月前
キヤノン株式会社
記録装置
16日前
キヤノン株式会社
撮像装置
24日前
キヤノン株式会社
記録装置
1か月前
キヤノン株式会社
発光装置
2日前
キヤノン株式会社
撮像装置
4日前
キヤノン株式会社
現像装置
1か月前
続きを見る
他の特許を見る