TOP
|
特許
|
意匠
|
商標
特許ウォッチ
Twitter
他の特許を見る
10個以上の画像は省略されています。
公開番号
2025175176
公報種別
公開特許公報(A)
公開日
2025-11-28
出願番号
2025159054,2023066405
出願日
2025-09-25,2023-04-14
発明の名称
米飯処理装置およびおにぎり製造装置
出願人
鈴茂器工株式会社
代理人
個人
主分類
A23L
7/10 20160101AFI20251120BHJP(食品または食料品;他のクラスに包含されないそれらの処理)
要約
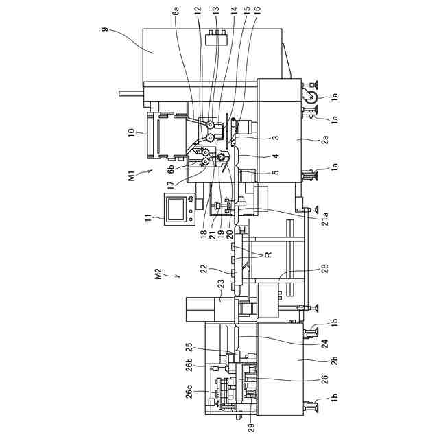
【課題】容積計量における量目精度を維持しつつ米飯の分割生成速度を向上させる。
【解決手段】ホッパ10内の米飯を下方に送るローラ対13と、固定式規制板14a、および固定式規制板14aとで上下が開口した枠体を形成するとともに相互に接近離隔可能に対向配置された可動式規制板14bとで構成され、ローラ対13で送られた米飯が導入される枠体部14と、枠体部14から下方へ送り出される米飯を分割するカッタ15と、カッタ15と間隔を開けて配置されて開閉可能に設けられ、米飯の分割時には閉鎖位置になって枠体部14から下方へ送り出された米飯を支持し、米飯が分割されたならば、開放位置になって分割された米飯を落下させる開閉プレート16とを有する。可動式規制板14bは、米飯を導入するときには相互に接近し、米飯を開閉プレート16に送り出してカッタ15で分割して落下させるときには相互に離隔する。
【選択図】図9
特許請求の範囲
【請求項1】
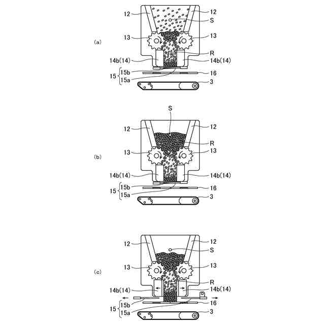
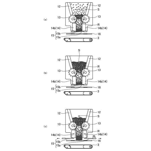
相互に対向配置され、回転動作によって米飯貯留部内の米飯を下方に送るローラ対と、
相互に対向配置された一対の固定式規制板、および前記固定式規制板とで上下が開口した枠体を形成するとともに相互に接近離隔可能に対向配置された一対の可動式規制板とで構成され、前記ローラ対で送られた米飯が導入される枠体部と、
前記枠体部の下方に設けられ、横方向に開閉して前記枠体部から下方へ送り出される米飯を所定量に分割する分割手段と、
前記分割手段の下方に当該分割手段と間隔を開けて配置されて横方向に開閉可能に設けられ、前記分割手段による米飯の分割時には、閉鎖位置になって前記枠体部から下方へ送り出された米飯を支持し、前記分割手段により米飯が分割されたならば、開放位置になって分割された米飯を落下させる開閉プレートとを有し、
前記分割手段および前記開閉プレートを閉鎖位置にするとともに、前記可動式規制板を相互に接近した第1の位置にして前記ローラ対を回転させ、前記枠体部に米飯を導入する処理を行い、
前記開閉プレートを閉鎖位置にしたままで前記分割手段を開放位置に移行させるとともに、前記可動式規制板を相互に離隔した第2の位置に移行させる一方で前記ローラ対の回転を継続させ、前記枠体部に導入された米飯を前記開閉プレートに送り出す処理を行い、
前記分割手段を閉鎖位置に移行させて前記開閉プレートを開放位置に移行させるとともに、前記可動式規制板を相互に離隔した前記第2の位置に維持したままで前記ローラ対の回転を停止させ、前記開閉プレートに送り出された米飯を分割して落下させる処理を行い、
前記分割手段を閉鎖位置にしたままで前記開閉プレートを閉鎖位置に移行させるとともに、前記可動式規制板を相互に接近した第1の位置に移行させて前記ローラ対の回転を再開させ、米飯を落下させた後に前記枠体部に米飯を導入する処理に戻る、
ことを特徴とする米飯処理装置。
続きを表示(約 530 文字)
【請求項2】
前記分割手段は、相互に噛み合い可能な櫛歯形状とされた一対の分割刃である、
ことを特徴とする請求項1記載の米飯処理装置。
【請求項3】
一対の前記分割刃の少なくとも何れかは、米飯の分割時において、相互に噛み合った閉鎖位置で外側を支点にして下方向に所定角度だけ回転する、
ことを特徴とする請求項2記載の米飯処理装置。
【請求項4】
前記開閉プレートは、上下方向に移動可能とされている、
ことを特徴とする請求項1記載の米飯処理装置。
【請求項5】
前記開閉プレートから落下した米飯の重量を計測する計測部と、
前記計測部で計測された米飯に、当該計測部で計測された重量と設定重量値との差分の米飯を加える調整部とを有する、
ことを特徴とする請求項1記載の米飯処理装置。
【請求項6】
請求項1~5の何れか一項に記載の米飯処理装置と、
前記米飯処理装置で分割生成された米飯塊を折り畳む折り畳み手段を備え、前記折り畳み手段により折り畳まれた米飯を圧縮しておにぎりを成形するおにぎり成形装置と、
を有することを特徴とするおにぎり製造装置。
発明の詳細な説明
【技術分野】
【0001】
本発明は、米飯処理装置およびおにぎり製造装置に関し、特に米飯の分割処理速度の向上に適用して有効な技術に関するものである。
続きを表示(約 1,800 文字)
【背景技術】
【0002】
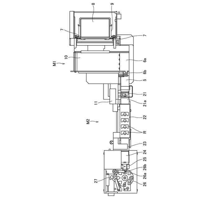
おむすびを大量生産する装置や弁当などの大量の容器に米飯を盛り付ける装置では、ホッパ(米飯貯留部)内の米飯を所定量に分割生成することが行われる。
【0003】
そして、所定量の米飯を分割生成する技術として、一対のローラ間に米飯を通してシート状にし、これを所定長に分割する方式が知られている。この方式は量目精度がよく生産速度も速いが、ローラの間に米飯を通すために米飯が圧縮されてダメージを受け、食感が損なわれるという問題点がある。
【0004】
ローラ以外により所定量の米飯を分割生成する技術として、容積計量が知られている。容積計量とは、米飯が通過する枠体部の水平断面積と分割された米飯の厚み(高さ)とで規定される容積で米飯の計量を行うものであり、ローラを用いた場合のように米飯を圧縮しない分だけ米飯のダメージを減らすことができる。
【0005】
なお、容積計量による米飯計量装置については、例えば特許文献1(特開2018-151236号公報)に記載された技術が知られている。
【先行技術文献】
【特許文献】
【0006】
特開2018-151236号公報
【発明の概要】
【発明が解決しようとする課題】
【0007】
しかしながら、容積計量による米飯の分割生成では、米飯が粘性により枠体部に接触していることから、当該米飯が枠体部から自重落下するまでに時間がかかり、生産速度が遅くなる(一般には、2200個/h程度)。一方、生産速度を上げようとすると、枠体部内の米飯密度が低いままで容積計量を行って米飯を分割することになるために量目精度が低下する。
【0008】
本発明は、上述の技術的背景からなされたものであって、容積計量における量目精度を維持しつつ米飯の分割生成速度を向上させることができる米飯処理装置およびおにぎり製造装置を提供することを目的とする。
【課題を解決するための手段】
【0009】
上記課題を解決するため、請求項1に記載の本発明の米飯処理装置は、相互に対向配置され、回転動作によって米飯貯留部内の米飯を下方に送るローラ対と、相互に対向配置された一対の固定式規制板、および前記固定式規制板とで上下が開口した枠体を形成するとともに相互に接近離隔可能に対向配置された一対の可動式規制板とで構成され、前記ローラ対で送られた米飯が導入される枠体部と、前記枠体部の下方に設けられ、横方向に開閉して前記枠体部から下方へ送り出される米飯を所定量に分割する分割手段と、前記分割手段の下方に当該分割手段と間隔を開けて配置されて横方向に開閉可能に設けられ、前記分割手段による米飯の分割時には、閉鎖位置になって前記枠体部から下方へ送り出された米飯を支持し、前記分割手段により米飯が分割されたならば、開放位置になって分割された米飯を落下させる開閉プレートとを有し、前記分割手段および前記開閉プレートを閉鎖位置にするとともに、前記可動式規制板を相互に接近した第1の位置にして前記ローラ対を回転させ、前記枠体部に米飯を導入する処理を行い、前記開閉プレートを閉鎖位置にしたままで前記分割手段を開放位置に移行させるとともに、前記可動式規制板を相互に離隔した第2の位置に移行させる一方で前記ローラ対の回転を継続させ、前記枠体部に導入された米飯を前記開閉プレートに送り出す処理を行い、前記分割手段を閉鎖位置に移行させて前記開閉プレートを開放位置に移行させるとともに、前記可動式規制板を相互に離隔した前記第2の位置に維持したままで前記ローラ対の回転を停止させ、前記開閉プレートに送り出された米飯を分割して落下させる処理を行い、前記分割手段を閉鎖位置にしたままで前記開閉プレートを閉鎖位置に移行させるとともに、前記可動式規制板を相互に接近した第1の位置に移行させて前記ローラ対の回転を再開させ、米飯を落下させた後に前記枠体部に米飯を導入する処理に戻る、ことを特徴とする。
【0010】
請求項2に記載の本発明の米飯処理装置は、上記請求項1記載の発明において、前記分割手段は、相互に噛み合い可能な櫛歯形状とされた一対の分割刃である、ことを特徴とする。
(【0011】以降は省略されています)
この特許をJ-PlatPat(特許庁公式サイト)で参照する
関連特許
個人
健康促進霊芝茶
2か月前
不二製油株式会社
組成物
2か月前
不二製油株式会社
グミ類
3か月前
個人
ヨーグルト等の発酵器
2か月前
不二製油株式会社
加工食品
3か月前
不二製油株式会社
油性食品
2か月前
不二製油株式会社
油脂組成物
4か月前
池田食研株式会社
微粉状食品
5か月前
不二製油株式会社
油脂組成物
3か月前
個人
可食性素材からなる容器
27日前
三生医薬株式会社
経口組成物
今日
株式会社東洋新薬
経口組成物
5か月前
不二製油株式会社
光照射油脂
2か月前
株式会社東洋新薬
経口組成物
3か月前
株式会社東洋新薬
経口組成物
1か月前
池田食研株式会社
風味改善剤
5か月前
株式会社東洋新薬
飲料
2か月前
アサヒ飲料株式会社
飲料
5か月前
東ソー株式会社
食品品質保持剤
4か月前
奥野製薬工業株式会社
処理方法
2か月前
株式会社ソディック
食品搬送装置
4か月前
株式会社エポック社
絞出具
2か月前
東洋ライス株式会社
搗精米
3か月前
株式会社ミルボン
組成物及び方法
4日前
不二製油株式会社
被覆用油性食品
2か月前
個人
発酵あんこの製造方法
1か月前
日本メナード化粧品株式会社
飲料
2か月前
池田食研株式会社
食品生地用組成物
4か月前
不二製油株式会社
冷凍霜付き抑制剤
2か月前
個人
廃棄食品の資源化法とその装置
4か月前
個人
天然マンゴー果汁色青汁
5か月前
池田食研株式会社
油脂含有造粒顆粒
3か月前
不二製油株式会社
カカオ含有飲食物
2か月前
個人
海ぶどうの加工処理方法
25日前
個人
にんにくの熟成方法
1か月前
株式会社オーツボ
海苔剥ぎ装置
1か月前
続きを見る
他の特許を見る