TOP
|
特許
|
意匠
|
商標
特許ウォッチ
Twitter
他の特許を見る
10個以上の画像は省略されています。
公開番号
2025175157
公報種別
公開特許公報(A)
公開日
2025-11-28
出願番号
2025158454,2024141053
出願日
2025-09-24,2020-07-31
発明の名称
ズームレンズ
出願人
キヤノン株式会社
代理人
個人
,
個人
,
個人
主分類
G02B
15/20 20060101AFI20251120BHJP(光学)
要約
【課題】長焦点距離かつ大口径比でありながら小型軽量化と高画質化を両立したズームレンズを提供すること。
【解決手段】ズームレンズは、物体側から像側へ順に配置された正の屈折力の第1レンズ群、負の屈折力の第2レンズ群、1以上のレンズ群を含む後群を有し、ズーミングに際して隣り合うレンズ群の間隔が変化するズームレンズであって、第1レンズ群は物体側から像側へ順に配置された正の屈折力の第1部分群、第2部分群からなり、第1部分群は第1正レンズを有し、第2部分群は第2正レンズと第1負レンズとを有し、第1正レンズは第1部分群を構成するレンズのうち焦点距離の絶対値が最も小さいレンズであり、第1負レンズは第2部分群を構成する負レンズのうち焦点距離の絶対値が最も小さいレンズであり、第1部分群から第2部分群までの光軸上の距離、第1部分群、第1レンズ群、第2レンズ群の焦点距離を各々適切に設定すること。
【選択図】図1
特許請求の範囲
【請求項1】
物体側から像側へ順に配置された、正の屈折力の第1レンズ群、2つのレンズ群からなる中間群、1以上のレンズ群を含む後群からなり、ズーミングに際して隣り合うレンズ群の間隔が変化するズームレンズであって、
前記中間群は、中間レンズ群と負の屈折力の第2レンズ群とからなり、
前記第1レンズ群は、物体側から像側へ順に配置された、正の屈折力の第1部分群、第2部分群からなり、
前記第1部分群と前記第2部分群との光軸上の空気間隔は、前記第1レンズ群における光軸上の空気間隔のうち最大であり、
前記第1部分群は、第1正レンズからなり、
前記第2部分群は、第2正レンズと第1負レンズとを有し、
前記第1正レンズは、前記第1部分群を構成するレンズのうち焦点距離の絶対値が最も小さいレンズであり、
フォーカシングに際して、前記第1レンズ群は不動であり、
前記第1負レンズは、前記第2部分群を構成する負レンズのうち焦点距離の絶対値が最も小さいレンズであり、
前記第1部分群から前記第2部分群までの光軸上の距離をd11、前記第1部分群の焦点距離をf11、前記第1レンズ群の焦点距離をf1、前記第2レンズ群の焦点距離をf2とするとき、
0.08<d11/f11<0.50
0.74<f11/f1<1.30
-8<f1/f2<-2
なる条件式を満足することを特徴とするズームレンズ。
続きを表示(約 1,300 文字)
【請求項2】
前記第1部分群の物体側から数えてi番目のレンズの焦点距離をf11iとするとき、
0.9<Σf11/|f11i|<1.2
なる条件式を満足することを特徴とする請求項1に記載のズームレンズ。
【請求項3】
前記第1正レンズの物体側面の曲率半径をr1、前記第1正レンズの像側面の曲率半径をr2とするとき、
0.1<(r2+r1)/(r2-r1)<2.0
なる条件式を満足することを特徴とする請求項1又は2に記載のズームレンズ。
【請求項4】
望遠端における前記第1レンズ群から前記第2レンズ群までの光軸上の距離をD1t、広角端における前記第1レンズ群から前記第2レンズ群までの光軸上の距離をD1wとするとき、
0.3<(D1t-D1w)/|f2|<2.0
なる条件式を満足することを特徴とする請求項1乃至3の何れか一項に記載のズームレンズ。
【請求項5】
望遠端における前記第1レンズ群の最も物体側のレンズ面から像面までの光軸上の距離をLt、望遠端における前記ズームレンズの焦点距離をftとするとき、
0.39<Lt/ft<1.20
なる条件式を満足することを特徴とする請求項1乃至4の何れか一項に記載のズームレンズ。
【請求項6】
前記第1レンズ群の最も物体側のレンズ面から前記第1レンズ群の最も像側のレンズ面までの光軸上の距離をT1、望遠端における前記第1レンズ群から前記第2レンズ群までの光軸上の距離をD1t、望遠端における前記ズームレンズの焦点距離をftとするとき、
0.2<(T1+D1t)/ft<0.9
なる条件式を満足することを特徴とする請求項1乃至5の何れか一項に記載のズームレンズ。
【請求項7】
前記第1レンズ群の最も物体側のレンズ面から前記第1レンズ群の最も像側のレンズ面までの光軸上の距離をT1、広角端における前記第1レンズ群から前記第2レンズ群までの光軸上の距離をD1w、広角端における前記ズームレンズの焦点距離をfwとするとき、
0.10<(T1+D1w)/fw<0.95
なる条件式を満足することを特徴とする請求項1乃至6の何れか一項に記載のズームレンズ。
【請求項8】
望遠端における前記ズームレンズの焦点距離をftとするとき、
0.25<f1/ft<1.20
なる条件式を満足することを特徴とする請求項1乃至7の何れか一項に記載のズームレンズ。
【請求項9】
広角端における前記第2レンズ群の結像横倍率をβ2wとするとき、
-5.0<β2w<-0.1
なる条件式を満足することを特徴とする請求項1乃至8の何れか一項に記載のズームレンズ。
【請求項10】
前記第1正レンズのd線に対するアッベ数をνL11P1とするとき、
60<νL11P1<100
なる条件式を満足することを特徴とする請求項1乃至9の何れか一項に記載のズームレンズ。
(【請求項11】以降は省略されています)
発明の詳細な説明
【技術分野】
【0001】
本発明は、ズームレンズに関し、デジタルビデオカメラ、デジタルスチルカメラ、放送用カメラ、銀塩フィルム用カメラ、監視用カメラ等に好適なものである。
続きを表示(約 1,800 文字)
【背景技術】
【0002】
従来、最も物体側に正の屈折力を有するレンズ群を配置して、長焦点距離と大口径比を実現したズームレンズが提案されている(特許文献1乃至3参照)。
【先行技術文献】
【特許文献】
【0003】
特開2013-167749号公報
特開2019-120773号公報
特開1994-289296号公報
【発明の開示】
【発明が解決しようとする課題】
【0004】
しかしながら、望遠端の焦点距離が長く、Fナンバーの小さいズームレンズは前玉径が大きく、重量が増加してしまう。特許文献1乃至3のズームレンズでは、軽量化が不十分である。軽量化を実現するためにはレンズ構成枚数を減らすことが有効であるが、レンズ構成枚数を減らすと高画質化を実現することが困難となる。
【0005】
本発明は、長焦点距離かつ大口径比でありながら小型軽量化と高画質化を両立したズームレンズを提供することを目的とする。
【課題を解決するための手段】
【0006】
本発明の一側面としてのズームレンズは、物体側から像側へ順に配置された、正の屈折力の第1レンズ群、2つのレンズ群からなる中間群、1以上のレンズ群を含む後群からなり、ズーミングに際して隣り合うレンズ群の間隔が変化するズームレンズであって、中間群は、中間レンズ群と負の屈折力の第2レンズ群とからなり、第1レンズ群は、物体側から像側へ順に配置された、正の屈折力の第1部分群、第2部分群からなり、前記第1部分群と前記第2部分群との光軸上の空気間隔は、前記第1レンズ群における光軸上の空気間隔のうち最大であり、第1部分群は、第1正レンズからなり、第2部分群は、第2正レンズと第1負レンズとを有し、第1正レンズは、第1部分群を構成するレンズのうち焦点距離の絶対値が最も小さいレンズであり、第1負レンズは、第2部分群を構成する負レンズのうち焦点距離の絶対値が最も小さいレンズであり、フォーカシングに際して、第1レンズ群は不動であり、第1部分群から第2部分群までの光軸上の距離をd11、第1部分群の焦点距離をf11、第1レンズ群の焦点距離をf1、第2レンズ群の焦点距離をf2とするとき、
0.08<d11/f11<0.50
0.74<f11/f1<1.30
-8<f1/f2<-2
なる条件式を満足することを特徴とする。
【発明の効果】
【0007】
本発明によれば、長焦点距離かつ大口径比でありながら小型軽量化と高画質化を両立したズームレンズを提供することができる。
【図面の簡単な説明】
【0008】
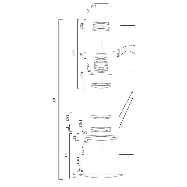
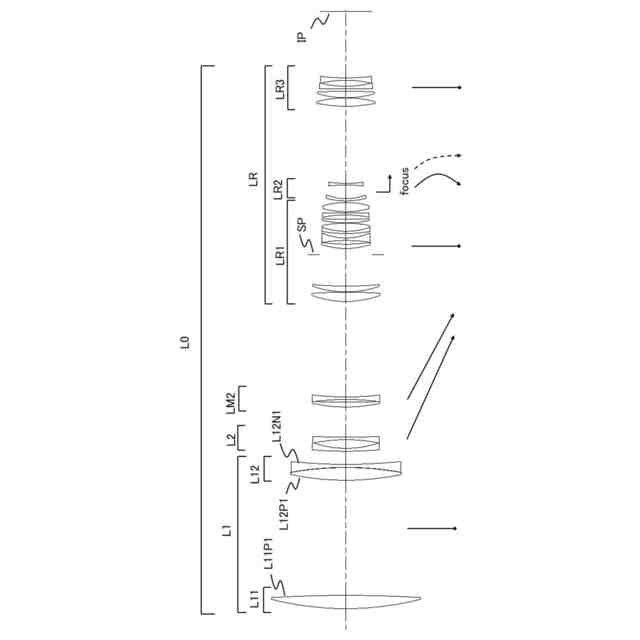
実施例1のズームレンズの無限遠合焦時の断面図である。
実施例1のズームレンズの無限遠合焦時の収差図である。
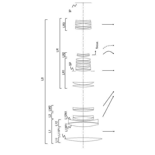
実施例2のズームレンズの無限遠合焦時の断面図である。
実施例2のズームレンズの無限遠合焦時の収差図である。
実施例3のズームレンズの無限遠合焦時の断面図である。
実施例3のズームレンズの無限遠合焦時の収差図である。
実施例4のズームレンズの無限遠合焦時の断面図である。
実施例4のズームレンズの無限遠合焦時の収差図である。
実施例5のズームレンズの無限遠合焦時の断面図である。
実施例5のズームレンズの無限遠合焦時の収差図である。
実施例6のズームレンズの無限遠合焦時の断面図である。
実施例6のズームレンズの無限遠合焦時の収差図である。
実施例7のズームレンズの無限遠合焦時の断面図である。
実施例7のズームレンズの無限遠合焦時の収差図である。
撮像装置の概略図である。
【発明を実施するための形態】
【0009】
以下、本発明の実施形態について、図面を参照しながら詳細に説明する。各図において、同一の部材については同一の参照番号を付し、重複する説明は省略する。
【0010】
図1,3,5,7,9,11,13はそれぞれ、実施例1乃至7のズームレンズの無限遠合焦時の断面図である。各実施例のズームレンズは、デジタルビデオカメラ、デジタルスチルカメラ、放送用カメラ、銀塩フィルム用カメラ、監視用カメラ等の撮像装置に用いられる。
(【0011】以降は省略されています)
この特許をJ-PlatPat(特許庁公式サイト)で参照する
関連特許
キヤノン株式会社
容器
1か月前
キヤノン株式会社
容器
1か月前
キヤノン株式会社
トナー
1か月前
キヤノン株式会社
トナー
1か月前
キヤノン株式会社
トナー
1か月前
キヤノン株式会社
トナー
1か月前
キヤノン株式会社
トナー
23日前
キヤノン株式会社
トナー
1か月前
キヤノン株式会社
現像装置
1か月前
キヤノン株式会社
撮像装置
1か月前
キヤノン株式会社
雲台装置
23日前
キヤノン株式会社
表示装置
2日前
キヤノン株式会社
表示装置
2日前
キヤノン株式会社
撮像装置
2日前
キヤノン株式会社
現像容器
1か月前
キヤノン株式会社
現像装置
1か月前
キヤノン株式会社
表示装置
1か月前
キヤノン株式会社
撮像装置
1か月前
キヤノン株式会社
撮像装置
18日前
キヤノン株式会社
定着装置
1か月前
キヤノン株式会社
定着装置
16日前
キヤノン株式会社
電子機器
23日前
キヤノン株式会社
測距装置
1か月前
キヤノン株式会社
撮像装置
1か月前
キヤノン株式会社
定着装置
10日前
キヤノン株式会社
撮像装置
2日前
キヤノン株式会社
撮像装置
23日前
キヤノン株式会社
記録装置
23日前
キヤノン株式会社
現像装置
1か月前
キヤノン株式会社
電子機器
23日前
キヤノン株式会社
撮像装置
4日前
キヤノン株式会社
定着装置
16日前
キヤノン株式会社
撮影装置
1か月前
キヤノン株式会社
記録装置
1か月前
キヤノン株式会社
撮像装置
1か月前
キヤノン株式会社
発光装置
2日前
続きを見る
他の特許を見る