TOP
|
特許
|
意匠
|
商標
特許ウォッチ
Twitter
他の特許を見る
公開番号
2025175155
公報種別
公開特許公報(A)
公開日
2025-11-28
出願番号
2025158439,2021114572
出願日
2025-09-24,2021-07-09
発明の名称
台車
出願人
岐阜プラスチック工業株式会社
代理人
弁理士法人北斗特許事務所
主分類
B62B
5/04 20060101AFI20251120BHJP(鉄道以外の路面車両)
要約
【課題】ブレーキペダル及び解除ペダルを下から蹴り上げる操作がなくてすむ台車を提供する。
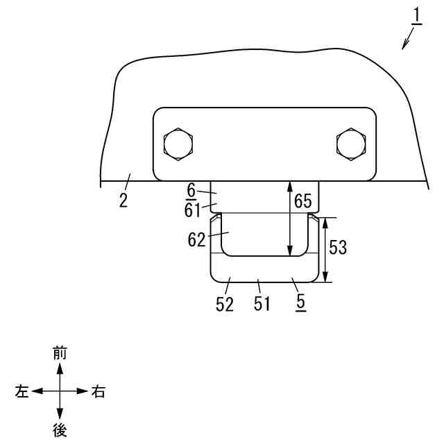
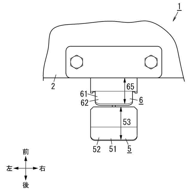
【解決手段】台車1は、台部2と、台部2の下側に設けられるキャスター3と、ブレーキ部材7と、ブレーキペダル5と、解除ペダル6と、を備える。ブレーキペダル5は、下方に踏まれると、ブレーキ部材7をキャスター3に押し付けてブレーキ状態とする。解除ペダル6は、下方に踏まれると、ブレーキ部材7をキャスター3から離間させて、ブレーキ状態を解除して解除状態とする。前後方向及び前後方向と直交する左右方向を規定する。ブレーキ状態及び解除状態において、解除ペダル6の踏面となる解除踏面61はブレーキペダル5の踏面となるブレーキ踏面51よりも上方に位置している。解除状態において、平面視におけるブレーキ露出踏面52の前後長さ53は、解除露出踏面62の前後長さ65よりも長い。
【選択図】図6
特許請求の範囲
【請求項1】
台部と、
前記台部の下側に設けられるキャスターと、
ブレーキ部材と、
下方に踏まれると、前記ブレーキ部材を前記キャスターに押し付けてブレーキ状態とするブレーキペダルと、
下方に踏まれると、前記ブレーキ部材を前記キャスターから離間させて、前記ブレーキ状態を解除して解除状態とする解除ペダルと、を備える台車であって、
前後方向及び前後方向と直交する左右方向を規定し、
前記ブレーキ状態及び前記解除状態において、前記解除ペダルの踏面となる解除踏面は前記ブレーキペダルの踏面となるブレーキ踏面よりも上方に位置しており、
前記ブレーキ踏面及び前記解除踏面は、前記台部の後端縁より突出する部分がそれぞれブレーキ露出踏面及び解除露出踏面となるものであり、
前記解除状態において、平面視における前記ブレーキ露出踏面の前後長さは、前記解除露出踏面の前後長さよりも長く、
前記ブレーキ状態において、平面視における前記解除露出踏面の前後長さは、前記ブレーキ露出踏面の前後長さよりも長く、
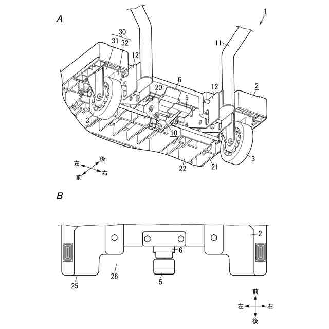
前記台部の後端辺の左右方向の中間部に、前方に凹む凹部が形成されており、
前記ブレーキペダルと前記解除ペダルは、前記台部の前記凹部に面する後端縁よりも後方に突出して前記凹部内に位置し、前記台部の前記後端辺よりも後方には突出しておらず、
前記ブレーキペダルは、前記ブレーキ部材が押し付けられる前記キャスターの前後方向における中心部よりも後方に位置しており、
前記ブレーキ部材は、前記ブレーキ部材が押し付けられる前記キャスターの前後方向における中心部よりも前方に位置しており、
前記ブレーキ部材が押し付けられる前記キャスターは、平面視において、前記台部の外側に位置しないように設けられている
ことを特徴とする台車。
続きを表示(約 670 文字)
【請求項2】
台部と、
前記台部の下側に設けられるキャスターと、
ブレーキ部材と、
下方に踏まれると、前記ブレーキ部材を前記キャスターに押し付けてブレーキ状態とするブレーキペダルと、
下方に踏まれると、前記ブレーキ部材を前記キャスターから離間させて、前記ブレーキ状態を解除して解除状態とする解除ペダルと、
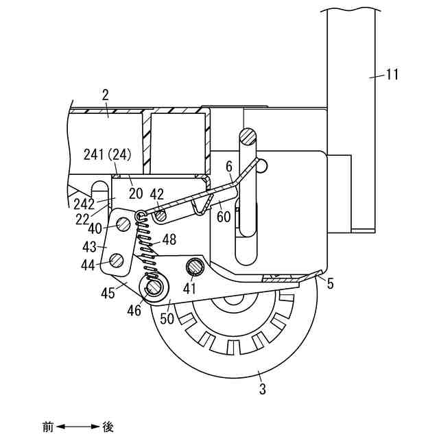
前記ブレーキペダルの回転中心となり前記ブレーキペダルを前記台部に対して回転自在となるように支持するブレーキペダル軸と、
前記解除ペダルの回転中心となり前記解除ペダルを前記台部に対して回転自在となるように支持する解除ペダル軸と、
第1リンク部材と、
前記第1リンク部材の回転中心となり前記第1リンク部材を前記台部に対して回転自在となるように支持する第1リンク軸と、
前記第1リンク部材に回転自在に連結される第2リンク部材と、
前記第2リンク部材の回転中心となり前記第2リンク部材を前記ブレーキペダルに対して回転自在となるように支持する第2リンク軸と、
前記第2リンク軸と前記解除ペダルとを連結するばね部材と、を備える台車であって、
前記ブレーキ状態及び前記解除状態において、前記解除ペダルの踏面となる解除踏面は前記ブレーキペダルの踏面となるブレーキ踏面よりも上方に位置しており、
前記解除ペダルは、前記ブレーキ状態にて前記解除踏面を踏まれた際に前記ブレーキペダルを押す押し部を有する
ことを特徴とする台車。
発明の詳細な説明
【技術分野】
【0001】
本発明は、台車に関し、さらに詳しくは、台部と、キャスターと、ブレーキペダルと、解除ペダルと、を備える台車に関する。
続きを表示(約 2,400 文字)
【背景技術】
【0002】
従来、運搬台車が知られている(例えば特許文献1参照)。この運搬台車は、運搬台の四隅底面に走行用のキャスタを設けた構成からなっており、キャスタを制動する制動装置が設けられている。制動装置は、操作ペダルを一端側に有する操作片と、ブレーキシューを備えたブレーキ片と、操作片の動きと連動してブレーキ片を制動方向又は制動解除方向に前後動させるカム機構とを有している。制動装置は、一つの操作ペダルで、キャスタを制動又は制動解除し得る。また、運搬台車は、ブレーキ片を制動解除方向に付勢するスプリングを有している。
【0003】
運搬台車の使用者が操作ペダルを略水平姿勢まで踏み込むと、操作片が傾動してブレーキ片が後方へ後退し、ブレーキシューがキャスタの車輪に押しつけられ制動が行われる。
【0004】
次に、操作ペダルを解放すると、スプリングの復帰力によりブレーキ片が前進してブレーキシューが車輪から離れ、これに伴い操作片を介して操作ペダルが略水平姿勢から斜め上向き姿勢へと戻る。
【先行技術文献】
【特許文献】
【0005】
特許3814195号公報
【発明の概要】
【発明が解決しようとする課題】
【0006】
特許文献1に記載された運搬台車にあっては、制動状態を継続するには操作ペダルを踏み続ける必要があり、制動状態を継続するために使用者の動作が制約されてしまい、使い勝手が悪いものであった。
【0007】
そこで、運搬台車に制動状態をロックしたりロック解除したりするロック装置を設けてもよい旨が特許文献1に記載されている。この運搬台車にロック装置を設けた場合、操作ペダルを踏み込むと、制動状態となると共にロック装置により制動状態がロックされるが、ロックを解除して制動解除するには、操作ペダルを下から蹴り上げる必要があり、ロック解除及び制動解除の操作がしにくいものであった。
【0008】
本発明は上記従来の問題点に鑑みて発明したものであって、下方に踏まれるブレーキペダルと、下方に踏まれる解除ペダルとを備え、ペダルを下から蹴り上げる操作がなくてすむ台車を提供することにある。
【課題を解決するための手段】
【0009】
上記課題を解決するために、本発明に係る一形態の台車は、台部と、前記台部の下側に設けられるキャスターと、ブレーキ部材と、下方に踏まれると、前記ブレーキ部材を前記キャスターに押し付けてブレーキ状態とするブレーキペダルと、下方に踏まれると、前記ブレーキ部材を前記キャスターから離間させて、前記ブレーキ状態を解除して解除状態とする解除ペダルと、を備える。前後方向及び前後方向と直交する左右方向を規定する。前記ブレーキ状態及び前記解除状態において、前記解除ペダルの踏面となる解除踏面は前記ブレーキペダルの踏面となるブレーキ踏面よりも上方に位置している。前記ブレーキ踏面及び前記解除踏面は、前記台部の後端縁より突出する部分がそれぞれブレーキ露出踏面及び解除露出踏面となるものである。前記解除状態において、平面視における前記ブレーキ露出踏面の前後長さは、前記解除露出踏面の前後長さよりも長い。前記ブレーキ状態において、平面視における前記解除露出踏面の前後長さは、前記ブレーキ露出踏面の前後長さよりも長い。前記台部の後端辺の左右方向の中間部に、前方に凹む凹部が形成されている。前記ブレーキペダルと前記解除ペダルは、前記台部の前記凹部に面する後端縁よりも後方に突出して前記凹部内に位置し、前記台部の前記後端辺よりも後方には突出していない。前記ブレーキペダルは、前記ブレーキ部材が押し付けられる前記キャスターの前後方向における中心部よりも後方に位置している。前記ブレーキ部材は、前記ブレーキ部材が押し付けられる前記キャスターの前後方向における中心部よりも前方に位置している。前記ブレーキ部材が押し付けられる前記キャスターは、平面視において、前記台部の外側に位置しないように設けられている。
本発明に係る他形態の台車は、台部と、前記台部の下側に設けられるキャスターと、ブレーキ部材と、下方に踏まれると、前記ブレーキ部材を前記キャスターに押し付けてブレーキ状態とするブレーキペダルと、下方に踏まれると、前記ブレーキ部材を前記キャスターから離間させて、前記ブレーキ状態を解除して解除状態とする解除ペダルと、前記ブレーキペダルの回転中心となり前記ブレーキペダルを前記台部に対して回転自在となるように支持するブレーキペダル軸と、前記解除ペダルの回転中心となり前記解除ペダルを前記台部に対して回転自在となるように支持する解除ペダル軸と、第1リンク部材と、前記第1リンク部材の回転中心となり前記第1リンク部材を前記台部に対して回転自在となるように支持する第1リンク軸と、前記第1リンク部材に回転自在に連結される第2リンク部材と、前記第2リンク部材の回転中心となり前記第2リンク部材を前記ブレーキペダルに対して回転自在となるように支持する第2リンク軸と、前記第2リンク軸と前記解除ペダルとを連結するばね部材と、を備える台車である。前記ブレーキ状態及び前記解除状態において、前記解除ペダルの踏面となる解除踏面は前記ブレーキペダルの踏面となるブレーキ踏面よりも上方に位置している。前記解除ペダルは、前記ブレーキ状態にて前記解除踏面を踏まれた際に前記ブレーキペダルを押す押し部を有する。
【発明の効果】
【0010】
本発明に係る台車にあっては、ブレーキペダル及び解除ペダルを下から蹴り上げる操作がなくてすむ。
【図面の簡単な説明】
(【0011】以降は省略されています)
この特許をJ-PlatPat(特許庁公式サイト)で参照する
関連特許
個人
カート
4か月前
個人
走行装置
5か月前
個人
三輪バイク
1か月前
個人
台車
12日前
個人
乗り物
6か月前
個人
電動走行車両
5か月前
個人
折り畳み自転車
12か月前
個人
発音装置
9か月前
個人
自転車用歩数計
1か月前
個人
電動モビリティ
9か月前
個人
駐輪設備
2か月前
個人
閂式ハンドル錠
5か月前
個人
ボギー・フレーム
3か月前
個人
ルーフ付きトライク
4か月前
個人
自由方向乗車自転車
9か月前
個人
ルーフ付きトライク
3か月前
個人
“zen-go.”
4か月前
個人
三輪電動車両
1か月前
個人
パワーアシスト自転車
3か月前
個人
キャンピングトライク
10か月前
井関農機株式会社
作業車両
1か月前
個人
車の室内高温防止屋根
26日前
個人
ステアリングの操向部材
10か月前
株式会社豊田自動織機
産業車両
6か月前
株式会社三五
リアサブフレーム
12か月前
個人
電動式ルーフ付きトライク
4日前
個人
電動式ルーフ付きトライク
4日前
個人
フロントフットブレーキ。
5か月前
個人
電動式ルーフ付きトライク
4日前
豊田鉄工株式会社
小型車両
4か月前
学校法人千葉工業大学
車両
11か月前
個人
乗用自動車のディフューザー
2か月前
学校法人千葉工業大学
車両
11か月前
個人
ホイールハブ駆動構造
5か月前
学校法人千葉工業大学
車両
11か月前
株式会社オカムラ
搬送用什器
9か月前
続きを見る
他の特許を見る