TOP
|
特許
|
意匠
|
商標
特許ウォッチ
Twitter
他の特許を見る
公開番号
2025175153
公報種別
公開特許公報(A)
公開日
2025-11-28
出願番号
2025158314,2021073613
出願日
2025-09-24,2021-04-23
発明の名称
III族窒化物結晶の製造装置及び製造方法
出願人
パナソニックホールディングス株式会社
代理人
個人
,
個人
主分類
C23C
16/44 20060101AFI20251120BHJP(金属質材料への被覆;金属質材料による材料への被覆;化学的表面処理;金属質材料の拡散処理;真空蒸着,スパッタリング,イオン注入法,または化学蒸着による被覆一般;金属質材料の防食または鉱皮の抑制一般)
要約
【課題】寄生成長を抑制し、高品質のIII族窒化物結晶を製造しうるIII族窒化物結晶の製造装置を提供する。
【解決手段】III族窒化物結晶の製造装置は、III族元素酸化物ガスを生成する原料チャンバと、原料チャンバから供給されるIII族元素酸化物ガスと窒素元素含有ガスとを反応させて種基板の上にIII族窒化物結晶を生成する育成チャンバと、を備え、育成チャンバは、未反応のIII族酸化物ガス及び窒素元素含有ガスを排気する排気口と種基板との間に未反応の窒素元素含有ガスの分解を促進する分解促進部を有する。
【選択図】図1
特許請求の範囲
【請求項1】
III族元素酸化物ガスを生成する原料チャンバと、
前記原料チャンバから供給される前記III族元素酸化物ガスと窒素元素含有ガスとを反応させて種基板の上にIII族窒化物結晶を生成する育成チャンバと、
を備え、
前記育成チャンバは、未反応の前記III族酸化物ガス及び前記窒素元素含有ガスを排気する排気口と前記種基板との間に未反応の前記窒素元素含有ガスの分解を促進する分解促進部を有する、
III族窒化物結晶の製造装置。
続きを表示(約 410 文字)
【請求項2】
前記分解促進部がMo、Ni、Fe、Co、Ti、Cr、Zr、Ta、W、及びPtからなる群から選択される少なくとも一つの元素を含む、
請求項1に記載のIII族窒化物結晶の製造装置。
【請求項3】
前記分解促進部の全表面積が前記育成チャンバの断面積に対して5倍以上である、
請求項1又は2に記載のIII族窒化物結晶の製造装置。
【請求項4】
III族元素源と反応性ガスとを反応させてIII族元素酸化物ガスを生成することと、
前記III族元素酸化物ガスと窒素元素含有ガスとを反応させて種基板の上にIII族窒化物結晶を生成することと、
前記種基板と未反応のIII族酸化物ガス及び窒素元素含有ガスを排気する排気口との間において、未反応の前記窒素元素含有ガスの一部を分解することと、
を含む、
III族窒化物結晶の製造方法。
発明の詳細な説明
【技術分野】
【0001】
本発明は、III族窒化物結晶の製造装置及び製造方法に関する。
続きを表示(約 2,000 文字)
【背景技術】
【0002】
GaN等のIII族窒化物結晶は、高出力LED(発光ダイオード)及びLD(レーザーダイオード)等の次世代光デバイスや、EV(電気自動車)及びPHV(プラグインハイブリッド自動車)等に搭載される高出力パワートランジスタ等の次世代電子デバイスへの応用が期待されている。III族窒化物結晶の製造方法として、III族酸化物を原料とするOxide Vapor Phase Epitaxy(OVPE)法が用いられている(例えば、特許文献1参照。)。
【0003】
OVPE法における反応系の例は、以下に示す通りである。Gaを加熱し、この状態で、H
2
Oガスを導入する。導入されたH
2
Oガスは、Gaと反応して、Ga
2
Oガスを生成させる(下記式(I))。そして、NH
3
ガスを導入し、NH
3
ガスを生成されたGa
2
Oガスと反応させて、種基板上にGaN結晶を生成する(下記式(II))。
2Ga(l)+H
2
O(g)→Ga
2
O(g)+H
2
(g)・・・(I)
Ga
2
O(g)+2NH
3
(g)→2GaN(s)+H
2
O(g)+2H
2
(g)・・・(II)
【先行技術文献】
【特許文献】
【0004】
国際公開第2015/053341号
【発明の概要】
【発明が解決しようとする課題】
【0005】
しかしながら、特許文献1に記載の製造方法では、III族窒化物結晶を成長させる際に、III族窒化物結晶の下流部において未反応のIII族酸化物ガスと窒素元素含有ガスとが反応し、リアクタの壁部や排気配管にIII族窒化物結晶の寄生成長が生じるおそれがある。寄生成長したIII族窒化物結晶(以下、「寄生結晶」という。)は、リアクタ壁部の材質と異なる熱膨張係数を有する。リアクタ壁部と寄生結晶との熱膨張係数差によって、III族窒化物結晶の製造における昇降温過程でリアクタの割れや欠けといった破損・劣化が生じる場合がある。さらに、リアクタ壁部で発生した寄生結晶は、III族窒化物結晶の成長空間でのパーティクル源となる。そのため、種基板上に成長したIII族窒化物結晶の上に寄生結晶のパーティクルが飛散する可能性があり、成長結晶の多結晶化やピットの発生などの異常成長が生じやすくなる。また、排気配管部で寄生成長が生じた場合、排気配管の閉塞による長時間成長の阻害要因となるおそれがある。
【0006】
本開示は、上記の問題を解決するものであり、寄生成長を抑制し、高品質のIII族窒化物結晶を製造しうるIII族窒化物結晶の製造装置及び製造方法を提供することを目的とする。
【課題を解決するための手段】
【0007】
本開示に係るIII族窒化物結晶の製造装置は、III族元素酸化物ガスを生成する原料チャンバと、原料チャンバから供給されるIII族酸化物ガスと窒素元素含有ガスとを反応させて種基板の上にIII族窒化物結晶を生成する育成チャンバと、を備える。育成チャンバは、未反応のIII族酸化物ガス及び窒素元素含有ガスを排気する排気口と種基板との間に未反応の前記窒素元素含有ガスの分解を促進する分解促進部を有する。
【0008】
本開示のIII族窒化物結晶の製造方法は、III族元素源と反応性ガスとを反応させてIII族元素酸化物ガスを生成することと、III族元素酸化物ガスと窒素元素含有ガスとを反応させて種基板の上にIII族窒化物結晶を生成することと、種基板と未反応のIII族酸化物ガス及び窒素元素含有ガスを排気する排気口との間において、未反応の窒素元素含有ガスの一部を分解することと、を含む。
【発明の効果】
【0009】
本開示に係るIII族窒化物結晶の製造装置及び製造方法によれば、寄生成長を抑制することができ、高品質なIII族窒化物結晶を製造することができる。
【図面の簡単な説明】
【0010】
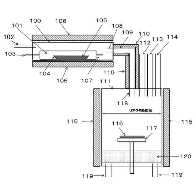
本開示の一実施の形態に係るIII族窒化物結晶の製造装置の構成を示す概略断面図である。
本開示の一実施の形態に係るIII族窒化物結晶の製造方法を示すフローチャートである。
育成チャンバの断面積で規格化した分解促進部の規格化表面積とNH
3
ガスの分解率との関係を表すグラフである。
【発明を実施するための形態】
(【0011】以降は省略されています)
この特許をJ-PlatPat(特許庁公式サイト)で参照する
関連特許
個人
フッ素樹脂塗装鋼板の保管方法
4か月前
株式会社京都マテリアルズ
めっき部材
2か月前
株式会社カネカ
製膜装置
2か月前
株式会社カネカ
製膜装置
2か月前
トヨタ自動車株式会社
治具
1か月前
株式会社KSマテリアル
防錆組成物
4か月前
株式会社三愛工業所
アルミニウム材
6か月前
日本化学産業株式会社
複合めっき皮膜
3か月前
エドワーズ株式会社
真空排気システム
1か月前
台灣晶技股ふん有限公司
無電解めっき法
3か月前
日東電工株式会社
積層体の製造方法
6か月前
東京エレクトロン株式会社
成膜方法
2か月前
株式会社カネカ
気化装置及び製膜装置
1か月前
JFEスチール株式会社
鋼部品
4か月前
株式会社内村
防食具、防食具の設置方法
2か月前
東京エレクトロン株式会社
基板処理装置
6か月前
TOTO株式会社
構造部材
1か月前
信越半導体株式会社
真空蒸着方法
6か月前
住友重機械工業株式会社
成膜装置
4か月前
株式会社アルバック
マスクユニット
1か月前
住友重機械工業株式会社
成膜装置
5か月前
黒崎播磨株式会社
溶射装置
2か月前
株式会社アルバック
基板ステージ装置
2か月前
株式会社デンソー
接合体
2か月前
フジタ技研株式会社
被覆部材、及び、表面被覆金型
2か月前
日本コーティングセンター株式会社
炭化ホウ素被膜
1か月前
国立大学法人千葉大学
成膜装置及び成膜方法
2か月前
ケニックス株式会社
蒸発源装置
3か月前
黒崎播磨株式会社
溶射用ランス
6か月前
川崎重工業株式会社
水素遮蔽膜
3か月前
株式会社アルバック
成膜装置、および搬送方法
4か月前
信越化学工業株式会社
炭化金属被覆材料
13日前
株式会社神戸製鋼所
成膜方法
4か月前
東京エレクトロン株式会社
成膜方法及び成膜装置
6か月前
学校法人静岡理工科大学
放電被覆装置及び放電被覆方法
3か月前
株式会社日本テクノ
ガス浸炭装置、浸炭室
1か月前
続きを見る
他の特許を見る