TOP
|
特許
|
意匠
|
商標
特許ウォッチ
Twitter
他の特許を見る
10個以上の画像は省略されています。
公開番号
2025175150
公報種別
公開特許公報(A)
公開日
2025-11-28
出願番号
2025158226,2024517570
出願日
2025-09-24,2022-03-04
発明の名称
小さなターゲットを使用して校正されるオーバーレイ誤差の測定
出願人
ケーエルエー コーポレイション
代理人
弁理士法人YKI国際特許事務所
主分類
G03F
9/00 20060101AFI20251120BHJP(写真;映画;光波以外の波を使用する類似技術;電子写真;ホログラフイ)
要約
【課題】オーバーレイ・ターゲットを使用する改良された計測のための製品を提供する。
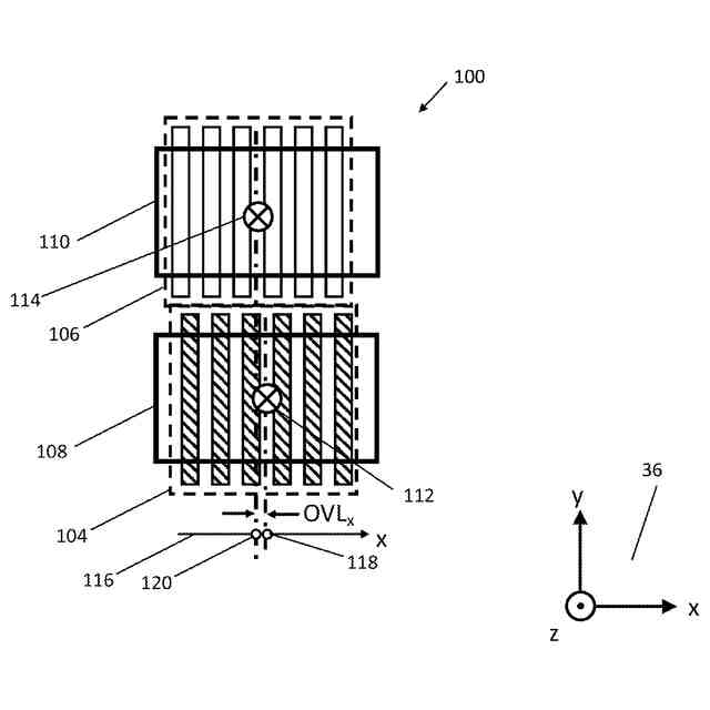
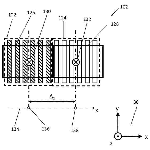
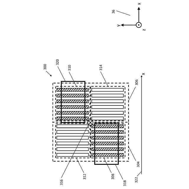
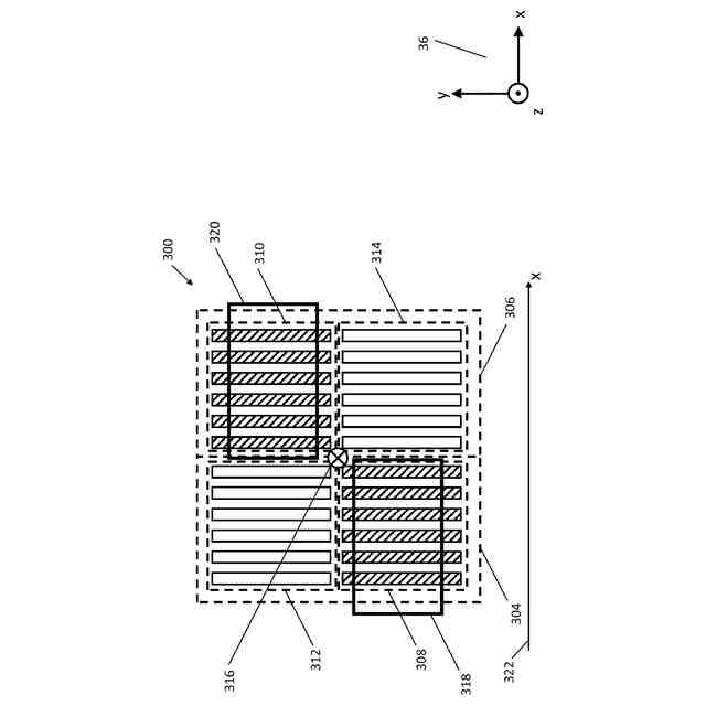
【解決手段】半導体基板と、第1および第2の薄膜層とを含む製品。第1および第2の薄膜層は、第1の薄膜層の上に第2の薄膜層が重なるように半導体基板上に配設される。第1および第2の薄膜層は、半導体基板上の第1の位置に配設され、第1の薄膜層内に形成された第1のターゲット特徴物と、第2の薄膜層内の第1のターゲット特徴物に隣接する位置に形成された第2のターゲット特徴物とを含む第1のオーバーレイ・ターゲットと、半導体基板上の第2の位置に配設され、第1のオーバーレイ・ターゲットと同一である第1の部分と、半導体基板の法線を中心に180°の回転対称性を有するように第1の部分に隣接して配設された第2の部分とを含む第2のオーバーレイ・ターゲットとを画成するようにパターニングされる。
【選択図】図5A
特許請求の範囲
【請求項1】
半導体基板と、
第1および第2の薄膜層と、
を含む、製品であって、前記第1および第2の薄膜層は、前記第1の薄膜層の上に前記第2の薄膜層が重なるように前記半導体基板上に配設され、前記第1および第2の薄膜層は、
第1のオーバーレイ・ターゲットであって、前記半導体基板上の第1の位置に配設され、前記第1の薄膜層内に形成された第1のターゲット特徴物と、前記第2の薄膜層内の、前記第1のターゲット特徴物に隣接する位置に形成された第2のターゲット特徴物とを含む、第1のオーバーレイ・ターゲットと、
第2のオーバーレイ・ターゲットであって、前記半導体基板上の第2の位置に配設され、前記第1のオーバーレイ・ターゲットと同一である第1の部分と、前記第2のオーバーレイ・ターゲットが前記半導体基板の法線を中心に180°の回転対称性を有するように前記第1の部分に隣接して配設された第2の部分とを含む、第2のオーバーレイ・ターゲットと、
を画成するようにパターニングされ、
前記半導体基板がスクライブラインによって分離されたダイを含み、
前記第1のオーバーレイ・ターゲットは前記第2のオーバーレイ・ターゲットよりもサイズが小さいハーフターゲットとして機能し、
相対的にサイズの小さい前記第1のオーバーレイ・ターゲットはダイのデバイス領域に配設され、相対的にサイズの大きい前記第2のオーバーレイ・ターゲットは前記スクライブラインの1つに配設される、
製品。
続きを表示(約 510 文字)
【請求項2】
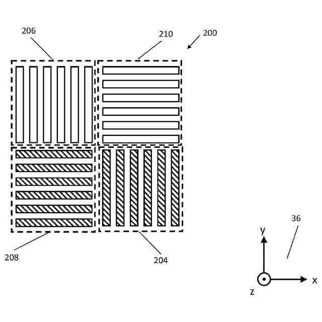
前記第2のオーバーレイ・ターゲットの前記第2の部分が、回転させた前記第1の部分のコピーを含む、請求項1に記載の製品。
【請求項3】
前記第1のオーバーレイ・ターゲットが、複数の第1のオーバーレイ・ターゲットのうちの1つであり、前記第1のオーバーレイ・ターゲットはそれぞれ、前記半導体基板の異なるそれぞれの位置に配設された前記第1および第2のターゲット特徴物を含んでいる、請求項1に記載の製品。
【請求項4】
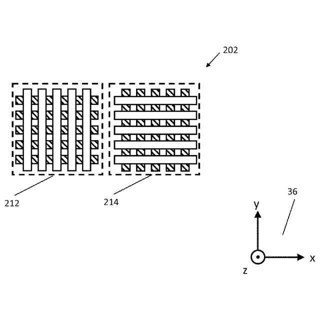
前記第1のターゲット特徴物が、前記第1の薄膜層内で第1の方向に沿って配向された第1の直線状の格子を含み、前記第2のターゲット特徴物が、前記第2の薄膜層内で前記第1の方向に沿って配向された第2の直線状の格子を含む、請求項1に記載の製品。
【請求項5】
前記第1のターゲット特徴物がさらに、前記第1の薄膜層内で第2の方向に沿って配向された第3の直線状の格子を含み、前記第2の方向は、前記第1の方向と平行ではなく、前記第2のターゲット特徴物が、前記第2の薄膜層内で前記第2の方向に配向された第4の直線状の格子を含む、請求項4に記載の製品。
発明の詳細な説明
【技術分野】
【0001】
関連出願の相互参照
本願は、2022年1月13日に出願された米国仮特許出願第63/299,010号の利益を主張し、この出願を参照によりここに援用する。
続きを表示(約 2,500 文字)
【0002】
本発明は、一般に、半導体デバイスの製造に関し、詳細には、半導体回路計測のための方法およびターゲット特徴物に関する。
【背景技術】
【0003】
半導体回路は通例、フォトリソグラフィ法を用いて製造される。フォトリソグラフィでは、半導体基板に感光性ポリマー(フォトレジスト)の薄い層を成膜し、その層を光またはその他の放射を使ってパターニングすることで、基板が部分的にフォトレジストで覆われた状態になる。フォトレジストのパターニングは、スキャナが典型的には紫外放射を使用して、レチクルの像をフォトレジスト上に投影することによって行われる。パターニング後、上記基板に、その物性および/または表面形状(トポグラフィ:topography)を変えるエッチングやイオン衝撃などの方法で、変更を加える。ただしその基板のフォトレジストで覆われた部分は影響を受けない。
【0004】
このパターニング後のフォトレジストの特性、例えばパターニングされた特徴物の表面形状や位置などを、半導体回路計測を使用して測定する。フォトリソグラフィ工程の高い歩留まりを達成するには、フォトレジストにあるパターニングされた特徴物の位置が、1つ前にパターニングされたプロセス層に対して正確であることが重要になる。パターニング後のフォトレジストの、下のプロセス層に対する位置合わせの誤差(位置ずれ)のことを「オーバーレイ誤差」と呼ぶ。一例として、最小線幅が10~14nm(いわゆる10nmデザインルール)の典型的な半導体回路では、最大許容オーバーレイ誤差は2~3nmである。最先端の半導体回路では、線幅が5nmまで狭くなっており、それに伴い最大許容オーバーレイ誤差も小さくなっている。
【0005】
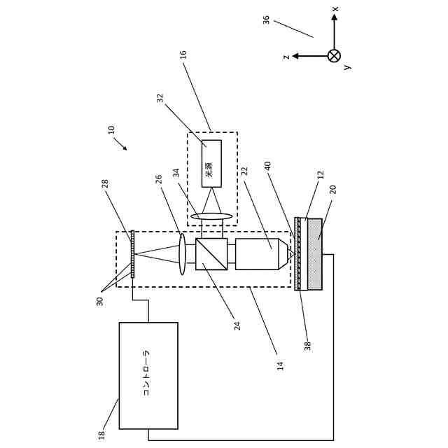
オーバーレイ誤差は一般に、光学式のオーバーレイ計測装置(いわゆる光学オーバーレイ計測ツール)を使用して測定する。その理由は、可視波長および赤外波長の光放射が、フォトレジスト層だけでなく、その下の誘電体層も通過できるためである。さらに、赤外波長はシリコンなどの半導体基板を通過でき、それによって半導体基板を透かした計測が可能になる。オーバーレイ誤差は、半導体基板のスクライブライン(隣接するダイを分離するライン)および/またはダイ内に位置するオーバーレイ・ターゲットに基づいて測定される。
【0006】
一般的に使用されるオーバーレイ計測ツールは、散乱計測ツールと画像処理ツールの2つのカテゴリのいずれかに分類される。KLA Corporation(米国カリフォルニア州ミルピタス)のATL100(登録商標)ツールなどの散乱計測ツールは、計測ツールの対物レンズの射出瞳からオーバーレイ・ターゲットの周期的ターゲット特徴物の回折(散乱計測)像を取り込む。この散乱計測像は、ターゲット特徴物から散乱される光放射の角度分布を示すものであり、その像を処理してオーバーレイ誤差を測定する。
【0007】
画像処理ツール、例えばKLA Corporation(米国カリフォルニア州ミルピタス)のArcher(登録商標)シリーズのツールなどでは、オーバーレイ・ターゲット(KLA社AIM(登録商標)オーバーレイ・ターゲットなど)を撮像する。これで得られた画像に画像解析アルゴリズムを適用して、プロセス層にあるターゲット特徴物の対称中心と、フォトレジスト層にあるターゲット特徴物の対称中心の位置を特定する。これら2つの層のターゲット特徴物の対称中心間の変位に基づいて、オーバーレイ誤差を算定する。
本明細書および特許請求の範囲で使用する「光放射」および「光」という用語は一般に、あらゆる可視放射、赤外放射および紫外放射を示す。
【先行技術文献】
【特許文献】
【0008】
米国特許出願公開第2005/0193362号
米国特許出願公開第2013/0107259号
【発明の概要】
【発明が解決しようとする課題】
【0009】
以下に記載の本発明の実施形態では、オーバーレイ・ターゲットを使用する改良された計測のための方法およびシステム、ならびにかかる方法で使用するためのターゲットを提供する。
【課題を解決するための手段】
【0010】
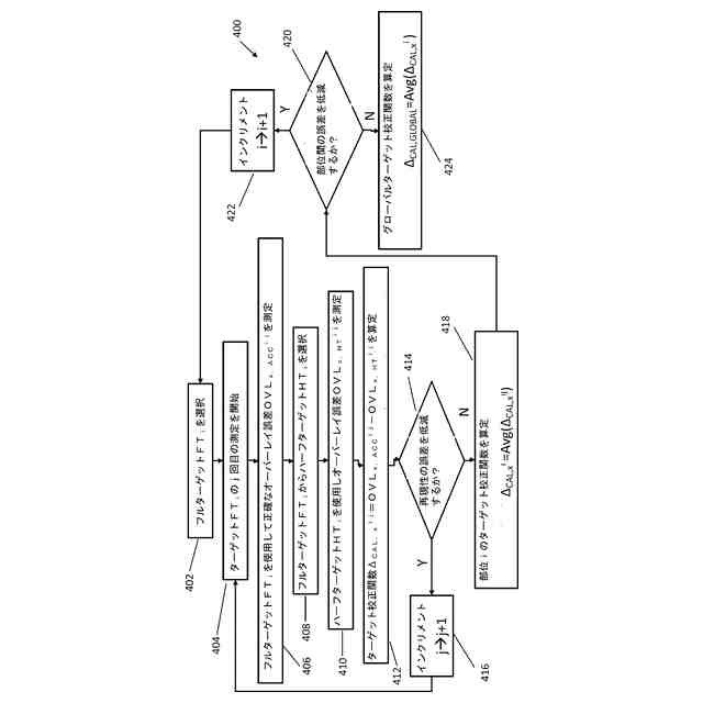
したがって、本発明の一実施形態に従って、半導体計測のための方法が提供される。上記方法は、半導体基板上に第1の薄膜層を成膜し、上記第1の薄膜層の上に第2の薄膜層を成膜するステップと、上記第1および第2の薄膜層をパターニングして、第1のオーバーレイ・ターゲットおよび第2のオーバーレイ・ターゲットを画成するステップとを含む。上記第1のオーバーレイ・ターゲットは上記半導体基板上の第1の位置に配設され、上記第1の薄膜層内に形成された第1のターゲット特徴物と、上記第2の薄膜層内の、上記第1のターゲット特徴物に隣接する位置に形成された第2のターゲット特徴物とを含む。上記第2のオーバーレイ・ターゲットは上記半導体基板上の第2の位置に配設され、上記第1のオーバーレイ・ターゲットと同一である第1の部分と、上記第2のオーバーレイ・ターゲットが上記半導体基板の法線を中心に180°の回転対称性を有するように上記第1の部分に隣接して配設された第2の部分とを含む。上記方法はさらに、撮像組立体を使用して、上記第2のオーバーレイ・ターゲットの第1の画像を取り込むステップと、上記第1の画像を処理して、上記第2のオーバーレイ・ターゲットの上記第1および第2の部分の両方に基づいてターゲット校正関数を算定するステップと、上記撮像組立体を使用して、上記第1のオーバーレイ・ターゲットの第2の画像を取り込むステップと、上記ターゲット校正関数を適用しながら上記第2の画像を処理して、上記第1の位置における上記第1および第2の薄膜層のパターン間のオーバーレイ誤差を推定するステップとを含む。
(【0011】以降は省略されています)
この特許をJ-PlatPat(特許庁公式サイト)で参照する
関連特許
個人
表示装置
1か月前
個人
雨用レンズカバー
1か月前
株式会社シグマ
絞りユニット
2か月前
日本精機株式会社
車両用投射装置
1か月前
キヤノン株式会社
撮像装置
4日前
キヤノン株式会社
撮像装置
2か月前
キヤノン株式会社
撮像装置
2か月前
平和精機工業株式会社
雲台
3か月前
キヤノン株式会社
撮像装置
1か月前
キヤノン株式会社
撮像装置
2か月前
キヤノン株式会社
撮像装置
1か月前
キヤノン株式会社
撮像装置
1か月前
株式会社リコー
画像形成装置
2か月前
株式会社リコー
画像形成装置
1か月前
株式会社リコー
画像形成装置
3か月前
株式会社リコー
画像形成装置
3か月前
株式会社リコー
画像形成装置
2か月前
株式会社リコー
画像形成装置
27日前
株式会社リコー
画像形成装置
1か月前
株式会社リコー
画像形成装置
4か月前
株式会社リコー
画像形成装置
1か月前
株式会社リコー
画像形成装置
3か月前
株式会社リコー
画像形成装置
18日前
キヤノン株式会社
トナー
1か月前
キヤノン株式会社
トナー
2か月前
シャープ株式会社
画像形成装置
3か月前
株式会社オプトル
プロジェクタ
2か月前
キヤノン株式会社
トナー
1か月前
ブラザー工業株式会社
再生方法
3か月前
キヤノン株式会社
画像形成装置
1か月前
キヤノン株式会社
画像形成装置
1か月前
株式会社オプトル
プロジェクタ
3か月前
キヤノン株式会社
トナー
3か月前
キヤノン株式会社
画像形成装置
12日前
キヤノン株式会社
画像形成装置
3か月前
キヤノン株式会社
画像形成装置
3か月前
続きを見る
他の特許を見る