TOP
|
特許
|
意匠
|
商標
特許ウォッチ
Twitter
他の特許を見る
公開番号
2025174931
公報種別
公開特許公報(A)
公開日
2025-11-28
出願番号
2025082079
出願日
2025-05-15
発明の名称
UIジェスチャ呼び出しのための状態マシン及び拒絶基準
出願人
アップル インコーポレイテッド
,
Apple Inc.
代理人
弁理士法人大塚国際特許事務所
主分類
G06F
3/01 20060101AFI20251120BHJP(計算;計数)
要約
【課題】UIジェスチャ呼び出しのための状態マシン及び拒絶基準の方法およびシステムを提供する。
【解決手段】特定の手のひらの向きを有する入力ジェスチャは、頭部に対する手の幾何学的特性に基づいて検出される。視線情報は、ハンドジェスチャ状態を決定するために使用される。ジェスチャ状態とは、手のひらアップジェスチャ又は手のひらフリップジェスチャを指す。手の向きの状態マシンは、幾何学的特性に基づいて手の向きの状態を決定するために使用される。ジェスチャ検出状態マシンは、手の向きの状態及び視線ベクトルに基づいてハンドジェスチャを決定するために使用される。ハンドジェスチャ状態に基づいてアクションが呼び出される。
【選択図】図3
特許請求の範囲
【請求項1】
方法であって、
ジェスチャを実行するユーザの頭部に対する手の幾何学的特性を決定することと、
前記ユーザの視線ベクトルを決定することと、
前記視線ベクトルと、前記ユーザの前記頭部に対する前記手の前記幾何学的特性とに基づいて、複数の候補ハンドジェスチャ状態からハンドジェスチャ状態を決定することと、
前記ハンドジェスチャ状態が入力ジェスチャに対応するとの決定に応じて、前記入力ジェスチャに対応するアクションを呼び出すことと、
を含む、方法。
続きを表示(約 1,500 文字)
【請求項2】
ユーザの頭部に対する手の幾何学的特性を決定することは、
前記ジェスチャを実行する前記手の手追跡データを取得することと、
前記ユーザの頭部ベクトルを取得することと、を含む、請求項1に記載の方法。
【請求項3】
前記候補ハンドジェスチャ状態は、手のひらアップ状態、手のひらフリップ状態、及び無効状態を含む、請求項1に記載の方法。
【請求項4】
前記ハンドジェスチャ状態を決定することは、
前記頭部に対する前記手の前記幾何学的特性に基づいて、複数の候補の手の向きの状態から手の向きの状態を決定することと、
前記手の向きの状態及び前記視線ベクトルに基づいて、前記ハンドジェスチャ状態を決定することと、を含む、請求項1に記載の方法。
【請求項5】
前記手の向きの状態は、1)前記ユーザの頭部に向かう前記ユーザの手のひらの相対ポジションを示す手のひらアップから頭部角度、2)前記ユーザの頭部に対する前記ユーザの前記手のひらの指している方向を示す手のひら前方から頭部y角度、及び3)上方向に向かう前記手のひらの相対ポジションを示す手のひらアップから頭部y角度からなる群のうちの1つ以上に基づいて、手の向きの状態マシンを使用して決定される、請求項4に記載の方法。
【請求項6】
前記ハンドジェスチャ状態は、ジェスチャ検出状態マシンを使用して、1)前記ハンドジェスチャ状態と、2)視線基準が満たされているかどうかの判定とからなる群のうちの1つ以上に基づいて決定される、請求項4に記載の方法。
【請求項7】
前記視線基準が満たされているかどうかを判定することは、
前記視線ベクトルのターゲットが、前記手、コントローラ、及びユーザ入力コンポーネントのうちの少なくとも1つの閾値距離内にあるかどうかを判定することを含む、請求項6に記載の方法。
【請求項8】
コントローラ追跡データを取得することと、
前記コントローラ追跡データに基づいて、コントローラの向きを決定することと、を更に含み、
前記ハンドジェスチャ状態を決定することは、
前記頭部に対する前記コントローラの向きの前記幾何学的特性に基づいて、複数の候補の手の向きの状態から手の向きの状態を決定することと、
前記コントローラの向き状態及び前記視線ベクトルに基づいて、前記ハンドジェスチャ状態を決定することと、を含む、請求項4に記載の方法。
【請求項9】
コンピュータ可読コードを含む非一時的コンピュータ可読媒体であって、前記コンピュータ可読コードは、
ジェスチャを実行するユーザの頭部に対する手の幾何学的特性を決定し、
前記ユーザの視線ベクトルを決定し、
前記視線ベクトルと、前記ユーザの前記頭部に対する前記手の前記幾何学的特性とに基づいて、複数の候補ハンドジェスチャ状態からハンドジェスチャ状態を決定し、
前記ハンドジェスチャ状態が入力ジェスチャに対応するとの決定に応じて、前記入力ジェスチャに対応するアクションを呼び出す、ように、1つ以上のプロセッサによって実行可能である、非一時的コンピュータ可読媒体。
【請求項10】
ユーザの頭部に対する手の幾何学的特性を決定するための前記コンピュータ可読コードは、
前記ジェスチャを実行する前記手の手追跡データを取得し、
前記ユーザの頭部ベクトルを取得する、ためのコンピュータ可読コードを含む、請求項9に記載の非一時的コンピュータ可読媒体。
(【請求項11】以降は省略されています)
発明の詳細な説明
【技術分野】
【0001】
いくつかのデバイスは、拡張現実(XR)環境を生成し、提示することができる。XR環境は、人々が電子システムを介して感知し、及び/又は相互作用する、完全に又は部分的にシミュレーションされた環境を含み得る。XRでは、人物の身体運動のサブセット又はその表現が追跡され、それに応じて、XR環境内でシミュレートされた1つ以上の仮想オブジェクトの1つ以上の特性が、現実的な特性でふるまうように調節される。いくつかの実施形態では、ユーザは、ジェスチャを使用して、仮想コンテンツと相互作用してもよい。例えば、ユーザは、ジェスチャを使用して、コンテンツを選択する、アクティビティを開始するなどを行うことができる。しかしながら、必要とされるのは、手のポーズの決定を改善するための改善された技法である。
続きを表示(約 700 文字)
【図面の簡単な説明】
【0002】
1つ以上の実施形態による、入力ポーズとして手のポーズを使用するユーザの例示的な図を示す。
1つ以上の実施形態による、入力ポーズとして手のポーズを使用するユーザの例示的な図を示す。
【0003】
いくつかの実施形態による、1つ以上の実施形態による、代替の手のポーズを入力ポーズとして使用するユーザの例示的な図である。
いくつかの実施形態による、1つ以上の実施形態による、代替の手のポーズを入力ポーズとして使用するユーザの例示的な図である。
【0004】
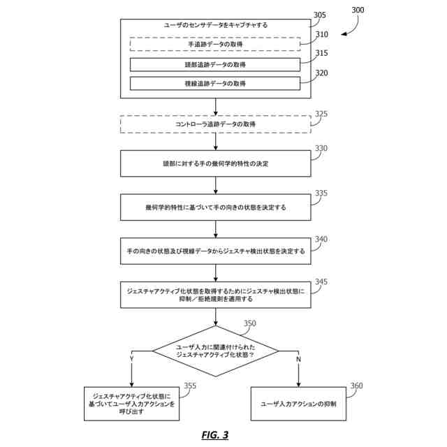
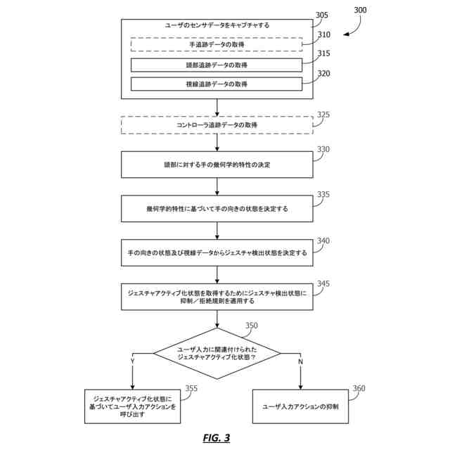
いくつかの実施形態による、手が入力ポーズにあるかどうかを判定するための技術のフローチャートを示す。
【0005】
いくつかの実施形態による、手と頭部の相対的な特性を決定するための技術のフローチャートを示す。
【0006】
1つ以上の実施形態による、手のひらポジション状態を決定するための手の向きの状態マシンを示す。
【0007】
1つ以上の実施形態による、視線基準が満たされているかどうかを判定するための技術のフローチャートを示す。
【0008】
1つ以上の実施形態による、視線ターゲットの図を示す。
【0009】
1つ以上の実施形態による、ハンドジェスチャ状態を決定するためのジェスチャ検出状態マシンを示す。
【0010】
1つ以上の実施形態による、ハンドジェスチャのアクティブ化及び抑制のための状態マシンを示す。
(【0011】以降は省略されています)
この特許をJ-PlatPat(特許庁公式サイト)で参照する
関連特許
個人
詐欺保険
1か月前
個人
縁伊達ポイン
1か月前
個人
職業自動販売機
15日前
個人
5掛けポイント
22日前
個人
RFタグシート
1か月前
個人
地球保全システム
1か月前
個人
ペルソナ認証方式
1か月前
個人
QRコードの彩色
1か月前
個人
情報処理装置
25日前
個人
自動調理装置
1か月前
個人
残土処理システム
1か月前
個人
農作物用途分配システム
1か月前
個人
表変換編集支援システム
2か月前
個人
タッチパネル操作指代替具
1か月前
個人
インターネットの利用構造
29日前
個人
知的財産出願支援システム
1か月前
個人
サービス情報提供システム
17日前
個人
スケジュール調整プログラム
1か月前
個人
パスワード管理支援システム
2か月前
個人
行動時間管理システム
2か月前
個人
携帯端末障害問合せシステム
1か月前
株式会社キーエンス
受発注システム
1か月前
株式会社キーエンス
受発注システム
1か月前
個人
食品レシピ生成システム
1か月前
個人
海外支援型農作物活用システム
2か月前
株式会社キーエンス
受発注システム
1か月前
個人
システム及びプログラム
2か月前
個人
AIキャラクター制御システム
2か月前
個人
エリアガイドナビAIシステム
1か月前
株式会社ワコム
電子ペン
24日前
株式会社ケアコム
項目選択装置
25日前
トヨタ自動車株式会社
通知装置
1か月前
エッグス株式会社
情報処理装置
1か月前
個人
帳票自動生成型SaaSシステム
1か月前
株式会社ケアコム
項目選択装置
25日前
サクサ株式会社
中継装置
2か月前
続きを見る
他の特許を見る