TOP
|
特許
|
意匠
|
商標
特許ウォッチ
Twitter
他の特許を見る
公開番号
2025174827
公報種別
公開特許公報(A)
公開日
2025-11-28
出願番号
2024210772
出願日
2024-12-03
発明の名称
画像処理装置、画像処理方法
出願人
キヤノン株式会社
代理人
弁理士法人大塚国際特許事務所
主分類
H04N
23/71 20230101AFI20251120BHJP(電気通信技術)
要約
【課題】 被写体の検出に適した露出制御を可能にするための技術を提供すること。
【解決手段】 画像処理装置は、非可視光を用いた撮像により得られる第1画像から検出された被写体の領域のうち、可視光を用いた撮像により得られる第2画像から検出された被写体の領域に対応していない領域を特定する。そして画像処理装置は、該特定した領域に基づいて、可視光を用いた撮像のための露出を制御する。
【選択図】 図1
特許請求の範囲
【請求項1】
非可視光を用いた撮像により得られる第1画像から検出された被写体の領域のうち、可視光を用いた撮像により得られる第2画像から検出された被写体の領域に対応していない領域を特定する特定手段と、
前記特定手段が特定した領域に基づいて、可視光を用いた撮像のための露出を制御する制御手段と
を備えることを特徴とする画像処理装置。
続きを表示(約 920 文字)
【請求項2】
前記特定手段は、前記第1画像から検出された被写体の領域のうち、前記第2画像から検出された被写体の領域との重なりの割合が閾値未満となる領域を特定することを特徴とする請求項1に記載の画像処理装置。
【請求項3】
前記制御手段は、前記特定手段が特定した領域のうち、規定の指標で明るさが近いと判断される領域に基づいて、可視光を用いた撮像のための露出を制御することを特徴とする請求項1に記載の画像処理装置。
【請求項4】
前記制御手段は、前記特定手段が特定した領域のうち、フレーム間で移動速度が閾値以上となる被写体の領域に基づいて、可視光を用いた撮像のための露出を制御することを特徴とする請求項1に記載の画像処理装置。
【請求項5】
前記制御手段は、前記特定手段が特定した領域のうち、画角の端部から規定距離以内の被写体の領域に基づいて、可視光を用いた撮像のための露出を制御することを特徴とする請求項1に記載の画像処理装置。
【請求項6】
前記制御手段は、前記特定手段が特定した領域の平均輝度値を求め、該平均輝度値と目標輝度値との差分に基づいて、可視光を用いた撮像のための露出を制御することを特徴とする請求項1に記載の画像処理装置。
【請求項7】
さらに、
前記特定手段が特定した領域を追尾する追尾手段を備えることを特徴とする請求項1に記載の画像処理装置。
【請求項8】
前記追尾手段は、前記制御手段による露光の制御の後の領域を追尾することを特徴とする請求項7に記載の画像処理装置。
【請求項9】
前記第1画像および前記第2画像は、可視光センサおよび非可視光センサを有する単一の撮像装置により撮像される
ことを特徴とする請求項1に記載の画像処理装置。
【請求項10】
前記第1画像および前記第2画像は、可視光用の画素と非可視光用の画素を1つのセンサに備えた撮像装置により撮像される
ことを特徴とする請求項1に記載の画像処理装置。
(【請求項11】以降は省略されています)
発明の詳細な説明
【技術分野】
【0001】
本発明は、画像処理技術に関する。
続きを表示(約 2,100 文字)
【背景技術】
【0002】
可視光カメラと非可視光(赤外線)カメラとを有する撮像システムが知られている(例えば特許文献1)。特許文献1において、可視光カメラと非可視光(赤外線)カメラとは、ほぼ同じアングルかつほぼ同じ撮像倍率でオブジェクトの検出を行う対象エリアを撮像する。特許文献1では、可視光カメラにより撮像された可視光画像と、非可視光カメラにより撮像された赤外線画像(温度分布画像)と、において、それぞれオブジェクト検出が実施される。特許文献1では、赤外線画像と可視光画像のそれぞれの検出結果のスコアを周囲の赤外エネルギーに基づいて重みづけ加算し、その結果に基づいて検出対象が存在する領域を判定し、その領域に基づいて可視光画像の露出補正を実施している。
【先行技術文献】
【特許文献】
【0003】
特許第6356925号
【発明の概要】
【発明が解決しようとする課題】
【0004】
しかしながら、特許文献1には、複数の被写体を検出した場合の露出補正方法について詳細な記載がない。特許文献1では、複数の被写体に同時に露出補正を行った場合、被写体の明るさによっては、全ての被写体に対して好適な露出補正が行えない場合がある。また、一部の被写体を選択して露出補正を行っても、他方の被写体に対しては好適な露出とはならない場合がある。本発明では、被写体の検出に適した露出制御を可能にするための技術を提供する。
【課題を解決するための手段】
【0005】
本発明の一様態は、非可視光を用いた撮像により得られる第1画像から検出された被写体の領域のうち、可視光を用いた撮像により得られる第2画像から検出された被写体の領域に対応していない領域を特定する特定手段と、前記特定手段が特定した領域に基づいて、可視光を用いた撮像のための露出を制御する制御手段とを備えることを特徴とする。
【発明の効果】
【0006】
本発明によれば、被写体の検出に適した露出制御を可能にすることができる。
【図面の簡単な説明】
【0007】
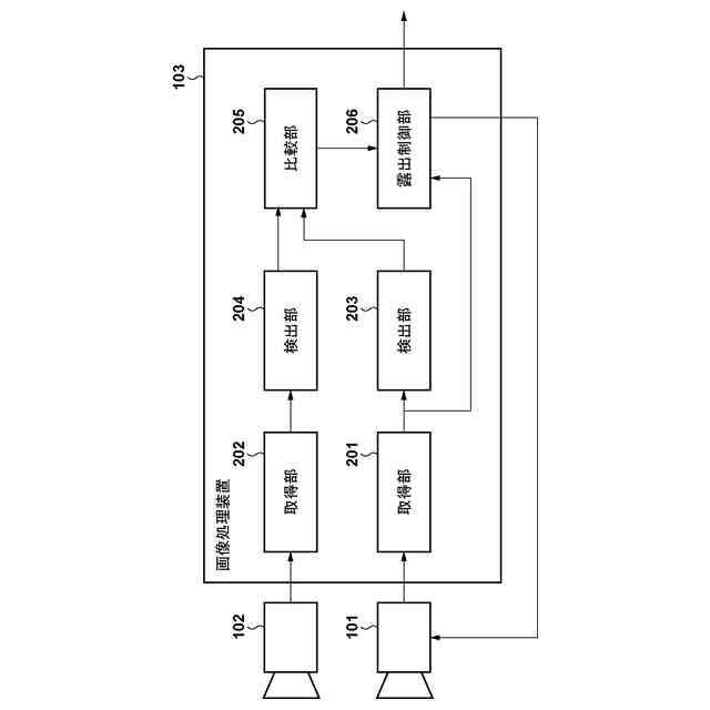
システムの機能構成例を示すブロック図。
画像処理装置103による可視光カメラ101の露出制御のフローチャート。
(a)は可視光画像の一例を示す図で、(b)は非可視光画像の一例を示す図。
(a)は可視光画像の一例を示す図で、(b)は非可視光画像の一例を示す図。
(a)は可視光画像の一例を示す図で、(b)は非可視光画像の一例を示す図。
システムの機能構成例を示すブロック図。
画像処理装置103による被写体追尾処理のフローチャート。
(a)は可視光画像の一例を示す図で、(b)は非可視光画像の一例を示す図。
画像処理装置103に適用可能なコンピュータ装置のハードウェア構成例を示すブロック図。
(a)は可視光画像の一例を示す図で、(b)は非可視光画像の一例を示す図。
【発明を実施するための形態】
【0008】
以下、添付図面を参照して実施形態を詳しく説明する。尚、以下の実施形態は特許請求の範囲に係る発明を限定するものではない。実施形態には複数の特徴が記載されているが、これらの複数の特徴の全てが発明に必須のものとは限らず、また、複数の特徴は任意に組み合わせられてもよい。さらに、添付図面においては、同一若しくは同様の構成に同一の参照番号を付し、重複した説明は省略する。
【0009】
[第1の実施形態]
本実施形態に係るシステムの機能構成例について、図1のブロック図を用いて説明する。図1に示す如く、本実施形態に係るシステムは、可視光を用いた撮像を行う撮像装置である可視光カメラ101と、該可視光カメラ101では撮像できない非可視光を用いた撮像を行う撮像装置である非可視光カメラ102と、可視光カメラ101の露出を制御する画像処理装置103と、を有する。可視光カメラ101と画像処理装置103とは、LANやインターネットなどのネットワークを介して直接的若しくは間接的に接続されている。同様に、非可視光カメラ102と画像処理装置103とは、LANやインターネットなどのネットワークを介して直接的若しくは間接的に接続されている。しかし、可視光カメラ101と画像処理装置103との間、非可視光カメラ102と画像処理装置103との間、の接続形態については特定の接続形態に限らない。
【0010】
可視光カメラ101は、1以上のレンズを含む結像光学系と、該結像光学系により形成された光学像を撮像して電気信号に変換する可視光撮像素子(可視光センサ)と、該電気信号に基づいて撮像画像を生成する画像処理回路と、を有する。可視光センサは、例えば波長約380nmから約750nmの範囲の可視光を検出する。可視光センサは、近赤外線の波長領域の少なくとも一部において感度を有していてもよい。
(【0011】以降は省略されています)
この特許をJ-PlatPat(特許庁公式サイト)で参照する
関連特許
キヤノン株式会社
容器
1か月前
キヤノン株式会社
容器
1か月前
キヤノン株式会社
トナー
1か月前
キヤノン株式会社
トナー
22日前
キヤノン株式会社
定着装置
15日前
キヤノン株式会社
表示装置
1日前
キヤノン株式会社
撮像装置
1日前
キヤノン株式会社
定着装置
9日前
キヤノン株式会社
記録装置
1か月前
キヤノン株式会社
撮像装置
1か月前
キヤノン株式会社
撮像装置
1か月前
キヤノン株式会社
撮像装置
1か月前
キヤノン株式会社
表示装置
1か月前
キヤノン株式会社
撮像装置
9日前
キヤノン株式会社
撮像装置
9日前
キヤノン株式会社
撮像装置
1日前
キヤノン株式会社
電子機器
17日前
キヤノン株式会社
撮像装置
1か月前
キヤノン株式会社
表示装置
1日前
キヤノン株式会社
撮像装置
22日前
キヤノン株式会社
雲台装置
22日前
キヤノン株式会社
測距装置
24日前
キヤノン株式会社
電子機器
22日前
キヤノン株式会社
現像装置
1か月前
キヤノン株式会社
定着装置
9日前
キヤノン株式会社
記録装置
22日前
キヤノン株式会社
撮像装置
23日前
キヤノン株式会社
電子機器
22日前
キヤノン株式会社
撮像装置
3日前
キヤノン株式会社
記録装置
22日前
キヤノン株式会社
表示装置
1日前
キヤノン株式会社
撮像装置
17日前
キヤノン株式会社
発光装置
1日前
キヤノン株式会社
定着装置
15日前
キヤノン株式会社
定着装置
15日前
キヤノン株式会社
記録装置
15日前
続きを見る
他の特許を見る