TOP
|
特許
|
意匠
|
商標
特許ウォッチ
Twitter
他の特許を見る
10個以上の画像は省略されています。
公開番号
2025174636
公報種別
公開特許公報(A)
公開日
2025-11-28
出願番号
2024081117
出願日
2024-05-17
発明の名称
情報処理装置およびその制御方法
出願人
キヤノン株式会社
代理人
弁理士法人大塚国際特許事務所
主分類
G05D
1/648 20240101AFI20251120BHJP(制御;調整)
要約
【課題】複数の移動体間で作業の引き継ぎを効率的に行う。
【解決手段】情報処理装置は、全体作業領域に対して分担して作業を行うことになる複数の移動体それぞれの移動速度に関する情報を取得する第1の取得手段と、複数の移動体それぞれが担当する作業領域の情報を取得する第2の取得手段と、複数の移動体それぞれの移動速度と、複数の移動体それぞれの作業領域と、に基づいて、複数の移動体それぞれの作業ルートを決定する決定手段と、を備える。決定手段は、複数の移動体の作業開始後における複数の移動体間の距離の変化または複数の移動体間の移動に要する時間の変化に基づいて、複数の移動体それぞれの作業ルートを決定する。
【選択図】図4
特許請求の範囲
【請求項1】
全体作業領域に対して分担して作業を行うことになる複数の移動体それぞれの移動速度に関する情報を取得する第1の取得手段と、
前記複数の移動体それぞれが担当する作業領域の情報を取得する第2の取得手段と、
前記複数の移動体それぞれの移動速度と、前記複数の移動体それぞれの作業領域と、に基づいて、前記複数の移動体それぞれの作業ルートを決定する決定手段と、
を備え、
前記決定手段は、前記複数の移動体の作業開始後における前記複数の移動体間の距離の変化または前記複数の移動体間の移動に要する時間の変化に基づいて、前記複数の移動体それぞれの作業ルートを決定する
ことを特徴とする情報処理装置。
続きを表示(約 1,400 文字)
【請求項2】
前記決定手段は、前記複数の移動体間の距離または前記複数の移動体間の移動に要する時間が時間経過と共に短くなるように、前記複数の移動体それぞれの作業ルートを決定する
ことを特徴とする請求項1に記載の情報処理装置。
【請求項3】
前記決定手段は、前記複数の移動体それぞれの作業終了位置間の距離または前記複数の移動体それぞれの作業終了位置間の移動に要する時間が相対的に短くなるように、前記複数の移動体それぞれの作業ルートを決定する
ことを特徴とする請求項1に記載の情報処理装置。
【請求項4】
前記決定手段は、前記複数の移動体それぞれの作業開始位置間の距離または前記複数の移動体それぞれの作業開始位置間の移動に要する時間が相対的に長くなるように、前記複数の移動体それぞれの作業ルートを決定する
ことを特徴とする請求項1に記載の情報処理装置。
【請求項5】
前記複数の移動体は、第1の移動体と第2の移動体とを含み、
前記決定手段は、前記第1の移動体の作業終了位置と前記第2の移動体が担当する作業領域との間の距離または移動に要する時間が相対的に短くなるように、前記複数の移動体それぞれの作業ルートを決定する
ことを特徴とする請求項1に記載の情報処理装置。
【請求項6】
前記複数の移動体は、第1の移動体と第2の移動体とを含み、
前記決定手段は、前記第1の移動体の作業開始位置と前記第2の移動体が担当する作業領域との間の距離または移動に要する時間が相対的に長くなるように、前記複数の移動体それぞれの作業ルートを決定する
ことを特徴とする請求項1に記載の情報処理装置。
【請求項7】
前記決定手段は、前記複数の移動体それぞれの作業開始位置が前記全体作業領域の端に位置するように、前記複数の移動体それぞれの作業ルートを決定する
ことを特徴とする請求項1に記載の情報処理装置。
【請求項8】
前記決定手段は、前記複数の移動体それぞれの作業時の移動方向が平行となるように、前記複数の移動体それぞれの作業ルートを決定する
ことを特徴とする請求項1に記載の情報処理装置。
【請求項9】
前記決定手段は、前記複数の移動体それぞれの移動速度と、前記複数の移動体それぞれの作業領域と、に基づいて、前記複数の移動体それぞれが作業完了までに要する予測作業時間を予測し、
前記決定手段は、前記複数の移動体に含まれる第1の移動体の作業終了位置と前記第1の移動体の予測作業時間との差が相対的に大きい第2の移動体が担当する作業領域との間の距離または移動に要する時間が相対的に短くなるように、前記複数の移動体それぞれの作業ルートを決定する
ことを特徴とする請求項1に記載の情報処理装置。
【請求項10】
前記第1の取得手段は、前記複数の移動体それぞれのリソース残量に関する残量情報をさらに取得し、
前記決定手段は、前記残量情報に基づいて前記複数の移動体それぞれに対して予測された予測作業時間を修正し、
前記残量情報は、バッテリーの充電残量、作業に必要な薬剤の残量、ダストボックスの空き容量、の少なくとも1つに関する情報を含む
ことを特徴とする請求項9に記載の情報処理装置。
(【請求項11】以降は省略されています)
発明の詳細な説明
【技術分野】
【0001】
本発明は、移動体の移動経路を決定する技術に関するものである。
続きを表示(約 1,600 文字)
【背景技術】
【0002】
清掃ロボットやインフラ点検ロボット、配膳や配送を行うロボットなどでは、作業対象領域を複数のロボットで分担して作業することが増えてきている。特許文献1では、作業が終わっていない領域を作業が終わった他のロボットに割り当てて作業を引き継ぐ技術が開示されている。
【先行技術文献】
【特許文献】
【0003】
特開2015-147091号公報
【発明の概要】
【発明が解決しようとする課題】
【0004】
しかしながら、特許文献1では、作業の引き継ぎを行う複数のロボット間の位置関係によっては引き継ぎが効率的に行えず、作業全体の完了に時間を要する場合がある。
【0005】
本発明は、このような問題に鑑みてなされたものであり、複数の移動体間で作業の引き継ぎを効率的に行う技術を提供することを目的としている。
【課題を解決するための手段】
【0006】
上述の問題点を解決するため、本発明に係る情報処理装置は以下の構成を備える。すなわち、情報処理装置は、
全体作業領域に対して分担して作業を行うことになる複数の移動体それぞれの移動速度に関する情報を取得する第1の取得手段と、
前記複数の移動体それぞれが担当する作業領域の情報を取得する第2の取得手段と、
前記複数の移動体それぞれの移動速度と、前記複数の移動体それぞれの作業領域と、に基づいて、前記複数の移動体それぞれの作業ルートを決定する決定手段と、
を備え、
前記決定手段は、前記複数の移動体の作業開始後における前記複数の移動体間の距離の変化または前記複数の移動体間の移動に要する時間の変化に基づいて、前記複数の移動体それぞれの作業ルートを決定する。
【発明の効果】
【0007】
本発明によれば、複数の移動体間で作業の引き継ぎを効率的に行うことのできる技術を提供することができる。
【図面の簡単な説明】
【0008】
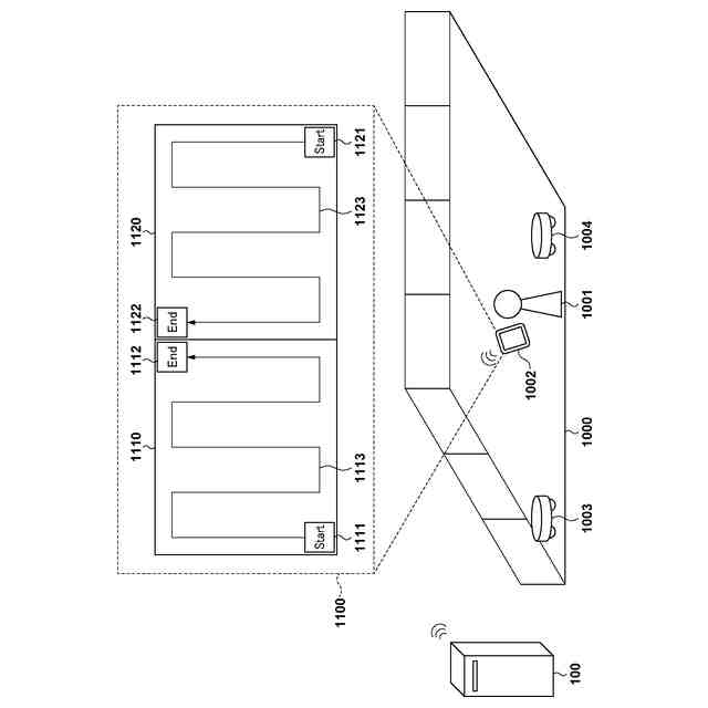
情報処理装置の利用シーンを説明する図である。
情報処理装置の機能構成を示す図である。
情報処理装置のハードウェア構成を示す図である。
情報処理装置が実行する処理のフローチャートである(第1実施形態)。
ルート決定処理の詳細フローチャートである(第1実施形態)。
ルート決定の例を示す図である(第1実施形態)。
ルート決定処理の詳細フローチャートである(第2実施形態)。
ルート決定の例を示す図である(第2実施形態)。
情報処理装置の機能構成を示す図である(第3実施形態)。
情報処理装置が実行する処理のフローチャートである(第3実施形態)。
ルート決定の例を示す図である(第3実施形態)。
情報処理装置の機能構成を示す図である(第4実施形態)。
情報処理装置が実行する処理のフローチャートである(第4実施形態)。
【発明を実施するための形態】
【0009】
以下、添付図面を参照して実施形態を詳しく説明する。なお、以下の実施形態は特許請求の範囲に係る発明を限定するものではない。実施形態には複数の特徴が記載されているが、これらの複数の特徴の全てが発明に必須のものとは限らず、また、複数の特徴は任意に組み合わせられてもよい。さらに、添付図面においては、同一若しくは同様の構成に同一の参照番号を付し、重複した説明は省略する。
【0010】
(第1実施形態)
第1実施形態では、複数の移動体(作業ロボット)の移動経路(作業ルート)を、それぞれの移動体の作業終了位置間の移動に要する時間を考慮して決定する情報処理装置について説明する。
(【0011】以降は省略されています)
この特許をJ-PlatPat(特許庁公式サイト)で参照する
関連特許
キヤノン株式会社
容器
1か月前
キヤノン株式会社
容器
1か月前
キヤノン株式会社
トナー
22日前
キヤノン株式会社
トナー
1か月前
キヤノン株式会社
記録装置
22日前
キヤノン株式会社
撮像装置
9日前
キヤノン株式会社
表示装置
1日前
キヤノン株式会社
表示装置
1日前
キヤノン株式会社
撮像装置
1日前
キヤノン株式会社
定着装置
9日前
キヤノン株式会社
雲台装置
22日前
キヤノン株式会社
撮像装置
9日前
キヤノン株式会社
撮像装置
17日前
キヤノン株式会社
定着装置
15日前
キヤノン株式会社
電子機器
22日前
キヤノン株式会社
撮像装置
22日前
キヤノン株式会社
電子機器
17日前
キヤノン株式会社
撮像装置
1日前
キヤノン株式会社
表示装置
1日前
キヤノン株式会社
撮像装置
1か月前
キヤノン株式会社
測距装置
24日前
キヤノン株式会社
撮像装置
1か月前
キヤノン株式会社
撮像装置
1か月前
キヤノン株式会社
撮像装置
1か月前
キヤノン株式会社
記録装置
1か月前
キヤノン株式会社
表示装置
1か月前
キヤノン株式会社
現像装置
1か月前
キヤノン株式会社
撮像装置
3日前
キヤノン株式会社
定着装置
15日前
キヤノン株式会社
記録装置
22日前
キヤノン株式会社
発光装置
1日前
キヤノン株式会社
撮像装置
23日前
キヤノン株式会社
定着装置
15日前
キヤノン株式会社
電子機器
22日前
キヤノン株式会社
定着装置
9日前
キヤノン株式会社
記録装置
15日前
続きを見る
他の特許を見る