TOP
|
特許
|
意匠
|
商標
特許ウォッチ
Twitter
他の特許を見る
公開番号
2025174404
公報種別
公開特許公報(A)
公開日
2025-11-28
出願番号
2024080770
出願日
2024-05-17
発明の名称
空気入りタイヤ
出願人
横浜ゴム株式会社
代理人
清流国際弁理士法人
,
個人
,
個人
主分類
B60C
19/12 20060101AFI20251120BHJP(車両一般)
要約
【課題】 良好なシール性を確保すると共に、静音性を改善することを可能にした空気入りタイヤを提供する。
【解決手段】 トレッド部1と一対のサイドウォール部2と一対のビード部3とを備えた空気入りタイヤにおいて、トレッド部1におけるタイヤ内面10にシーラント層20が形成され、シーラント層20のシーラントがシリコーン系組成物から構成されると共に、シーラント層20が多孔質構造を有する。
【選択図】 図2
特許請求の範囲
【請求項1】
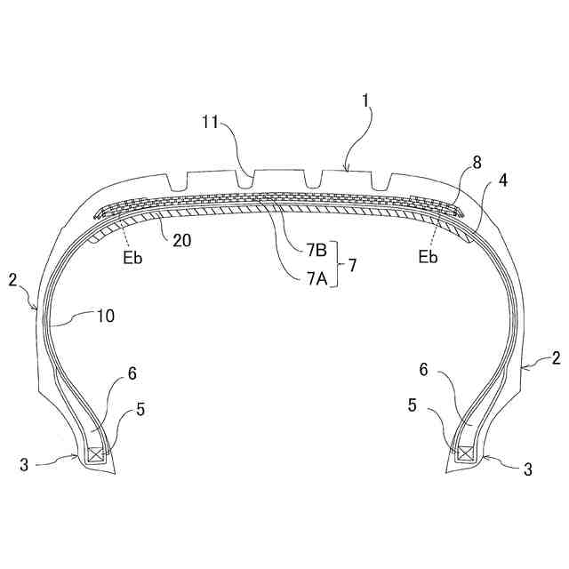
タイヤ周方向に延在して環状をなすトレッド部と、該トレッド部の両側に配置された一対のサイドウォール部と、これらサイドウォール部のタイヤ径方向内側に配置された一対のビード部とを備えた空気入りタイヤにおいて、
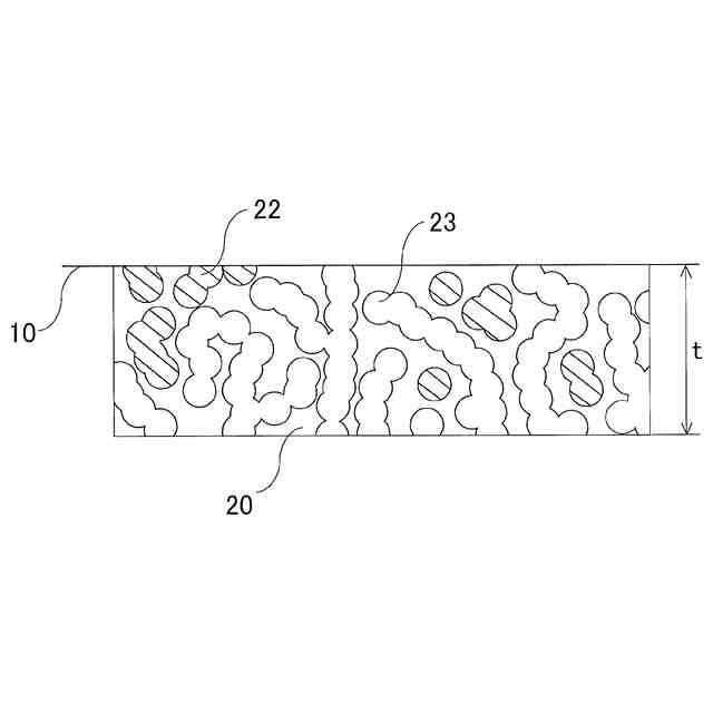
前記トレッド部におけるタイヤ内面にシーラント層が形成され、該シーラント層のシーラントがシリコーン系組成物から構成されると共に、該シーラント層が多孔質構造を有することを特徴とする空気入りタイヤ。
続きを表示(約 740 文字)
【請求項2】
前記シーラント層の多孔質構造が独立気泡と連続気泡とを含み、前記独立気泡の総体積Vc及び前記連続気泡の総体積Voに基づいてCo=Vo/(Vc+Vo)×100%から算出される連続気泡率Coが30%~80%の範囲にあることを特徴とする請求項1に記載の空気入りタイヤ。
【請求項3】
前記シーラント層の密度δが20kg/m
3
~200kg/m
3
の範囲にあることを特徴とする請求項1又は2に記載の空気入りタイヤ。
【請求項4】
前記シーラント層に含まれる気泡セル数nが20個/25mm~100個/25mmの範囲にあることを特徴とする請求項1又は2に記載の空気入りタイヤ。
【請求項5】
前記シーラント層の平均厚さtが5mm~30mmの範囲にあることを特徴とする請求項1又は2に記載の空気入りタイヤ。
【請求項6】
前記シーラントのtanδのピーク温度が-120℃~-20℃の範囲にあり、前記シーラントのtanδのピーク値が1.5以上であることを特徴とする請求項1又は2に記載の空気入りタイヤ。
【請求項7】
前記シリコーン系組成物は2液硬化型シリコーンであることを特徴とする請求項1又は2に記載の空気入りタイヤ。
【請求項8】
前記トレッド部に、タイヤ周方向に対して傾斜するベルトコードを含み、かつ層間で該ベルトコードが互いに交差するように配置された複数層のベルト層が埋設され、
前記シーラント層が前記複数層のベルト層のうち最も狭いベルト層よりも広い範囲に配置されていることを特徴とする請求項1又は2に記載の空気入りタイヤ。
発明の詳細な説明
【技術分野】
【0001】
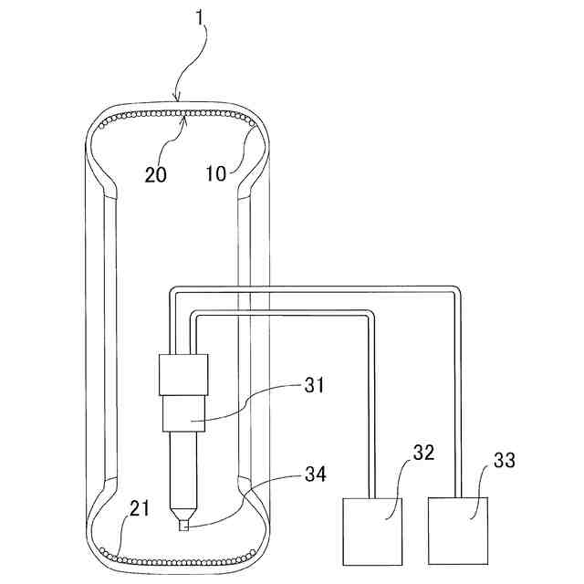
本発明は、トレッド部におけるタイヤ内面にシーラント層を備えた空気入りタイヤに関し、更に詳しくは、良好なシール性を確保すると共に、静音性を改善することを可能にした空気入りタイヤに関する。
続きを表示(約 1,600 文字)
【背景技術】
【0002】
空気入りタイヤにおいて、トレッド部におけるインナーライナー層のタイヤ径方向内側にシーラント層を設けることが提案されている。このような空気入りタイヤでは、釘等の異物がトレッド部に突き刺さった際に、その貫通孔にシーラントが流入することにより、空気圧の減少を抑制し、走行を維持することが可能になる。
【0003】
従来、シーラント層を構成するシーラントは、ブチル系ゴムを主体とするゴム組成物が一般的である(例えば、特許文献1~3参照)。ブチル系ゴムとしては、例えば、ブチルゴム(IIR)の他、臭素化ブチルゴム(Br-IIR)、塩素化ブチルゴム(Cl-IIR)等のハロゲン化ブチルゴムが挙げられる。
【0004】
一方、車両の電動化に伴い、空気入りタイヤを発生源とする騒音を低減することが求められている。このような騒音を低減する手法として、トレッド部におけるタイヤ内面にウレタンフォームからなる吸音スポンジを設置することが行われている。しかしながら、タイヤ内面に吸音スポンジを設置すると、その部位に有効なシーラント層を配置することができない。そのため、吸音スポンジによる静音効果とシーラント層によるパンクシール性とを両立することは困難である。
【先行技術文献】
【特許文献】
【0005】
特許第6583456号公報
特許第6620851号公報
特許第7319533号公報
【発明の概要】
【発明が解決しようとする課題】
【0006】
本発明の目的は、良好なシール性を確保すると共に、静音性を改善することを可能にした空気入りタイヤを提供することにある。
【課題を解決するための手段】
【0007】
上記目的を達成するための本発明の空気入りタイヤは、タイヤ周方向に延在して環状をなすトレッド部と、該トレッド部の両側に配置された一対のサイドウォール部と、これらサイドウォール部のタイヤ径方向内側に配置された一対のビード部とを備えた空気入りタイヤにおいて、
前記トレッド部におけるタイヤ内面にシーラント層が形成され、該シーラント層のシーラントがシリコーン系組成物から構成されると共に、該シーラント層が多孔質構造を有することを特徴とするものである。
【発明の効果】
【0008】
本発明では、トレッド部におけるタイヤ内面にシーラント層が形成され、該シーラント層が多孔質構造を有しているので、シーラント層が良好なシール性を発揮することに加えて、その多孔質構造に基づいて静音性の改善にも寄与する。特に、シリコーン系組成物からなるシーラントはブチル系ゴムからなるシーラントに比べて硬化時の形状安定性に優れるので、走行時においても多孔質構造を維持することができ、静音性を効果的に改善することができる。
【0009】
本発明において、シーラント層の多孔質構造が独立気泡と連続気泡とを含み、独立気泡の総体積Vc及び連続気泡の総体積Voに基づいてCo=Vo/(Vc+Vo)×100%から算出される連続気泡率Coが30%~80%の範囲にあることが好ましい。連続気泡率Coが上記範囲にあることにより、シール性と静音性とをバランス良く改善することができる。
【0010】
本発明において、シーラント層の密度δは20kg/m
3
~200kg/m
3
の範囲にあることが好ましい。シーラント層の密度δが上記範囲にあることにより、シール性と静音性とをバランス良く改善することができる。シーラント層の密度δは、JIS-K7222に準拠して測定される見掛け密度である。
(【0011】以降は省略されています)
この特許をJ-PlatPat(特許庁公式サイト)で参照する
関連特許
横浜ゴム株式会社
タイヤ
3か月前
横浜ゴム株式会社
タイヤ
2か月前
横浜ゴム株式会社
タイヤ
1か月前
横浜ゴム株式会社
タイヤ
1か月前
横浜ゴム株式会社
タイヤ
1か月前
横浜ゴム株式会社
タイヤ
1か月前
横浜ゴム株式会社
タイヤ
1か月前
横浜ゴム株式会社
タイヤ
1か月前
横浜ゴム株式会社
タイヤ
1か月前
横浜ゴム株式会社
タイヤ
1か月前
横浜ゴム株式会社
タイヤ
2か月前
横浜ゴム株式会社
タイヤ
2か月前
横浜ゴム株式会社
タイヤ
2か月前
横浜ゴム株式会社
タイヤ
2か月前
横浜ゴム株式会社
タイヤ
2か月前
横浜ゴム株式会社
タイヤ
2か月前
横浜ゴム株式会社
タイヤ
1か月前
横浜ゴム株式会社
タイヤ
2か月前
横浜ゴム株式会社
タイヤ
2か月前
横浜ゴム株式会社
タイヤ
2か月前
横浜ゴム株式会社
タイヤ
2か月前
横浜ゴム株式会社
タイヤ
2か月前
横浜ゴム株式会社
タイヤ
2か月前
横浜ゴム株式会社
タイヤ
2か月前
横浜ゴム株式会社
タイヤ
2か月前
横浜ゴム株式会社
タイヤ
3か月前
横浜ゴム株式会社
タイヤ
3か月前
横浜ゴム株式会社
タイヤ
3か月前
横浜ゴム株式会社
タイヤ
3か月前
横浜ゴム株式会社
タイヤ
3か月前
横浜ゴム株式会社
タイヤ
3か月前
横浜ゴム株式会社
タイヤ
1か月前
横浜ゴム株式会社
タイヤ
1か月前
横浜ゴム株式会社
タイヤ
1か月前
横浜ゴム株式会社
タイヤ
1か月前
横浜ゴム株式会社
タイヤ
1か月前
続きを見る
他の特許を見る