TOP
|
特許
|
意匠
|
商標
特許ウォッチ
Twitter
他の特許を見る
10個以上の画像は省略されています。
公開番号
2025174403
公報種別
公開特許公報(A)
公開日
2025-11-28
出願番号
2024080769
出願日
2024-05-17
発明の名称
空気入りタイヤ
出願人
横浜ゴム株式会社
代理人
清流国際弁理士法人
,
個人
,
個人
主分類
B60C
19/12 20060101AFI20251120BHJP(車両一般)
要約
【課題】 サイドカットによるエア漏れを抑制することを可能にした空気入りタイヤを提供する。
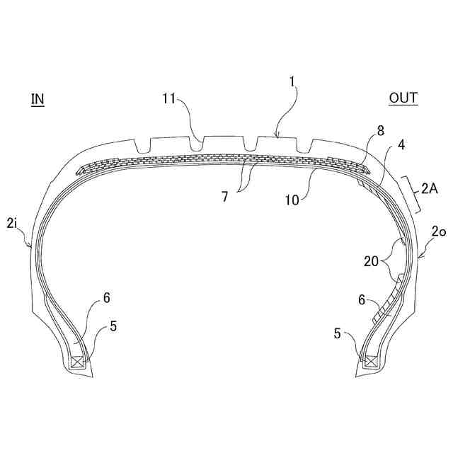
【解決手段】 タイヤ周方向に延在して環状をなすトレッド部1と、該トレッド部1の両側に配置された一対のサイド部2とを備えた空気入りタイヤにおいて、サイド部2におけるタイヤ内面10にシーラント層20が形成され、該シーラント層20のシーラントがシリコーン系組成物から構成され、シーラント層20がサイド部2の断面高さHsの20%以上の領域に配置されている。
【選択図】 図1
特許請求の範囲
【請求項1】
タイヤ周方向に延在して環状をなすトレッド部と、該トレッド部の両側に配置された一対のサイド部とを備えた空気入りタイヤにおいて、
前記サイド部におけるタイヤ内面にシーラント層が形成され、該シーラント層のシーラントがシリコーン系組成物から構成され、
前記シーラント層が前記サイド部の断面高さの20%以上の領域に配置されていることを特徴とする空気入りタイヤ。
続きを表示(約 820 文字)
【請求項2】
前記サイド部の上端位置から前記サイド部の断面高さの0%~25%となる上側領域に前記シーラント層の少なくとも一部が配置されていることを特徴とする請求項1に記載の空気入りタイヤ。
【請求項3】
前記サイド部の下端位置から前記サイド部の断面高さの25%~50%となる下側領域に前記シーラント層の少なくとも一部が配置されていることを特徴とする請求項1又は2に記載の空気入りタイヤ。
【請求項4】
前記シリコーン系組成物は2液硬化型シリコーンであることを特徴とする請求項1又は2に記載の空気入りタイヤ。
【請求項5】
前記シーラントの100℃におけるtanδが0.2~0.6の範囲にあることを特徴とする請求項1又は2に記載の空気入りタイヤ。
【請求項6】
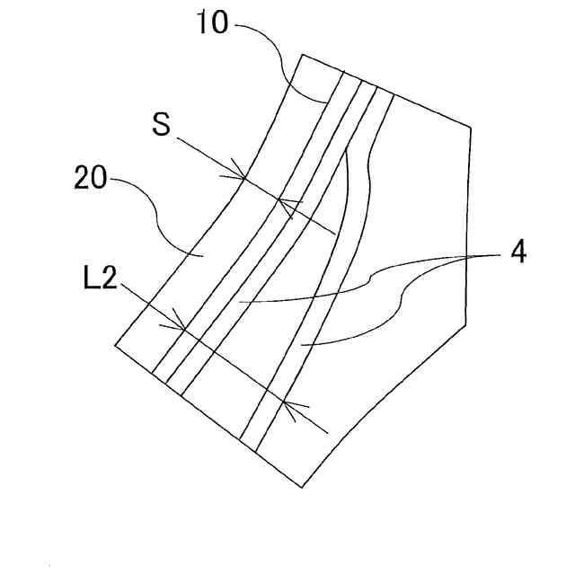
前記シーラント層の平均厚さSが2.0mm~5.0mmの範囲にあることを特徴とする請求項1又は2に記載の空気入りタイヤ。
【請求項7】
前記サイド部の上端位置から前記サイド部の断面高さの0%~25%となる上側領域におけるタイヤ内面からカーカス層の最外層までの最大距離L1と前記シーラント層の平均厚さSとの比がS/L1≧0.5の関係を満足することを特徴とする請求項1又は2に記載の空気入りタイヤ。
【請求項8】
前記サイド部の下端位置から前記サイド部の断面高さの25%~50%となる下側領域におけるタイヤ内面からカーカス層の最外層までの最大距離L2と前記シーラント層の平均厚さSとの比がS/L2≧0.2の関係を満足することを特徴とする請求項1又は2に記載の空気入りタイヤ。
【請求項9】
車両に対する装着方向が指定された空気入りタイヤにおいて、前記シーラント層が少なくとも車両外側のサイド部に配置されていることを特徴とする請求項1又は2に記載の空気入りタイヤ。
発明の詳細な説明
【技術分野】
【0001】
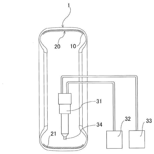
本発明は、軽量化が重視される場合に好適な空気入りタイヤに関し、更に詳しくは、サイドカットによるエア漏れを抑制することを可能にした空気入りタイヤに関する。
続きを表示(約 1,600 文字)
【背景技術】
【0002】
転がり抵抗を低減するために、空気入りタイヤの軽量化が行われている。軽量化の手法として、トレッドゴム層の厚さを薄くするだけでなくサイドゴム層を薄くすることも行われている。しかしながら、サイドゴム層を薄くすると、例えば縁石乗り越し時にサイドカットが発生し、そこからエア漏れを生じることがある。そのため、サイドカットによるエア漏れを抑制することが求められている。
【0003】
ところで、空気入りタイヤにおいて、トレッド部におけるインナーライナー層のタイヤ径方向内側にシーラント層を設けることが提案されている。このような空気入りタイヤでは、釘等の異物がトレッド部に突き刺さった際に、その貫通孔にシーラントが流入することにより、空気圧の減少を抑制し、走行を維持することが可能になる。
【0004】
従来、シーラント層を構成するシーラントは、ブチル系ゴムを主体とするゴム組成物が一般的である(例えば、特許文献1~3参照)。ブチル系ゴムとしては、例えば、ブチルゴム(IIR)の他、臭素化ブチルゴム(Br-IIR)、塩素化ブチルゴム(Cl-IIR)等のハロゲン化ブチルゴムが挙げられる。
【0005】
しかしながら、上述のようなブチル系ゴムからなるシーラント層は、走行時の遠心力により流動し易いので、それをサイド部に配置した場合、タイヤ走行に伴ってシーラント層がトレッド部側へ移動してしまい、サイドカットによるエア漏れを必ずしも抑制することができないという問題がある。
【先行技術文献】
【特許文献】
【0006】
特許第6583456号公報
特許第6620851号公報
特許第7319533号公報
【発明の概要】
【発明が解決しようとする課題】
【0007】
本発明の目的は、サイドカットによるエア漏れを抑制することを可能にした空気入りタイヤを提供することにある。
【課題を解決するための手段】
【0008】
上記目的を達成するための本発明の空気入りタイヤは、タイヤ周方向に延在して環状をなすトレッド部と、該トレッド部の両側に配置された一対のサイド部とを備えた空気入りタイヤにおいて、
前記サイド部におけるタイヤ内面にシーラント層が形成され、該シーラント層のシーラントがシリコーン系組成物から構成され、
前記シーラント層が前記サイド部の断面高さの20%以上の領域に配置されていることを特徴とするものである。
【発明の効果】
【0009】
本発明では、サイド部におけるタイヤ内面にシリコーン系組成物からなるシーラントを含むシーラント層が形成され、そのシーラント層がサイド部の断面高さの20%以上の領域に配置されているので、例えば縁石乗り越し時にサイドカットが発生した場合、その破断部分にシーラントが侵入し、サイドカットによるエア漏れを効果的に抑制することができる。また、シリコーン系組成物からなるシーラントはブチル系ゴムを主体とするゴム組成物からなるシーラントに比べて流動を生じ難いので、エア漏れ抑制効果を長期間にわたって保持することが可能である。
【0010】
本発明において、サイド部の上端位置からサイド部の断面高さの0%~25%となる上側領域にシーラント層の少なくとも一部が配置されていることが好ましい。また、サイド部の下端位置からサイド部の断面高さの25%~50%となる下側領域にシーラント層の少なくとも一部が配置されていることが好ましい。サイド部の上側領域及び下側領域は例えば縁石乗り越し時にカット傷が発生し易いので、当該箇所にシーラント層の少なくとも一部が配置されることにより、最小限のシーラントで効率的にエア漏れを抑制することができる。
(【0011】以降は省略されています)
この特許をJ-PlatPat(特許庁公式サイト)で参照する
関連特許
横浜ゴム株式会社
タイヤ
3か月前
横浜ゴム株式会社
タイヤ
2か月前
横浜ゴム株式会社
タイヤ
1か月前
横浜ゴム株式会社
タイヤ
1か月前
横浜ゴム株式会社
タイヤ
1か月前
横浜ゴム株式会社
タイヤ
1か月前
横浜ゴム株式会社
タイヤ
1か月前
横浜ゴム株式会社
タイヤ
1か月前
横浜ゴム株式会社
タイヤ
1か月前
横浜ゴム株式会社
タイヤ
1か月前
横浜ゴム株式会社
タイヤ
2か月前
横浜ゴム株式会社
タイヤ
2か月前
横浜ゴム株式会社
タイヤ
2か月前
横浜ゴム株式会社
タイヤ
2か月前
横浜ゴム株式会社
タイヤ
2か月前
横浜ゴム株式会社
タイヤ
2か月前
横浜ゴム株式会社
タイヤ
1か月前
横浜ゴム株式会社
タイヤ
2か月前
横浜ゴム株式会社
タイヤ
2か月前
横浜ゴム株式会社
タイヤ
2か月前
横浜ゴム株式会社
タイヤ
2か月前
横浜ゴム株式会社
タイヤ
2か月前
横浜ゴム株式会社
タイヤ
2か月前
横浜ゴム株式会社
タイヤ
2か月前
横浜ゴム株式会社
タイヤ
2か月前
横浜ゴム株式会社
タイヤ
3か月前
横浜ゴム株式会社
タイヤ
3か月前
横浜ゴム株式会社
タイヤ
3か月前
横浜ゴム株式会社
タイヤ
3か月前
横浜ゴム株式会社
タイヤ
3か月前
横浜ゴム株式会社
タイヤ
3か月前
横浜ゴム株式会社
タイヤ
1か月前
横浜ゴム株式会社
タイヤ
1か月前
横浜ゴム株式会社
タイヤ
1か月前
横浜ゴム株式会社
タイヤ
1か月前
横浜ゴム株式会社
タイヤ
1か月前
続きを見る
他の特許を見る